Clutch pedal problems

Tiny
JESS22
  • MEMBER
  • 2005 CHEVROLET CAVALIER
  • 2.2L
  • 2WD
  • MANUAL
  • 312,000 MILES
Clutch went soft about a month ago. I bled it and it worked for about a month. Then two days ago I noticed it was soft got it home and bled it again. The pedal will only come back if the cap is off the reservoir. As soon as you put the cap back on and drive the clutch will go all the way to the floor again. When you bleed it there is a lot of air in the system and the fluid comes out "whipped" or "frothy". What could this be?
Thursday, February 18th, 2021 AT 1:58 PM

1 Reply

Tiny
JACOBANDNICKOLAS
  • MECHANIC
  • 110,194 POSTS
Hi,

It sounds like the clutch master cylinder is bad. That is where I would start. The confusing thing is the air getting into the system. Make sure there are no leaks or have a cut or broken hose.

Here are the directions for replacing the master cylinder. The attached pics correlate with the directions.

____________________________

2005 Chevrolet Cavalier L4-2.2L VIN F
Procedures
Vehicle Transmission and Drivetrain Clutch Clutch Hydraulic System Clutch Master Cylinder Service and Repair Procedures
PROCEDURES
Clutch Master Cylinder Replacement

Removal Procedure
1. Remove the clutch master cylinder pushrod from the clutch pedal.

Pic 1

2. Remove the master cylinder retaining nuts at the front of the dash.

Pic 2

3. Remove the remote reservoir.

Pic 3

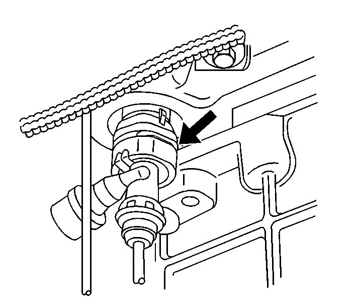
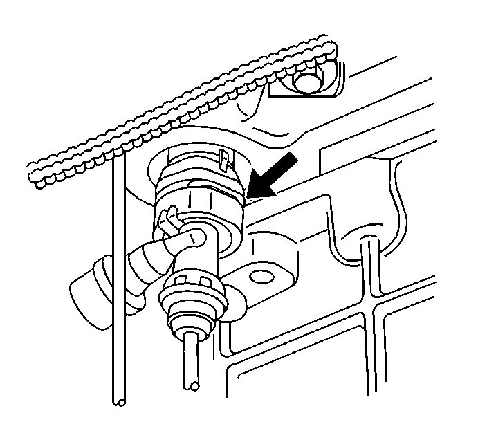
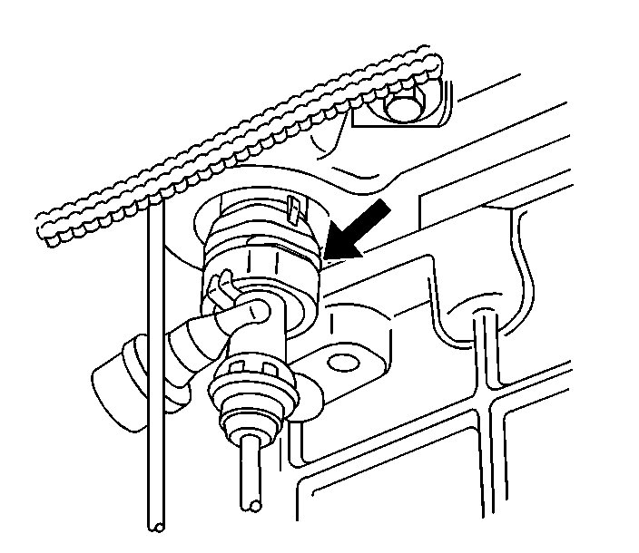
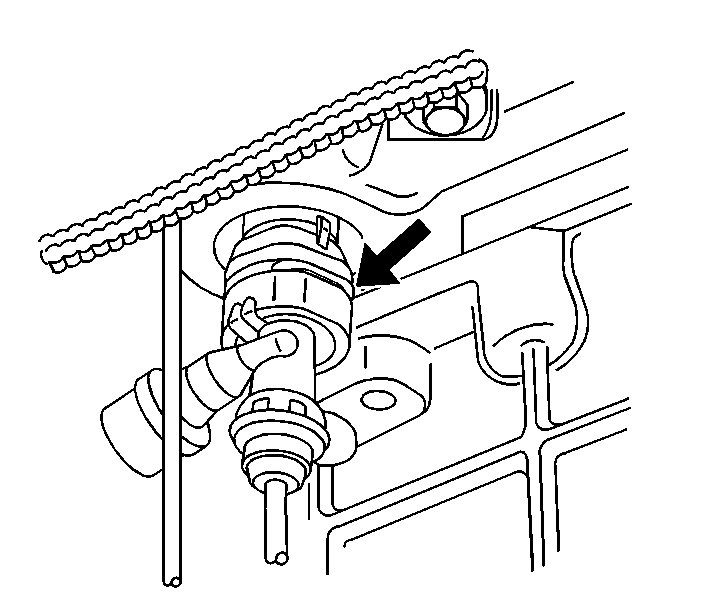
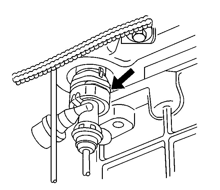
4. Disconnect the clutch actuator cylinder line.

Pic 4

5. Remove the clutch master cylinder assembly from the clutch pedal assembly.

Installation Procedure
1. Install the clutch master cylinder assembly to the clutch pedal assembly.

Pic 5

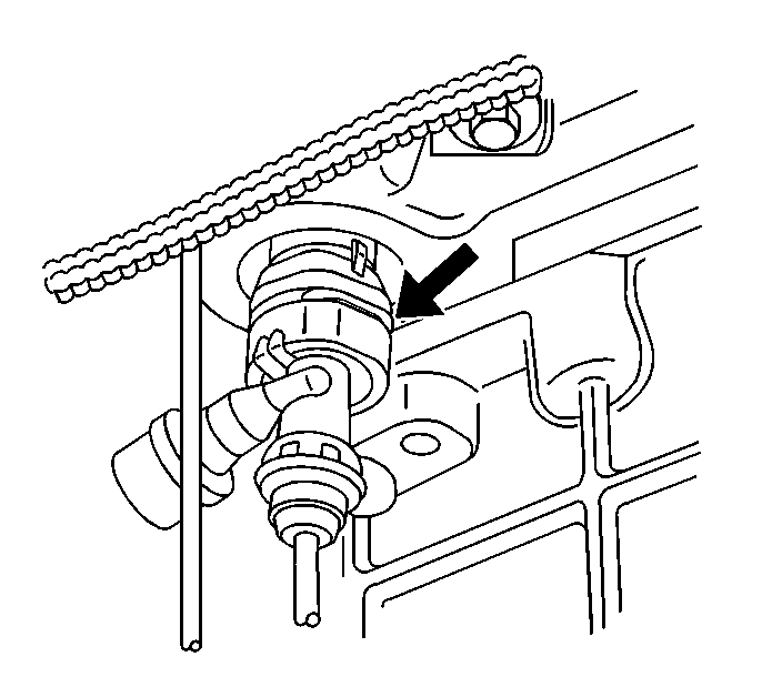
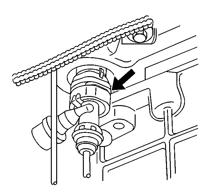
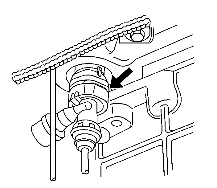
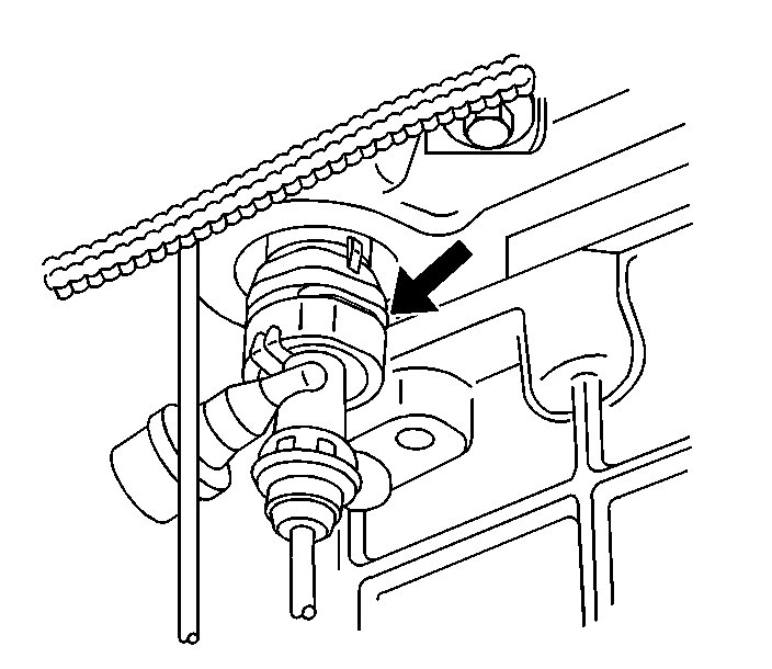
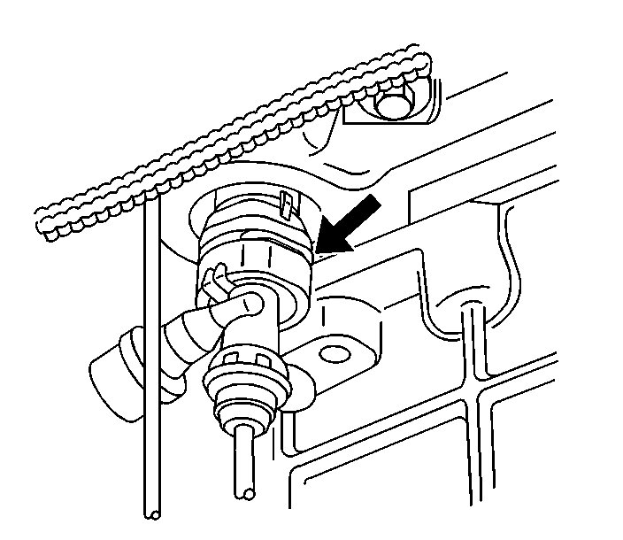
2. Connect the clutch actuator cylinder line.

Pic 6

3. Install the remote reservoir.

Pic 7

Notice: Refer to Fastener Notice in Service Precautions.

4. Install the master cylinder retaining nuts at the front of the dash.
Tighten the nuts evenly to 21 Nm (15 ft. Lbs.).
5. Install the pushrod to the clutch pedal.
6. Bleed the hydraulic system.

________________________________________

I hope this helps. Let me know if you have other questions.

Take care and God Bless,

Joe
Was this
answer
helpful?
Yes
No
Thursday, February 18th, 2021 AT 7:38 PM

Please login or register to post a reply.