WIPER MOTOR REPLACEMENT
TOOLS REQUIRED

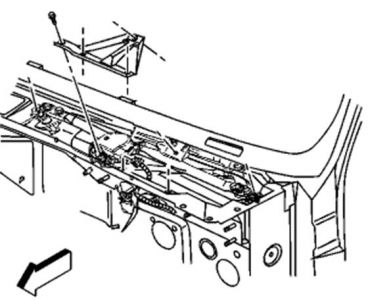
REMOVAL PROCEDURE

1.Remove the wiper arms.
2.Remove the air inlet grille panel.
3.Remove the 4 bolts and the reinforcement panel.

4.Disconnect the electrical connector from the wiper motor.

5.Remove the 2 bolts from the wiper transmission assembly.
6.Remove the wiper transmission assembly from the vehicle.

7.Remove the drive link from the wiper motor crank arm with the J 39232.

8.Remove the 2 bolts retaining the wiper motor.
9.Remove the wiper motor from the wiper transmission assembly.
INSTALLATION PROCEDURE
1.Install the wiper motor onto the wiper transmission assembly with the 2 bolts. NOTE: Refer to Fastener Notice in Service Precautions. Tighten the 2 bolts to 8 N.m (71 lb in).

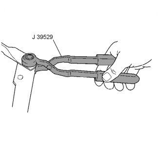
2.Install the drive link onto the wiper motor crank arm with the J 39529.
3.Install the wiper transmission assembly on the vehicle with the 2 bolts. Tighten the 2 bolts to 9 N.m (80 lb in).
4.Connect the electrical connector to the wiper motor.
5.Install the reinforcement panel with the 4 bolts. Tighten the 4 bolts to 9 N.m (80 lb in).
6.Install the air inlet grille panel.
7.Install the wiper arms.
8.Operate the wipers and check for proper operation.
Tuesday, March 9th, 2010 AT 7:29 PM