Bad ignition switch.

2002 CHEVROLET CAVALIER
Avatar
JAIME MARCANO
  • MEMBER
  • 1 POST
hi, my ignition switch needs to be replace, I took the cover off but it looks complicated, please help.
Jan 17, 2010 at 12:55 PM
Advertisement
Avatar
BMRFIXIT
  • CAR REPAIR CONTRIBUTOR
  • 19,053 POSTS
Hello,

You must remove the steering wheel. Here are diagrams and instructions below.

Disconnect negative battery cable.
Disable air bag system.
Remove steering column trim covers.
Remove tilt lever.
Remove 4 screws from lower trim cover.
Remove upper trim cover.
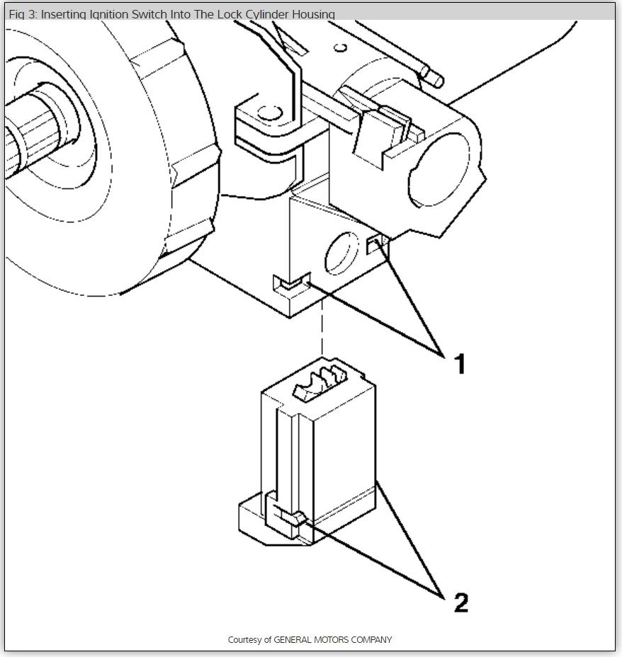
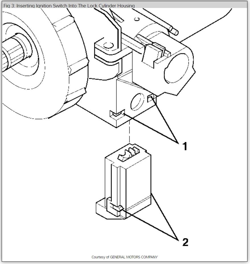
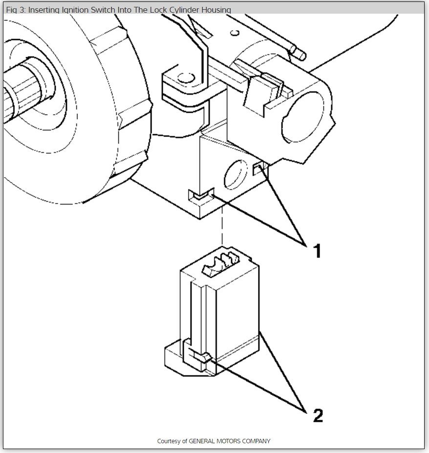
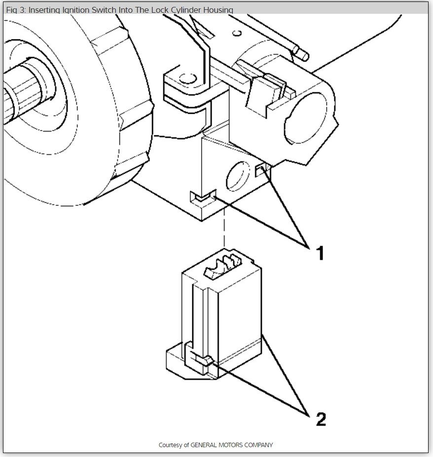
Turn ignition lock cylinder to RUN position.
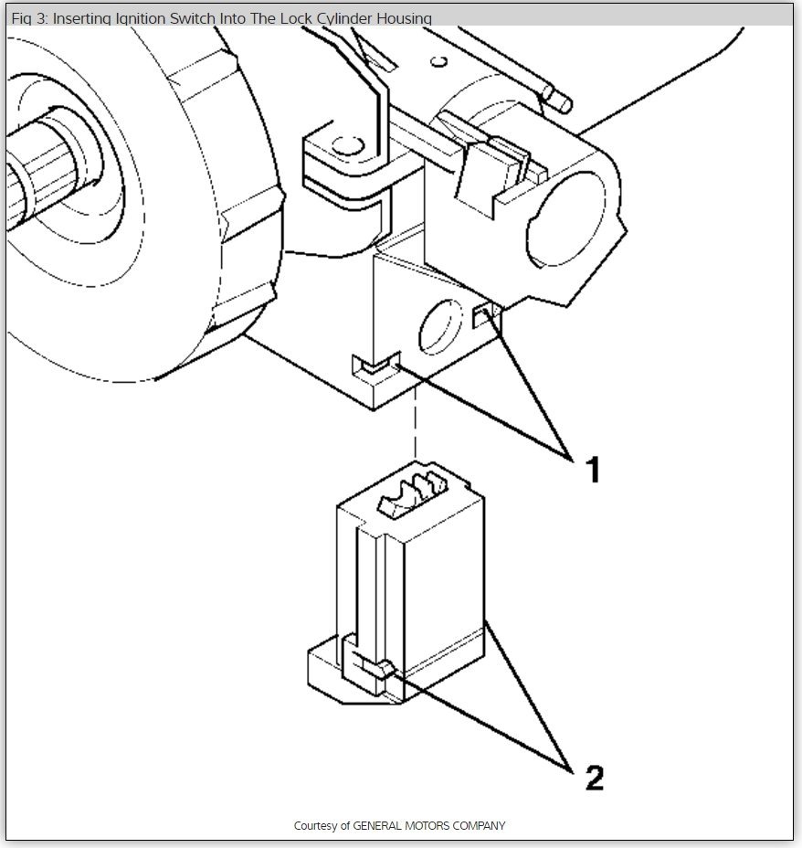
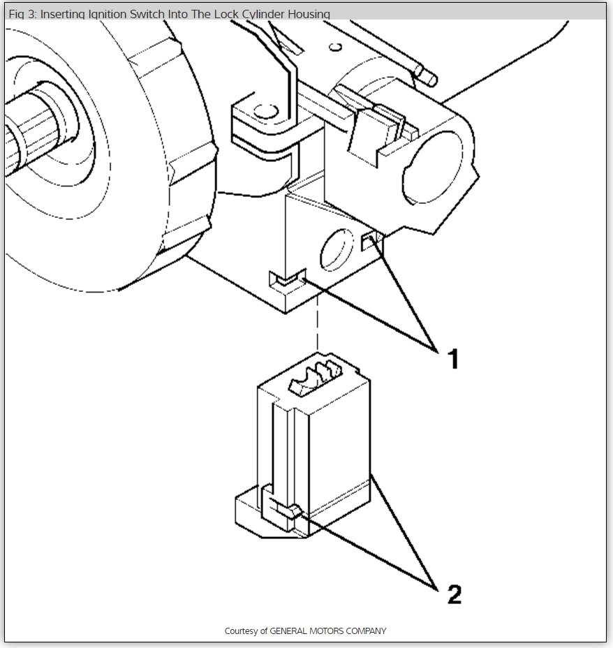
Push locking button (2) on rear of housing assembly (1).
Remove ignition lock cylinder by pulling outward from steering column.
Disconnect harness connector from ignition lock cylinder.
The ignition switch diagrams at at the end.

Check out the diagrams (Below) Please let us know if you need anything else to get the problem fixed.
Mar 22, 2021 at 5:52 PM
Advertisement
Repair Safety Notice: This information is for general instructional purposes only. Vehicle repair can be dangerous. Verify all information, follow manufacturer service procedures, use proper tools and safety equipment, and consult a qualified repair shop when needed.