1998 Chevy Camaro 6 cyl Two Wheel Drive Manual
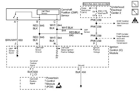
the car runs fine when it is cool and when engine warms up it dies out. It is giving me a code of P0341 camshaft sensor. I have replaced the sensor and same thing. Also had coils tested and ignition control module tested at Autozone. They did find 1 coil bad and I replaced it. Ignition module tested good. Still the same results. I am wondering if it tested good because it was cool at the time?
Tuesday, January 6th, 2009 AT 3:33 PM




