Monday, April 7th, 2008 AT 6:56 AM
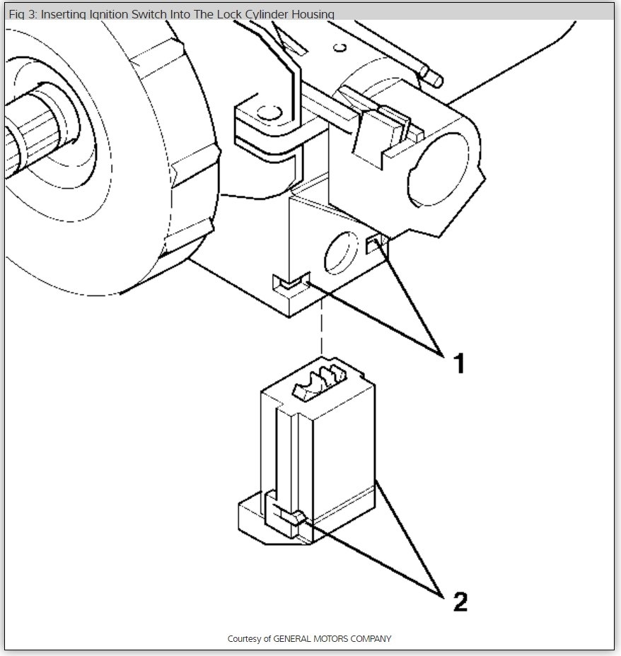
If it is the ignition switch, how easy is that to replace by a novice level? I do oil filters, starters, plugs etc when I can get to them.










