Changing the spark plugs

Tiny
PAUL TRAFF
  • MEMBER
  • 2004 MERCURY SABLE
  • 3.0L
  • 6 CYL
  • 2WD
  • AUTOMATIC
  • 130,000 MILES
Misfire on cylinders three and four.
Thursday, March 1st, 2018 AT 2:15 AM

2 Replies

Tiny
HARRY P
  • MECHANIC
  • 2,296 POSTS
So what do you want to know? If the plugs have not been changed, then it is probably a good idea to start there. You might also check the spark strength coming out of the coils too and compare them to the other cylinders. When you do replace the plugs and wires, do make sure to use whatever Ford calls for (Motorcraft brand), and not the cheap ones or splitfires or whatever else that the parts shops says are okay. Those ones usually fail in short order. Start there and let us know what you find.
Was this
answer
helpful?
Yes
No
+1
Thursday, March 1st, 2018 AT 3:31 AM
Tiny
STEVE W.
  • MECHANIC
  • 15,668 POSTS
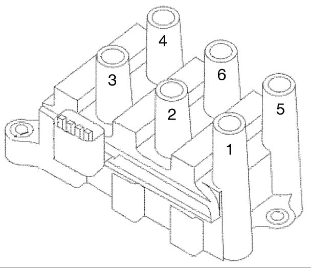
Depends on which 3.0 you have there were three versions available that year. The cast iron Vulcan 3.0 that has a coil pack on the front valve cover and plug wires and plugs on the sides of the engine.
Or the Duratec 3.0 aluminum DOHC engine that uses almost the same type of system with a coil pack and wires. The difference is the coil pack is tucked under the upper intake.

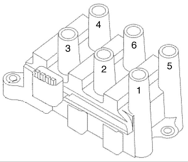
In the case of the coil pack equipped engines 3 and 4 share a coil between them. As such I would suspect the coil pack before the plugs or wires. But I would replace the wires and the coil pack as a bad wire can cause coil failure.
Was this
answer
helpful?
Yes
No
+1
Thursday, March 1st, 2018 AT 3:57 AM

Please login or register to post a reply.