Sunday, June 25th, 2023 AT 2:43 PM
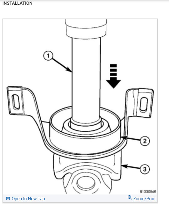
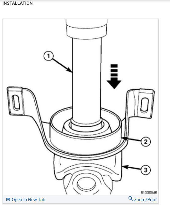
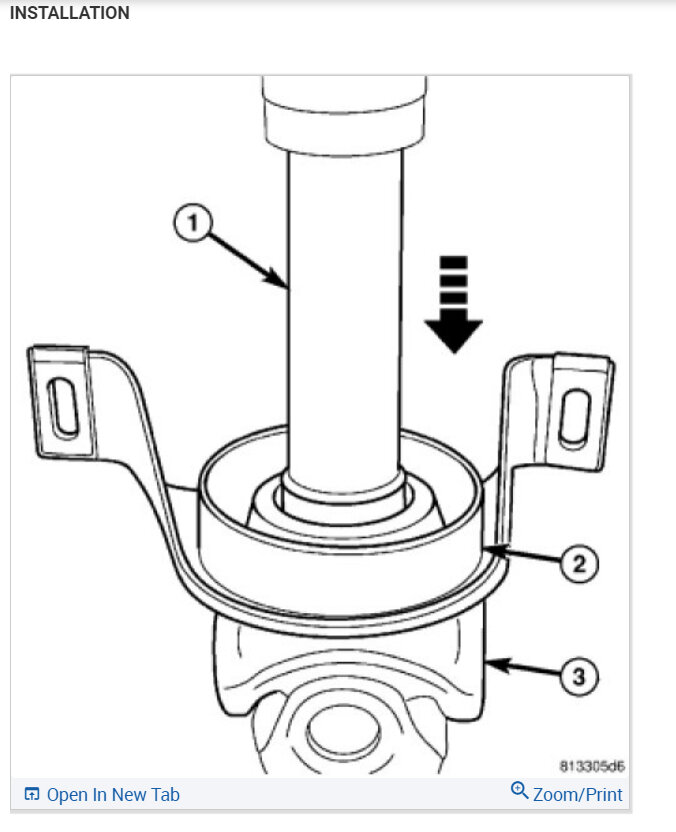
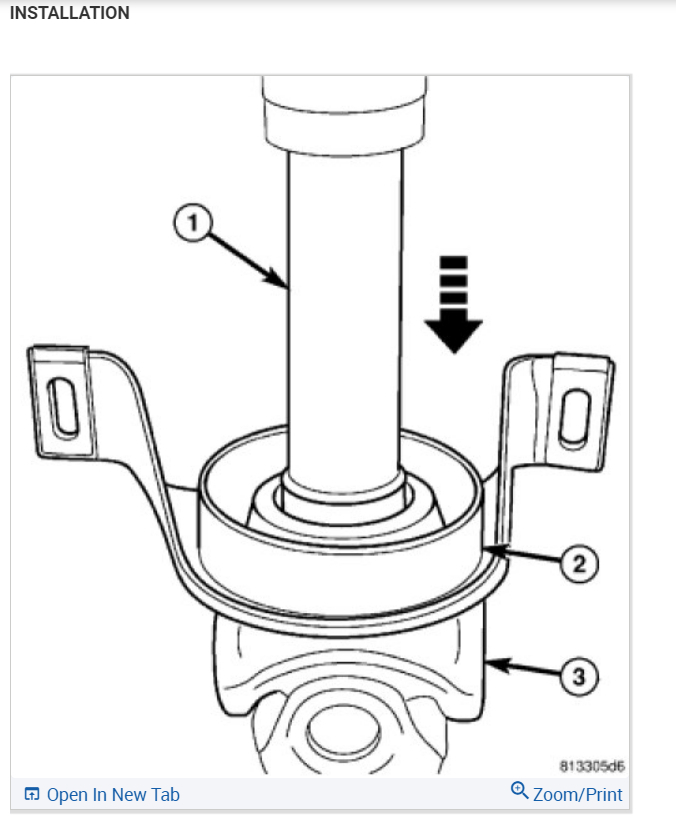
I found that my center carrier bearing needs to be replaced. We've already gotten the driveline off and have come to the issue of not knowing how or where the driveline separates in order to get the carrier barring on. I'm stuck and now that a couple of other hands have gotten involved, I need to replace the whole driveline. But I'd like to know what to do when I get to this part.










