Ceiling of car - installing item

Tiny
NOACH SCHARF
  • MEMBER
  • 2003 HONDA ODYSSEY
  • 110,000 MILES
I would like to install a custom made item in my vehicle (minivan). I will need to drill into the ceiling/ roof for this installation. How can I find out where the wires and duct tubing is located in my vehicle? ( So that I do not hit them )

Do most vehicles have ducts and wiring running along the ceiling of the vehicles in a similar way?
Thursday, June 30th, 2016 AT 12:18 PM

1 Reply

Tiny
HMAC300
  • MECHANIC
  • 48,601 POSTS
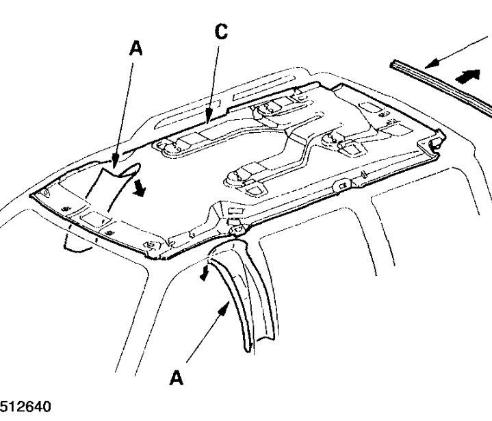
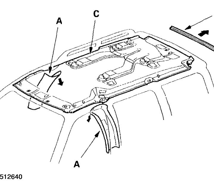
Ducts and wiring are your least problem. Air bags are the biggest one if you have any. We do not have diagrams of wiring or duct work on these. The picture I am sending is all we have of that area and it does not show wiring or air bags.
Was this
answer
helpful?
Yes
No
Thursday, June 30th, 2016 AT 3:50 PM

Please login or register to post a reply.