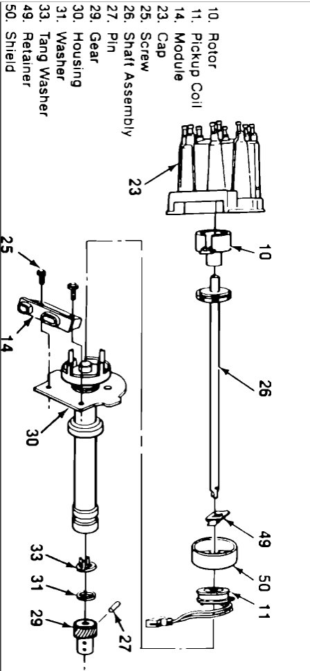
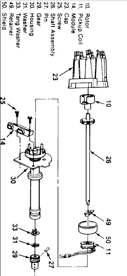
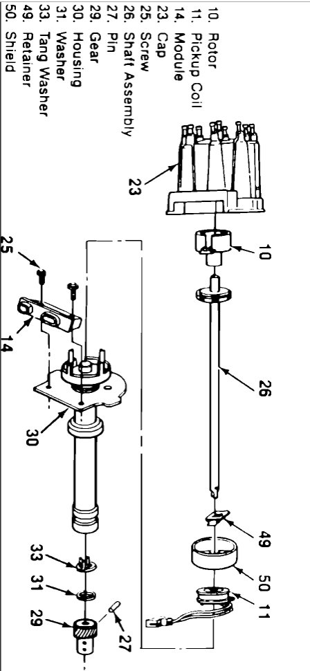
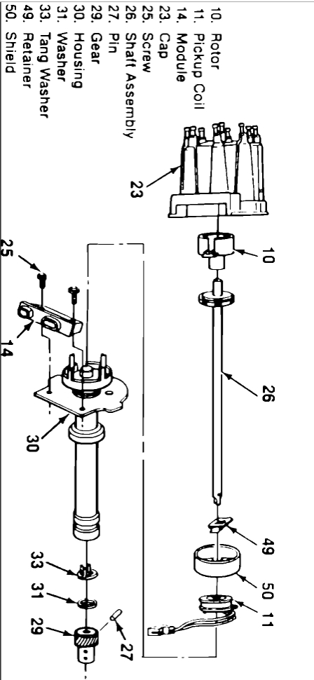
I don't believe the engine is getting any spark. I have replaced all of the spark plugs, but I neglected to gap them to spec, so I have to go back and do that. However, I have tested for spark with both a tester and by setting an old plug on the side of the engine and cranking it up to no avail.
Any suggestions would be helpful, I'd really like to get this truck back on the road. I'll attach some pictures and videos of the work I've done and my problem. Thanks!
Thursday, June 30th, 2022 AT 7:39 PM








