Car has no electrical power after ignition switch change?

Tiny
ZACHAUTO96
  • MEMBER
  • 2012 VOLKSWAGEN PASSAT
  • 5 CYL
  • 4WD
  • AUTOMATIC
  • 110,000 MILES
I changed the ignition switch and got no power to the vehicle. No crank, no start, no lights on dash.
Sunday, June 25th, 2023 AT 5:30 PM

1 Reply

Tiny
KEN L
  • MASTER CERTIFIED MECHANIC
  • 55,488 POSTS
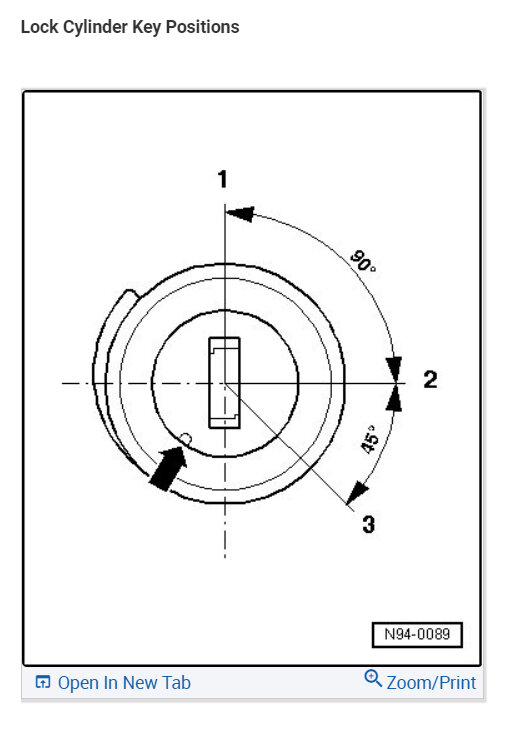
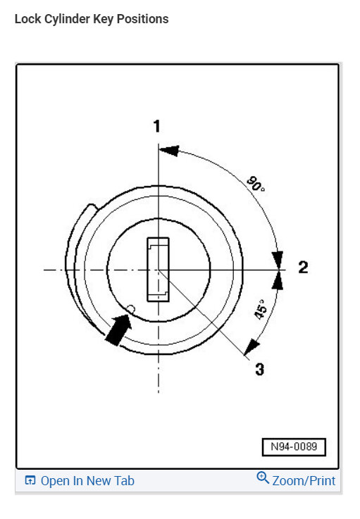
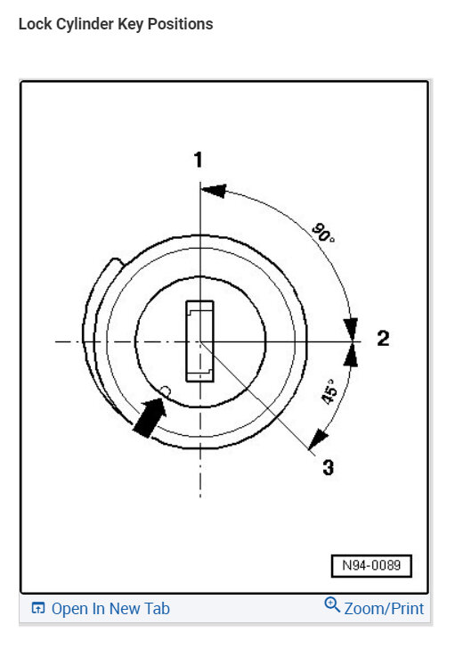
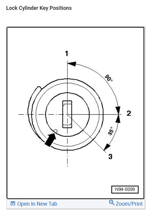
I would double check the electrical connector to make sure it is plugged in correctly. Also did the car have power before the repair? There seems to be no special instructions on the job, I have included them in the images below. Let us know what happens and please upload pictures or videos of the problem so we can see what's going on.
Was this
answer
helpful?
Yes
No
Monday, June 26th, 2023 AT 2:03 PM

Please login or register to post a reply.