Friday, May 1st, 2020 AT 10:28 AM
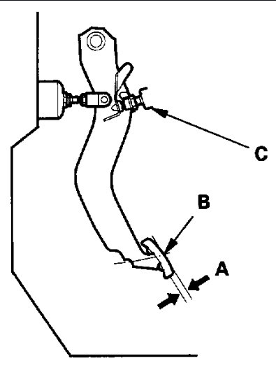
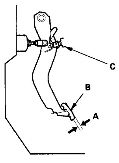
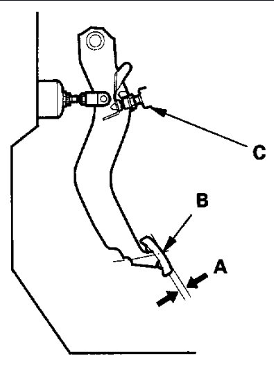
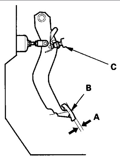
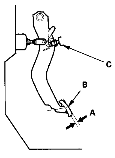
My car brake lights don’t go off. The car can be in parked or the car can be completely off, and the brake lights are on. I have to pop the hood and disconnect the battery when I get out of my car.









