Engine vacuum hose diagram

Tiny
BROUGHER
  • MEMBER
  • 1996 CADILLAC DEVILLE
Where can I find a vacuum hose diagram
Monday, July 19th, 2010 AT 6:22 PM

3 Replies

Tiny
SATURNTECH9
  • MECHANIC
  • 30,869 POSTS


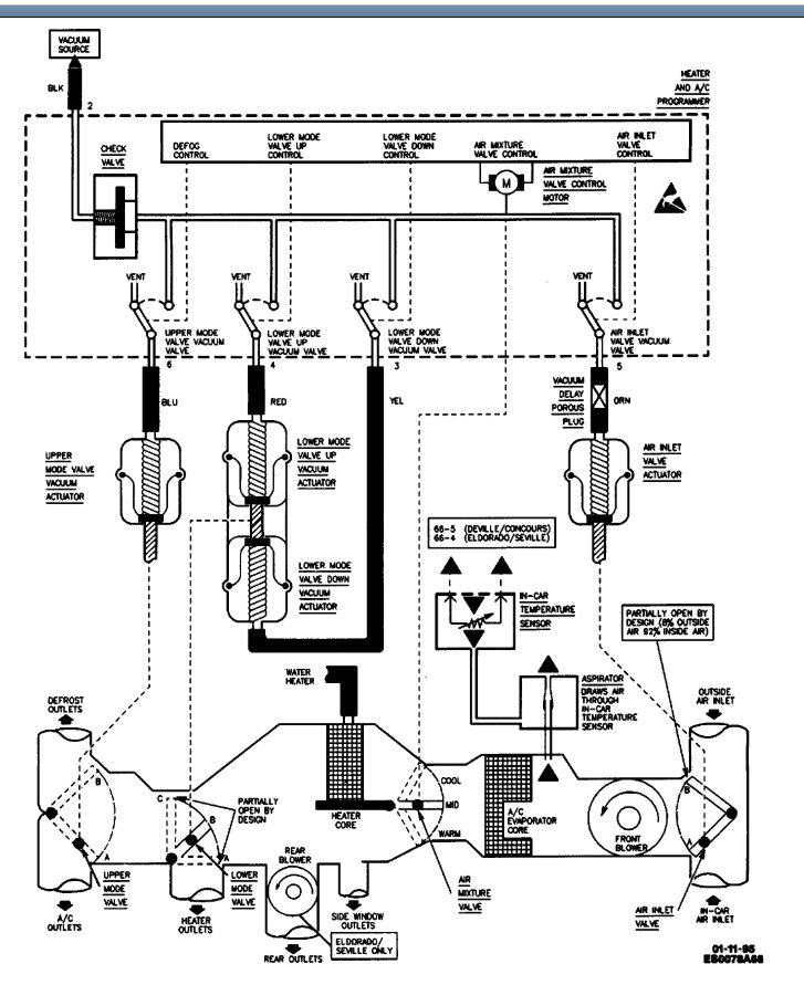
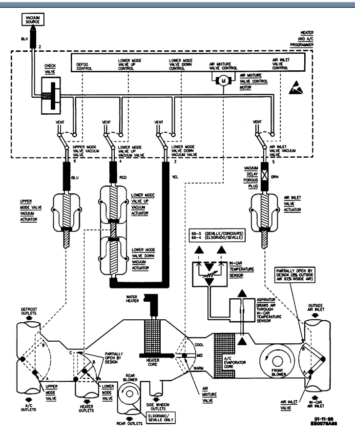
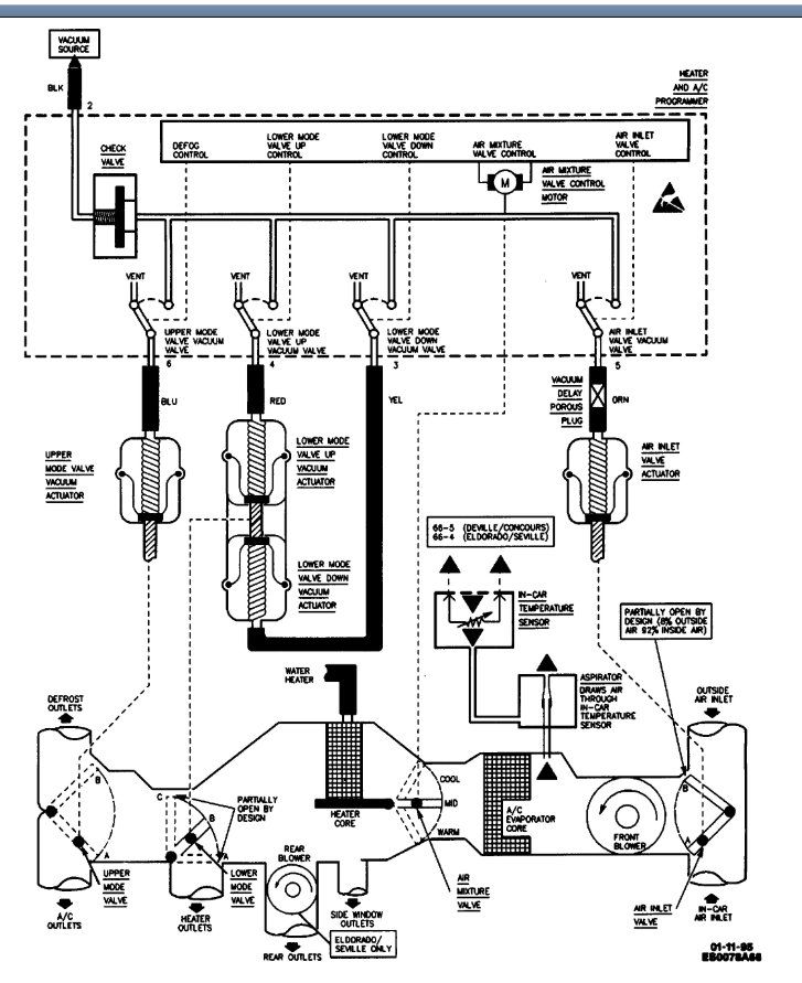
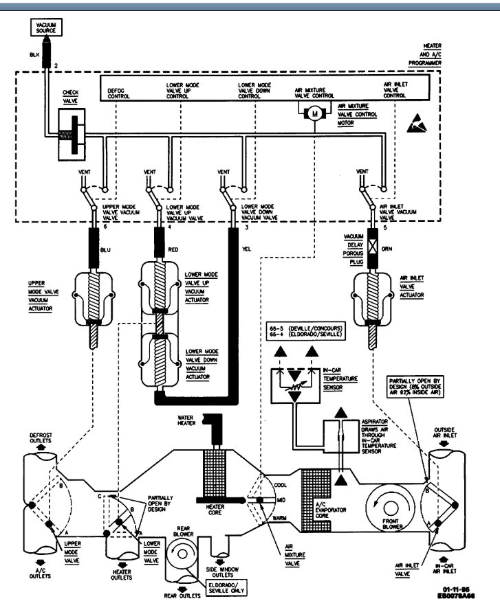
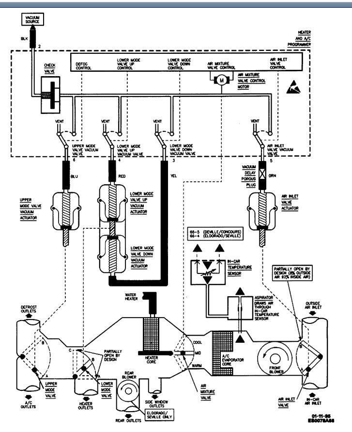
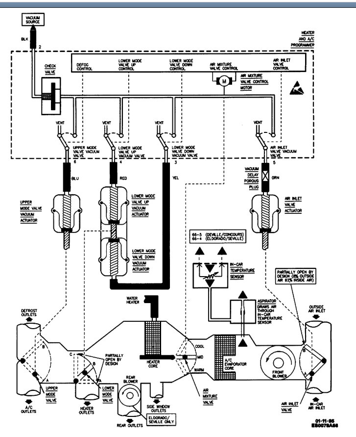
https://www.2carpros.com/forum/automotive_pictures/416332_1996_cadillac_deville_vacuum_diagram_1.jpg


There you go that's for the plain deville not the deville concours.
Was this
answer
helpful?
Yes
No
Monday, July 19th, 2010 AT 6:35 PM
Tiny
JAMES DAVID
  • MEMBER
  • 1 POST
  • 1995 CADILLAC DEVILLE
  • 4.9L
  • V8
  • 2WD
  • AUTOMATIC
  • 87,169 MILES
I just recently replaced the EGR valve on my car because it was stalling out idling rough and a bunch of other things. Now I have a few vacuum lines coming off of the EGR that were so old and dried out they broke. So I'm looking for a diagram to replace them and or can I use a different vacuum hose like a fuel line but smaller? It's also rattling but I'm guessing that's due to the vacuum lines being broken. Correct?
Was this
answer
helpful?
Yes
No
Wednesday, November 25th, 2020 AT 5:49 PM (Merged)
Tiny
KASEKENNY
  • MECHANIC
  • 18,907 POSTS
Looks like the EGR only has one vacuum line. If you have multiple lines then I suspect someone may have tapped into the vacuum source.

If this doesn't making sense then I would suggest taking few pictures so we can take a look at them.
Was this
answer
helpful?
Yes
No
+2
Wednesday, November 25th, 2020 AT 5:49 PM (Merged)

Please login or register to post a reply.