Cabin Air Flow

Tiny
PEU78
  • MEMBER
  • 2003 HONDA ODYSSEY
  • 120,000 MILES
Does the cabin air filter, filter the air flow whether the vehicle's air flow is on recirc or bringing in air from outside of the vehicle
Tuesday, August 21st, 2018 AT 9:30 PM

1 Reply

Tiny
JACOBANDNICKOLAS
  • MECHANIC
  • 110,192 POSTS
Hi and thanks for using 2CarPros. Com.

Yes, it is designed to keep dust from entering the cabin regardless of fresh air mode door.

Here are the directions for replacing it in case you need them:
_________________________________________

PROCEDURES
Dust and Pollen Filter Replacement

The dust and pollen filter should be replaced every 30,000 miles (48,000 km) or 24 months whichever comes first Replace the filter more often if the airflow is less than usual

1. Remove the glove box.
2. Cut the plastic cross brace in the glove box opening with diagonal cutters in the area shown, and discard it.
3. Remove the bolts, the screws and the glove box frame.
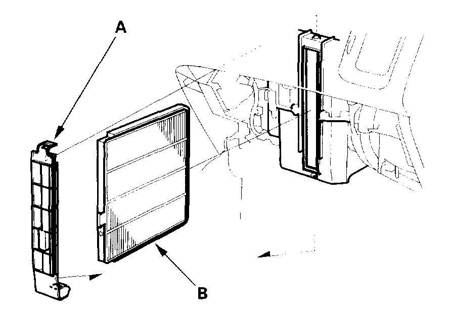
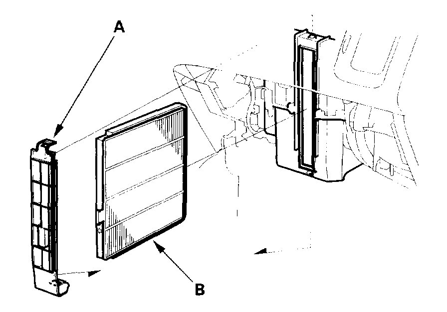
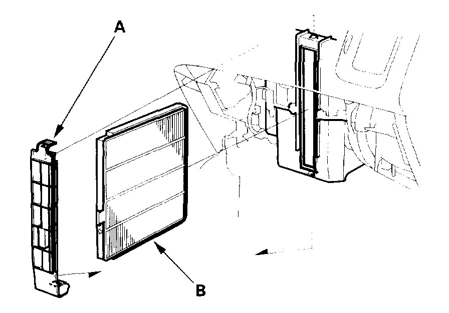
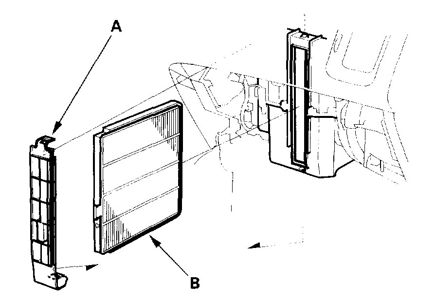
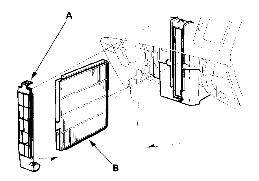
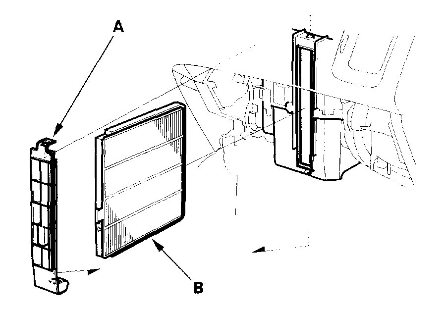
4. Remove the filter lid (A) from the evaporator, then pull out the dust and pollen filter (B).
5. Install the filter in the reverse order of removal. Make sure that there is no air leaking out of the evaporator.
6. Install the glove box frame and glove box in the reverse order of removal.

____________________________________

The following pictures correlate with the aforementioned directions.

Let me know if this helps or if you have other questions.

Take care,
Joe
Was this
answer
helpful?
Yes
No
Wednesday, August 22nd, 2018 AT 5:21 PM

Please login or register to post a reply.