Burnt up EVAP part

Tiny
HARRY P
  • MECHANIC
  • 1999 BUICK CENTURY
  • 3.1L
  • V6
  • 2WD
  • AUTOMATIC
  • 155,000 MILES
So long story short I smelled plastic burning. Then smoke came out front the hood. Car still running. I shut it off. Hopped out. Grabbed a gallon of drinking water. Raised the hood and saw my ignition coils (aftermarket made in China crap that came with the car) were on fire. I doused them. But the fire burnt up the transmission dipstick, the EVAP part there, a few vacuum lines, and the MAP sensor.

Funny thing is, the car started right up and drove after that, until the singed wires started touching.

Anyways, I need some diagrams of what all goes back there. Like where the house from the PCV ultimately goes to after the throttle body, what that EVAP part is and what I need to get it fixed and reconnected. So on.

Any help appreciated.
Monday, January 24th, 2022 AT 5:49 PM

3 Replies

Tiny
JACOBANDNICKOLAS
  • MECHANIC
  • 110,192 POSTS
Hi,

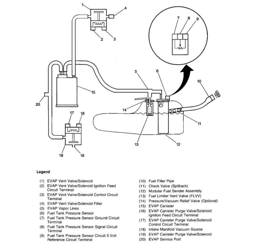
That doesn't sound good at all. I attached two pics below for the vacuum routing under the hood, but I don't know what (EVAP) component you are referring to.

Take a look at the pics and let me know if it helps or if you have other questions. Also, the PCV hose will go from the intake to the valve cover. See pic 3 (pic 2 shows location at intake.

Take care,

Joe
Was this
answer
helpful?
Yes
No
Monday, January 24th, 2022 AT 8:38 PM
Tiny
HARRY P
  • MECHANIC
  • 2,296 POSTS
I see where the PCV house comes out of the front valve cover, goes to the throttle body, and then a few inches later is burnt. I've tried poking around and can't find anywhere for it to plug into. I think I see a trip to u pull it in my near future. Attached below is the EVAP component. Purge valve, I guess. Maybe. The other end (had a hose going somewhere, but it was crispy too. I plugged it with a door hinge pin and duct tape, because duct tape fixes everything.

A month later the car runs great. Better than ever, honestly. Turns out that aftermarket crap was causing the random backfiring and stalling that I was chasing for a while, which I think was what melted the inside of my cat. Gutted the cat, got a junkyard ignition control module and coils on it, and now she flies. Except with some MAP/MAF and IAT codes.

Funny thing is there's one exhaust leak remaining. Created by a big backfire popping one of the welded joints. Now people tell m1e it's the best sounding Buick Century ever. I've had people ask me what kind of exhaust I'm running. They're dismayed when I tell them gutted cat and leak two inches before the cat.
Was this
answer
helpful?
Yes
No
Wednesday, January 26th, 2022 AT 8:35 PM
Tiny
JACOBANDNICKOLAS
  • MECHANIC
  • 110,192 POSTS
Hi,

Thanks for the update. I'm glad to hear it's working better. I attached another pic below of the PCV routing and highlighted each of the places it goes to. See if that helps.

Next, if you have an exhaust leak and no cat, that could be related to the codes you still have. Also, when you say the hose was burnt, could you take a pic and upload it for me to see?

Let me know.

Joe

See pic below.
Was this
answer
helpful?
Yes
No
Thursday, January 27th, 2022 AT 5:33 PM

Please login or register to post a reply.