1997 Buick LeSabre V6-3.8L VIN K
Starter Replacement:
Starter Motor Mounting

REMOVE OR DISCONNECT
1.Negative battery cable.
2.Raise vehicle.
3.Splash shield.
4.Bolts to flywheel inspection cover.
5.Flywheel inspection cover.
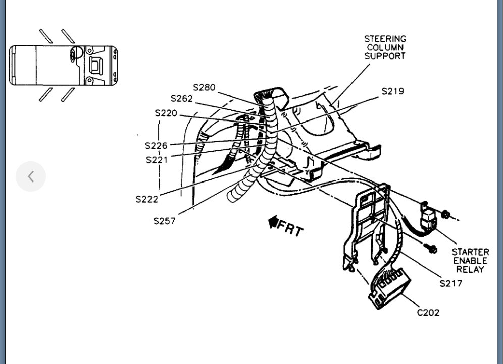
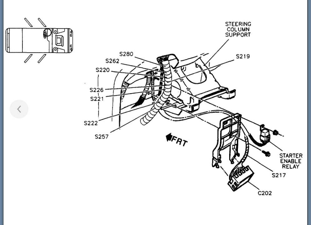
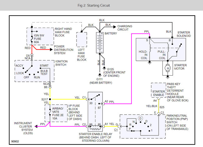
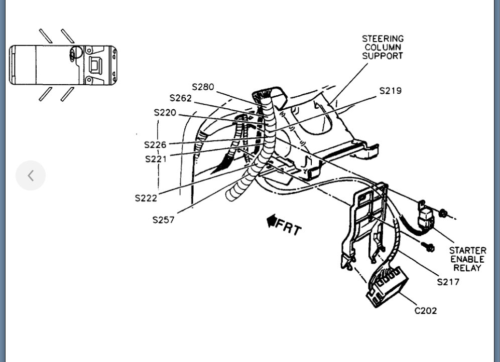
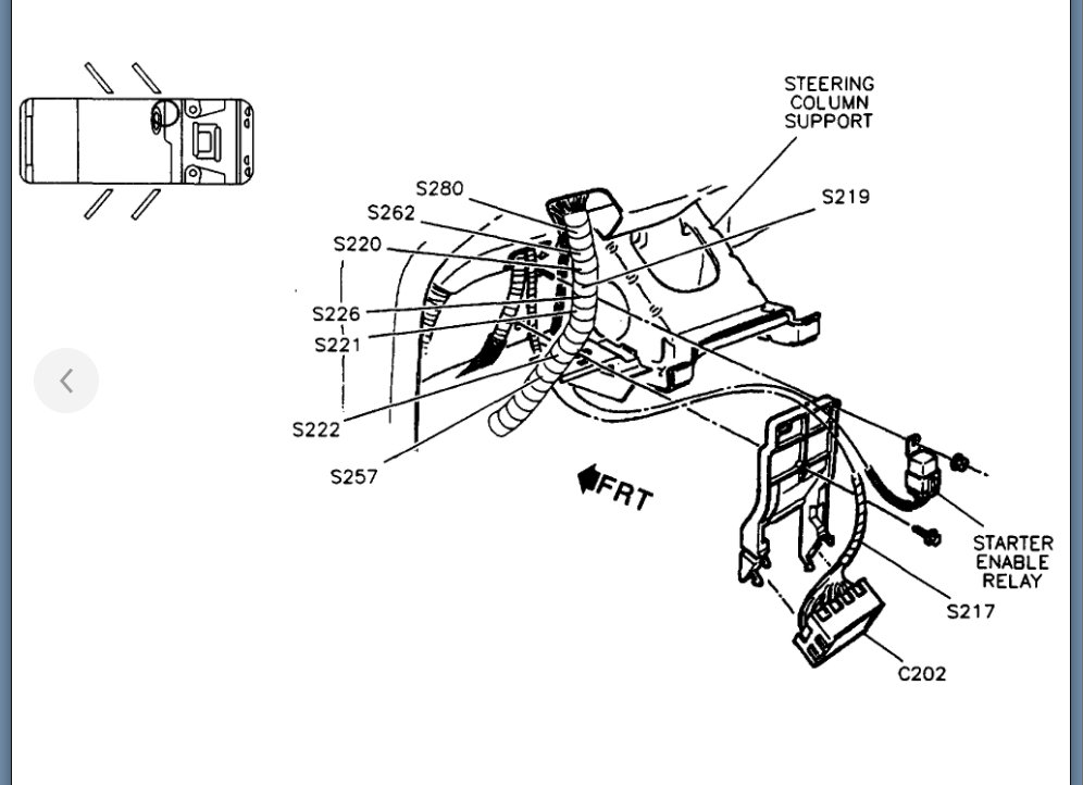
6.Starter wiring.
7.Starter mounting bolts.
8.Starter.
INSTALL OR CONNECT
NOTICE: Before installing starter motor to engine, he sure electrical terminals are secure by tightening nuts next to cap on solenoid battery terminal and on the SD-255 "S" terminal. If these terminals are not tight in solenoid cap, the cap may be damaged during installation of electrical connections and cause starter to fall later.
1.Starter.
2.Starter mounting bolts. Tighten
*Bolts to 43 N.m (32 lb. ft.) .
3.Starter wiring. Tighten
*Nut on solenoid battery terminal to 16 N.m (12 lb. ft.) .
*Nut on "S" terminal to 2.5 N.m (22 lb. in.) .
4.Flywheel inspection cover. Tighten
*Bolts to 7 N.m (62 lb. in.) .
5.Splash shield.
6.Lower vehicle.
7.Negative battery cable. Tighten
*Cable bolt to 15 N.m (11 lb. ft.) .
Wednesday, November 18th, 2020 AT 8:13 AM
(Merged)