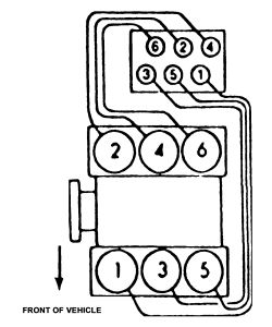
I just changed spark plugs and my car now is in rough idle and sputtering. I used Autolite platinum. I want to know the spark plug order. I numbered my wires and I may have messed it up. Is it -2-3 along the fire wall with 1 being on the passenger side? And 4-5-6 in the front with 6 being on the passenger side. I assume that is to correspond with the numbers on the distributor cap.
Last time I changed plugs I changed wires.
Tuesday, August 24th, 2010 AT 9:24 AM













