What is that spring action part attached to the throttle body called?

Tiny
DAKEYRAS
  • MEMBER
  • 2001 DODGE RAM
  • 5.9L
  • V8
  • 4WD
  • AUTOMATIC
  • 230,000 MILES
I ordered a replacement throttle body and was informed it was damaged in transit and a refund is being processed as they didn't have another available. Thing is, I don't know if it came with the part that was actually broken on the throttle body so it's just as well. What is that spring action part attached to the throttle body called? When you hit the gas, it pulls that lever that opens the valves in the throttle body. I paid $5,000.00 for this truck and a used car lot and it looks like they rigged it together with electrical wire. The truck no longer starts, and my scanner says po123 but it's probably not the sensor since that spring part is broken and the sensor can't do its job. If I can find its name, I can order it instead of the whole throttle body. If these pictures are sent the second one (not broken) is from my rebuilt engine from a 1994. I really don't want to do it but if I had to temporarily would that part from the 1994 work with the 2001? Both are Ram 1500 v8 5.9.
Sunday, April 10th, 2022 AT 3:14 PM

3 Replies

Tiny
KEN L
  • MASTER CERTIFIED MECHANIC
  • 55,281 POSTS
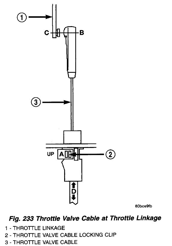
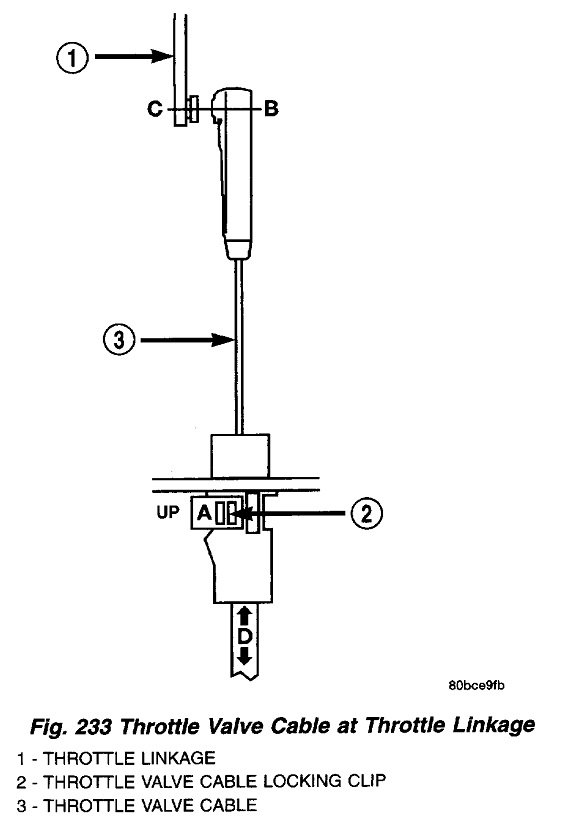
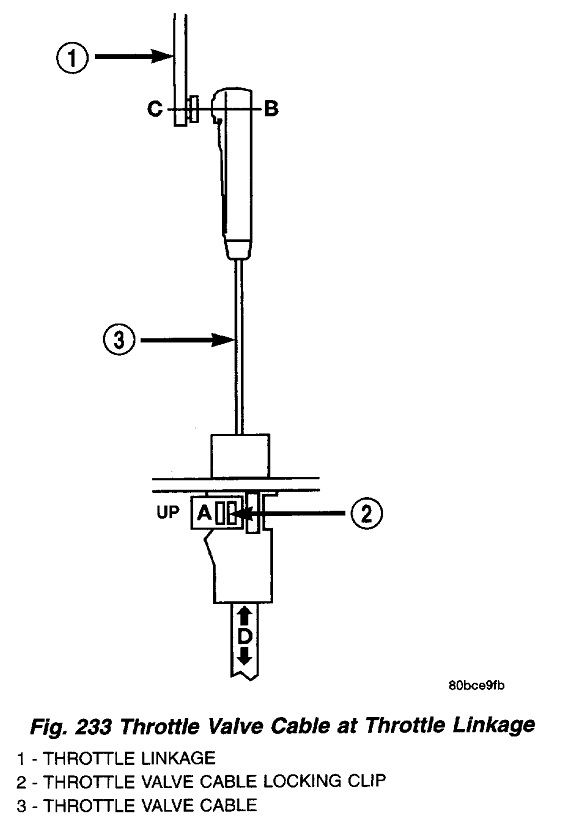
I don't see the pictures. Also, the spring is the return spring for the throttle body, they don't service this piece separately though. Here is the instructions on how to replace the throttle body, you can get a rebuilt throttle body on eBay etc. Check out the diagrams (below). Let us know what happens and please upload pictures or videos of the problem.
Was this
answer
helpful?
Yes
No
+1
Monday, April 11th, 2022 AT 10:51 AM
Tiny
DAKEYRAS
  • MEMBER
  • 2 POSTS
Okay, it looks like the pictures are uploading this time. The non-broken part is from the 1994 rebuilt engine while the broken one is from the 2001 stock engine. They look subtly different. Do you think they're interchangeable, so I have transportation until I source a proper replacement? Not fun for my pregnant wife and I being stranded on our remote property in the desert. However, the information you did provide was very helpful. Thank you
Was this
answer
helpful?
Yes
No
Monday, April 11th, 2022 AT 12:45 PM
Tiny
CARADIODOC
  • MECHANIC
  • 34,463 POSTS
Hi guys. I suspected this earlier, but didn't want to speak out of turn before the photos showed up. If you look at the two parallel cables on the right side of the second photo, those are the cable from the accelerator pedal, and the one from the cruise control servo. They both pull in the same direction to open the throttle.

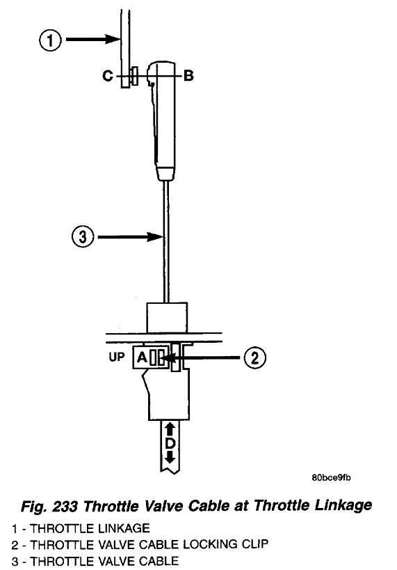
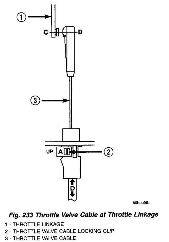
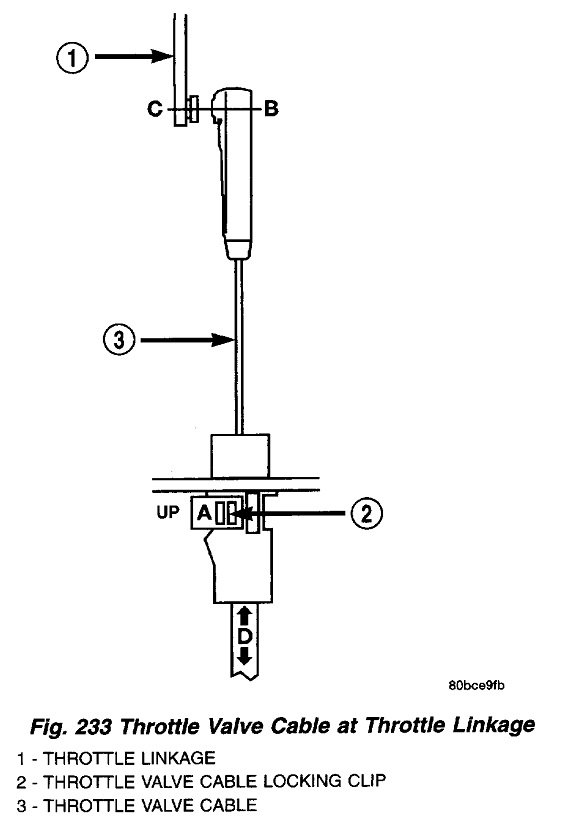
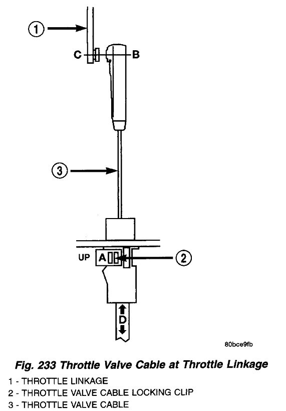
The cable in the left photo is for the throttle valve inside the transmission, aka "kickdown" cable. A common problem is that cable becomes sticky and doesn't return under its return spring tension. That holds the throttle valve in the same position as when you're at part-throttle. The transmission interprets that as it wants higher up-shift and down-shift speeds. Many people complain of a failure to upshift, but it's not a transmission problem. You may see evidence of that cable bending next to the throttle body.

Lubricating and exercising the cable often solves the problem. If you need to replace it, I see it is horribly expensive, so consider your '94 cable or a good used one from a salvage yard. The furthest back I was able to find this cable was for a '97 model. It has the same part number as your 2001 cable, with some minor suffix variations.

Apparently replacing it is self-explanatory as there's no instructions in our online service manual. The instructions for adjusting it are more important, and they do mention the connection where you have that piece of wire. The last four drawings tell how to adjust the cable. They made it sound a lot more complicated than it really is.

It would be best if you start a new question for the crank / no-start problem. That helps the site owners categorize them by topic and model to help others researching similar problems. It also gives our other experts a chance to see the new post and give you the best answer.

To get you started on that problem:

P0123 - Throttle/Pedal Position Sensor/Switch A Circuit High Input

The throttle position sensor is not related to the throttle valve cable. The sensor simply tells the Engine Computer how far you've opened the throttle. The sensor is supplied with 5.0 volts and ground. Mechanical stops inside the sensor limit the movable contact's range of travel to close to 0.5 volts at idle and 4.5 volts at wide-open-throttle. Those voltages are for explanation purposes. In real life, every sensor is different, and you can find perhaps 0.72 to 4.23 volts, for example. The important point is the signal voltage will never get close to 0 or 5.0 volts, except when there's a circuit defect. It's the 0 or 5.0 volts that the computer sees as a defect, then it sets the appropriate diagnostic fault code. Code P123 indicates the computer saw 5.0 volts on the signal wire. That can only happen if the sensor's ground wire is open, (broken), the signal wire is open, or if either corresponding terminal is broken inside the sensor. Those breaks can also occur between the mating terminals in the sensor and connector. This code will also set if you unplug the sensor while the ignition switch is on.

I can go into more detail later if desired, but for now, with a break anywhere in the signal wire or its terminals, the computer puts 5.0 volts onto that circuit internally to force the defective condition to be detected. That can lead to some confusion. A scanner will display the 5.0 volts the computer is seeing for the TPS signal voltage, while you are likely to find the proper 0.5 volts right at the sensor with a voltmeter.

Once any fault code is set, the computer is supposed to suspend some other tests that rely on the defective circuit for comparison, but that may not apply here. 4.5 volts during cranking puts the computer into "clear flood" mode which momentarily turns off the injectors. I can see where seeing 5.0 volts might do that too, resulting in the crank / no-start. One clue is you'll still have spark.

https://www.2carpros.com/articles/how-to-check-for-ignition-spark

When you check for spark and fuel, loss of both spark and fuel pressure at the same time accounts for about 95 percent of these no-starts. We'll get into that in your new question. Loss of just spark causes about two percent, and loss of just fuel pressure, (fuel pump) accounts for the last three percent. We don't talk about loss of injectors because other than their common 12-volt feed wire, (which also feeds the ignition coil(s)), they use eight separate circuits, and they aren't all likely to fail at the same time. The more likely way to lose all eight injector pulses is it's in clear flood mode.

I should mention too that when you have a no-start with loss of spark and fuel pump, that's during cranking. The fuel pump will still run for one second when you turn the ignition switch to "run". That's enough time to keep fuel pressure up to normal which can also lead to some confusion. You may be able to hear the hum of the pump for that one second. If you run into this, don't get stuck on the loss of spark. We need to look at what both systems have in common, and that is usually the crankshaft position sensor and the camshaft position sensor.

First we have to diagnose the P123, then we'll look into the no-start if that problem is still there.
Was this
answer
helpful?
Yes
No
+1
Tuesday, April 12th, 2022 AT 1:08 AM

Please login or register to post a reply.