Friday, May 21st, 2021 AT 7:24 PM
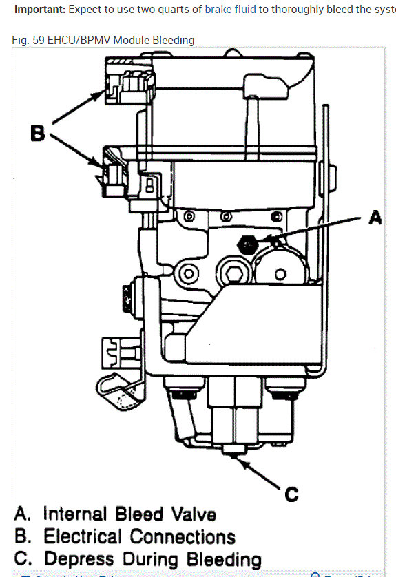
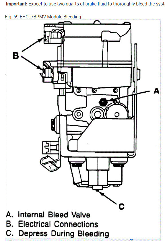
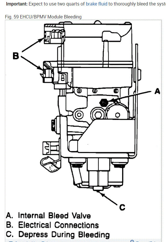
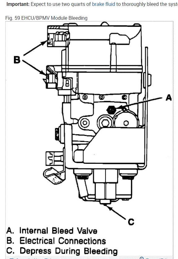
Everything has been replaced from all the brake lines, pressure hoses and master cylinder. Brake power booster front and back brakes wheel cylinders in the back and hardware the brake valve as well and still no brake and ABS light is on. The brakes still hit the floor I have to pump them a lot to build pressure to get the brakes to catch. What else can I do?






