No brake fluid coming out when bleeding drum brakes

Tiny
JAYDEN420
  • MEMBER
  • 2000 HYUNDAI ACCENT
  • 4 CYL
  • 2WD
  • MANUAL
  • 43,500 MILES
I am currently trying to bleed my brake system and have already completed the two front calipers without a problem. Although when I try to bleed the two rear drums I cannot get any fluid from the bleeder valve.
Tuesday, April 21st, 2020 AT 4:47 PM

3 Replies

Tiny
JACOBANDNICKOLAS
  • MECHANIC
  • 110,192 POSTS
Hi,

I'm not sure if you have ABS or not on the vehicle. I will provide the directions for both systems. However, let me know if anything was replaced prior to doing this procedure. Also, the attached pictures correlate with the directions.

_________________________________________
With ABS system
2000 Hyundai Accent GL Sedan L4-1495cc 1.5L SOHC MFI
With ABS
Vehicle Brakes and Traction Control Hydraulic System Brake Bleeding Service and Repair Procedures With ABS
WITH ABS
BLEEDING OF BRAKE SYSTEM
This procedure should be followed to ensure adequate bleeding of air and filling of the ABS unit, brake lines and master cylinder with brake fluid.
1. Remove the reservoir cap and fill the brake reservoir with brake fluid.

CAUTION: Do not allow brake fluid to to contact with a painted surfaces.

Wash any off immediately.

NOTE: When pressure bleeding, do not depress the brake pedal.

Recommended fluid: DOT3 or DOT 4

pic 1

2. Connect a clear plastic tube to the wheel cylinder bleeder plug and insert the other end of the tube into a half filled clear plastic bottle.

Pic 2

3. Connect Scan tool to the Data Link Connector located underneath the dash panel.

Pic 3

4. Select and operate according to the instructions on the Scan tool screen.

CAUTION: You must obey the maximum operating time of the ABS motor with Scan tool to prevent the motor pump from burning.

Pic 4

1. Select Hyundai vehicle diagnosis.
2. Select vehicle name.
3. Select Anti-Lock Brake system.
4. Select air bleeding mode.
5. Press 'YES' to operate motor pump and solenoid valve.

Pic 5

6. Wait 60 sec. Before operating the air bleeding. (If not, you may damage the motor).

Pic 6

5. Pump the brake pedal several times, and then loosen the bleeder screw until fluid starts to run out without bubbles. Then close the bleeder screw.
6. Repeat step 5 until there are no more bubbles in the fluid for each wheel.

Pic 7

7. Tighten the bleeder screw.
Bleeder screw tightening torque: 7 - 9 Nm (70 - 90 kg-cm, 5 - 6.6 ft. Lbs.)

_______________________________

Non ABS

2000 Hyundai Accent GL Sedan L4-1495cc 1.5L SOHC MFI
Without ABS
Vehicle Brakes and Traction Control Hydraulic System Brake Bleeding Service and Repair Procedures Without ABS
WITHOUT ABS
BLEEDING OF THE BRAKE SYSTEM
1. Remove the reservoir cap and fill the brake reservoir with brake fluid.

CAUTION: Do not allow brake fluid to remain on a painted surface. Wash it off immediately.

NOTE: When bleeding by pressurized fluid, do not depress the brake pedal.

Pic 8

2. Connect a vinyl tube to the wheel cylinder bleeder plug, and insert the other end of tube in a half full container of brake fluid.
3. Slowly pump the brake pedal several times.
4. While depressing the brake pedal fully, loosen the bleeder plug until fluid starts to run out. Then close the bleeder plug.

Pic 9

5. Repeat steps 3 and 4 until there are no more bubbles in the fluid.
6. Tighten the bleeder plug screw.
Bleeder screw tightening torque: 7 - 9 Nm (70 - 90 kg-cm, 5.1 - 6.5 ft. Lbs.)

pic 10

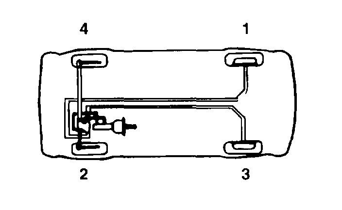
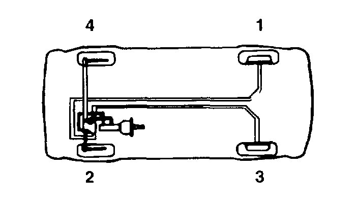
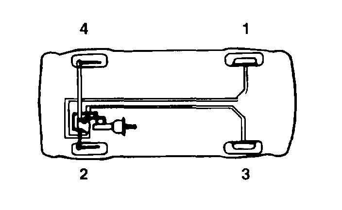
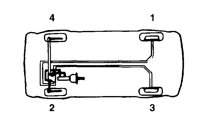
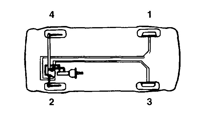
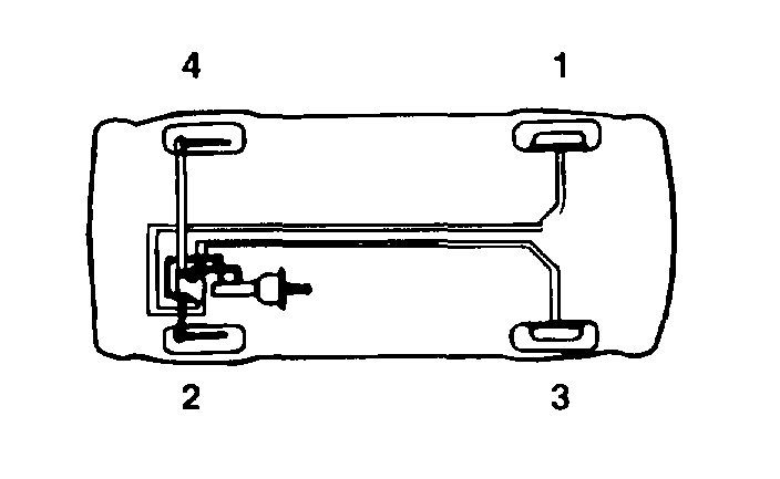
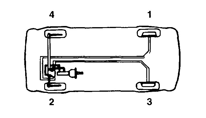
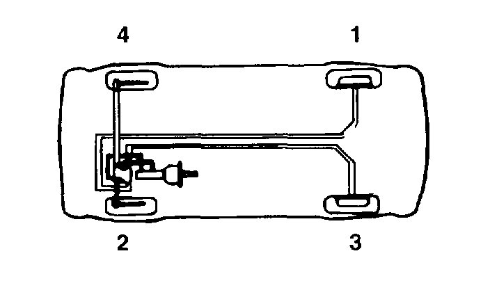
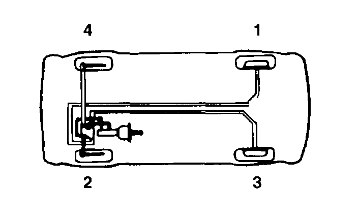
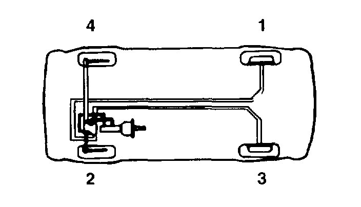
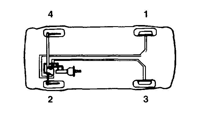
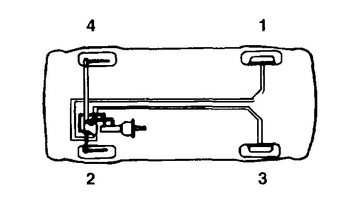
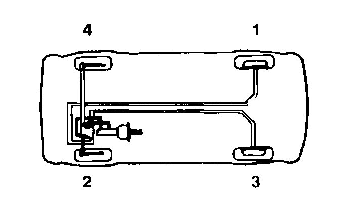
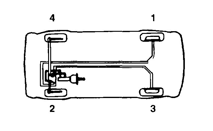
7. Repeat the above procedure for each wheel in the sequence shown in the illustration.

____________________

Let me know if this helps or if you have other questions. Also, let me know if something was replaced requiring bleeding.

Take care,
Joe
Was this
answer
helpful?
Yes
No
Tuesday, April 21st, 2020 AT 5:29 PM
Tiny
JAYDEN420
  • MEMBER
  • 1 POST
You did not answer my question as to why I cannot get fluid through my rear brakes?
Was this
answer
helpful?
Yes
No
-1
Saturday, April 25th, 2020 AT 1:09 PM
Tiny
JACOBANDNICKOLAS
  • MECHANIC
  • 110,192 POSTS
Do you have ABS? If you do, the abs module needs to be placed into bleed mode. Let me know if you have ABS or not. That was an option according to my manual.

Joe
Was this
answer
helpful?
Yes
No
+2
Saturday, April 25th, 2020 AT 11:13 PM

Please login or register to post a reply.