Fluid not getting to any of the brakes

Tiny
CARL FOWLER2
  • MEMBER
  • 1998 FORD F-150
  • 4.6L
  • V8
  • 2WD
  • AUTOMATIC
  • 150,000 MILES
Change the booster and master cylinder. The two brake lines coming off the master cylinder were removed completely.
Sunday, February 9th, 2020 AT 5:17 PM

7 Replies

Tiny
JACOBANDNICKOLAS
  • MECHANIC
  • 110,192 POSTS
Hi,

If you remove the brake lines at the master cylinder, is there pressure when you have a helper depress the brake pedal? Was the system properly bled including the new master cylinder? Does the brake pedal go to the floor? Was the push rod between the master cylinder and the booster properly installed?

Let me know.

Joe
Was this
answer
helpful?
Yes
No
Wednesday, March 10th, 2021 AT 12:52 PM
Tiny
CARL FOWLER2
  • MEMBER
  • 7 POSTS
Yes there is pressure. I Bench bled the master cylinder. The pedal will only go to the floor if I loosen the lines at the master cylinder. I put the new booster on and after I bench bled the master cylinder I installed it right to the booster did not mess with the push rod coming out of the booster.
Was this
answer
helpful?
Yes
No
Wednesday, March 10th, 2021 AT 12:52 PM
Tiny
JACOBANDNICKOLAS
  • MECHANIC
  • 110,192 POSTS
Okay I'm confused. The heading indicates the pedal goes to the floor. You mentioned that it only goes to the floor if you loosen the brake lines. When you try bleeding the system, does anything come out at the wheels? How are you now bleeding the brakes? Take a look through these directions for bleeding the system specific to you vehicle and see if you are doing anything differently. The attached pics correlate with the directions.

____________________________________________

1998 Ford Truck F 150 2WD Pickup V8-4.6L SOHC VIN 6
Manual Bleeding
Vehicle Brakes and Traction Control Hydraulic System Brake Bleeding Service and Repair Procedures Manual Bleeding
MANUAL BLEEDING
WARNING: BRAKE FLUID CONTAINS POLYGLYCOL ETHERS AND POLYGLYCOLS. AVOID CONTACT WITH EYES. WASH HANDS THOROUGHLY AFTER HANDLING. IF BRAKE FLUID CONTACTS EYES, FLUSH EYES WITH RUNNING WATER FOR 15 MINUTES. GET MEDICAL ATTENTION IF IRRITATION PERSISTS. IF TAKEN INTERNALLY, DRINK WATER AND INDUCE VOMITING. GET MEDICAL ATTENTION IMMEDIATELY.

CAUTION:
- Do not allow the brake master cylinder reservoir to run dry during the bleeding operation. Keep the brake master cylinder reservoir filled with the specified brake fluid. Never reuse the brake fluid that has been drained from the hydraulic system.
- Brake fluid is harmful to painted and plastic surfaces. If brake fluid is spilled onto a painted or plastic surface, immediately wash it with water.

NOTE: When any part of the hydraulic system has been disconnected for repair or replacement, air may get into the system and cause spongy brake pedal action. This requires bleeding of the hydraulic system after it has been properly connected. The hydraulic system can be bled manually or with pressure bleeding equipment.

Pic 1

1. Clean all dirt from and remove the brake master cylinder filler cap and fill the brake master cylinder reservoir with the specified brake fluid

pic 2

2. Place a box end wrench on the RH rear bleeder screw. Attach a rubber drain tube to the RH rear bleeder screw and submerge the free end of the tube in a container partially filled with clean brake fluid.
3. Have an assistant pump the brake pedal and then hold firm pressure on the brake pedal.
4. Loosen the RH rear bleeder screw until a stream of brake fluid comes out. While the assistant maintains pressure on the brake pedal, tighten the RH rear bleeder screw.
- Repeat until clear, bubble-free fluid comes out.
- Refill the brake master cylinder reservoir as necessary.

Pic 3

5. Tighten the RH rear bleeder screw.
6. Repeat Steps 2, 3, 4, and 5 for the LH rear bleeder screw.

Pic 4

7. Place a box end wrench on the RH front disc brake caliper bleeder screw. Attach a rubber drain tube to the RH front disc brake caliper bleeder screw, and submerge the free end of the tube in a container partially filled with clean brake fluid.
8. Have an assistant pump the brake pedal and then hold firm pressure on the brake pedal.
9. Loosen the RH front disc brake caliper bleeder screw until a stream of brake fluid comes out. While the assistant maintains pressure on the brake pedal, tighten the RH front disc brake caliper bleeder screw.
- Repeat until clear, bubble-free fluid comes out.
- Refill the brake master cylinder reservoir as necessary.

Pic 5

10. Tighten the RH front disc brake caliper bleeder screw.
11. Repeat Steps 7, 8, 9, and 10 for the LH front disc brake caliper bleeder screw.

__________________________________

Let me know.

Joe
Was this
answer
helpful?
Yes
No
Wednesday, March 10th, 2021 AT 12:52 PM
Tiny
CARL FOWLER2
  • MEMBER
  • 7 POSTS
Okay. I cannot get fluid to the caliper to be able to use the bleeder. The 2 lines coming off the master cylinder go to a thing that has 3 more brake lines coming out of it. It is some kind of pump. I can get fluid from the master cylinder lines down to where they connect to it but that's all. I assume the other brake lines connected to it go to the 2 front and one for the back. When I pump the brakes up I can c air getting in to the reserve. I put a new booster on it. Is there some kind of adjustment you have to do to the booster?
Was this
answer
helpful?
Yes
No
Wednesday, March 10th, 2021 AT 12:52 PM
Tiny
JACOBANDNICKOLAS
  • MECHANIC
  • 110,192 POSTS
Hi,

I attached a picture. Is that the part you are referring to? If you remove one line at a time from the wheel side, will it bleed?

If it doesn't and you are sure there is proper pressure coming from the MC, then the next thing to try is pressure bleeding. Here are the directions and you can get the tools at most parts stores. They should lend it to you.

_________________________-

1998 Ford Truck F 150 2WD Pickup V8-4.6L SOHC VIN W
Pressure Bleeding
Vehicle Brakes and Traction Control Hydraulic System Brake Bleeding Service and Repair Procedures Pressure Bleeding
PRESSURE BLEEDING

pic 2

1. Clean all dirt from and remove the brake master cylinder filler cap and fill the brake master cylinder reservoir with the specified brake fluid.
2. Install the bleeder adapter to the brake master cylinder reservoir, and attach the bleeder tank hose to the fitting on the adapter.

NOTE: Master cylinder pressure bleeder adapter tools are available from various manufacturers of pressure bleeding equipment. Follow the instructions of the manufacturer when installing the adapter.

Pic 3

3. Place a box end wrench on the RH rear bleeder screw. Attach a rubber drain tube to the RH rear bleeder screw, and submerge the free end of the tube in a container partially filled with clean brake fluid.

NOTE: Bleed the longest line first. Make sure the bleeder tank contains enough specified brake fluid to complete the bleeding operation.

4. Open the valve on the bleeder tank.

Pic 4

5. Loosen the RH rear bleeder screw. Leave open until clear, bubble-free brake fluid flows, then tighten the RH rear bleeder screw and remove the rubber hose.
6. Continue bleeding the rear of the system, going in order from the LH rear bleeder screw to the RH front disc brake caliper bleeder screw ending with the LH front disc brake caliper bleeder screw.
7. Close the bleeder tank valve. Remove the tank hose from the adapter, and remove the adapter.

_________________

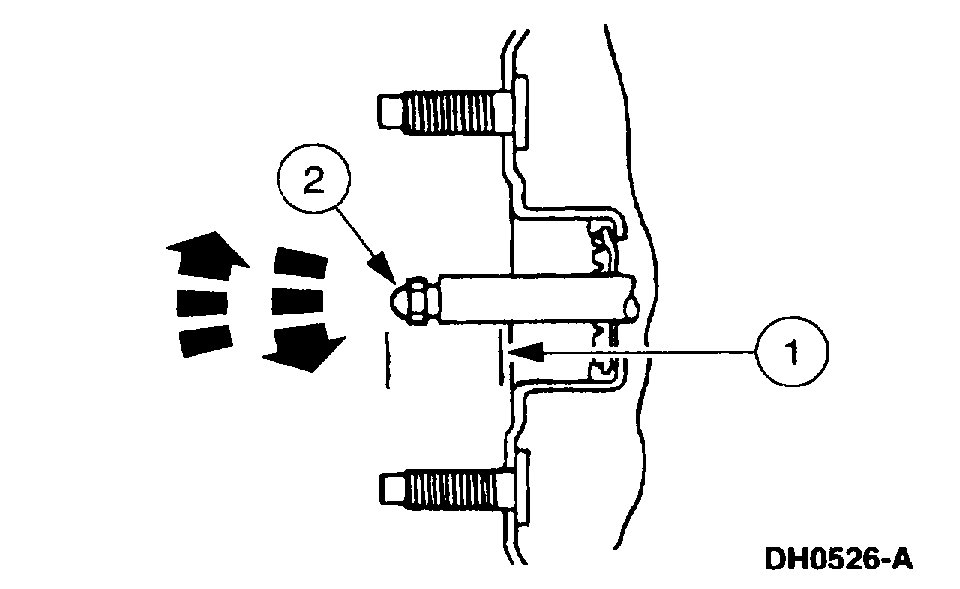
Next is adjustment. If the push rod isn't actuating the new master cylinder properly, it may not build enough pressure to work. Here are the directions for adjustment. The last pic correlates with this.
________________

1998 Ford Truck F 150 2WD Pickup V8-4.6L SOHC VIN W
Master Cylinder Push Rod
Vehicle Brakes and Traction Control Hydraulic System Brake Master Cylinder Adjustments Master Cylinder Push Rod
MASTER CYLINDER PUSH ROD
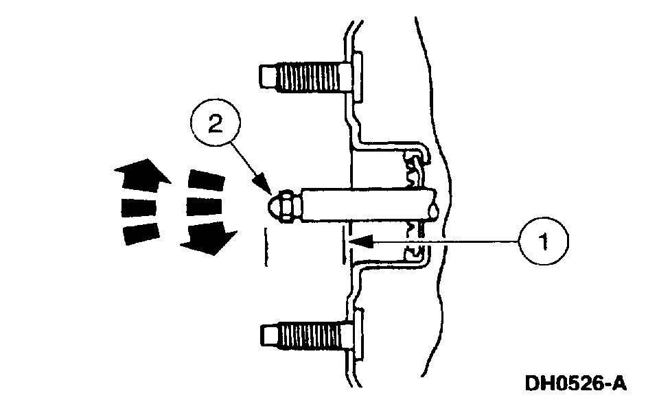
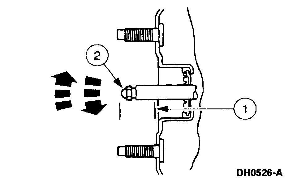
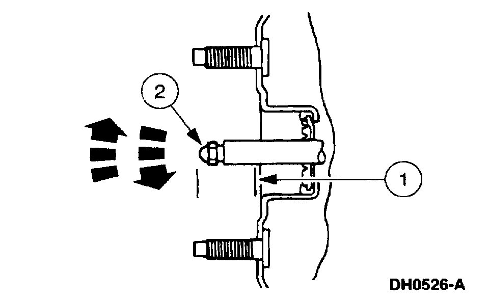
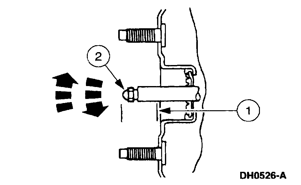
1. Remove the brake master cylinder.

Pic 5

2. Adjust the power brake booster to brake master cylinder push rod, vacuum applied.
1 Measure the power brake booster to brake master cylinder push rod.
2 If necessary, adjust the screw to the proper length.

CAUTION: Do not apply the brake pedal with the master cylinder removed from the booster.

3. Install the brake master cylinder.

____________________

Let me know if this helps.

Joe
Was this
answer
helpful?
Yes
No
Wednesday, March 10th, 2021 AT 12:52 PM
Tiny
CARL FOWLER2
  • MEMBER
  • 7 POSTS
Yes, the picture you sent is what I was talking about.
Was this
answer
helpful?
Yes
No
Wednesday, March 10th, 2021 AT 12:52 PM
Tiny
JACOBANDNICKOLAS
  • MECHANIC
  • 110,192 POSTS
Okay, then I suggest first confirming that the push rod is adjusted properly. If it is, try pressure bleeding the unit or bleed it manually at the abs module (opposite side of the master cylinder). If that doesn't work, you may have gotten another bad master cylinder.

Let me know what you find.

Joe
Was this
answer
helpful?
Yes
No
Wednesday, March 10th, 2021 AT 12:52 PM

Please login or register to post a reply.