Master cylinder keeps going empty

Tiny
BRYANLACY2277
  • MEMBER
  • 2007 CADILLAC CTS
  • 3.5L
  • 6 CYL
  • 2WD
  • 121,000 MILES
Master cylinder keeps going empty, it's leaking down through the floor board from underneath the dash. I've looked up behind the radio and it's leaking from a hose that extends down and goes underneath the floorboard like a drain hose.
Friday, May 24th, 2019 AT 5:37 PM

2 Replies

Tiny
JACOBANDNICKOLAS
  • MECHANIC
  • 110,194 POSTS
Welcome to 2CarPros.

First, I'm not sure what hose you are seeing, but honestly, there are no hydraulic brake lines in the vehicle. With that being said, I suspect that the master cylinder is leaking from the rear where it mounts to the brake booster. Chances are the booster is full of brake fluid and it is leaking through the firewall into the vehicle.

Make sure you see no leaks under the vehicle before doing this. If you do, suspect a bad steel brake line, rubber brake hose, or one of the brake calipers.

____________________________

What I suggest is to remove the master cylinder and inspect the rear of it as well as in the brake booster for fluid. First, here is a link that explains how to replace the master cylinder in general:

https://www.2carpros.com/articles/how-to-replace-a-brake-master-cylinder

Here are the directions for replacing the master cylinder specific to your vehicle. The attached picture correlates with the directions.

___________________________

MASTER CYLINDER REPLACEMENT
Master Cylinder Replacement

Caution: Refer to in Brake Fluid Irritant Caution.

Notice: Refer to Brake Fluid Effects on Paint and Electrical Components Notice.

Removal Procedure

1. Disconnect the electrical connector from the brake fluid level sensor.
2. Disconnect the brake pipes from the master cylinder.

Important: Install a rubber cap or plug to the exposed brake pipe fitting end in order to prevent brake fluid loss and contamination.

3. Plug the open brake pipe fitting ends.

pic 1

4. Remove the 2 master cylinder mounting nuts.
5. Remove the master cylinder.
6. Remove the reservoir from the master cylinder if it is to be reused on a replacement master cylinder.

Installation Procedure

1. Install the brake master cylinder reservoir to the master cylinder if it was removed previously.
2. Bench bleed the master cylinder.

pic 1

3. Install the master cylinder to the vacuum brake booster.

Notice: Refer to Fastener Notice.

4. Install the 2 brake master cylinder mounting nuts.

Tighten the 2 brake master cylinder mounting nuts to 25 N.m (18 lb ft).

5. Remove the plugs from the brake pipes.
6. Install the brake pipes to the master cylinder.

Tighten the brake pipe fittings at the master cylinder to 38 N.m (28 lb ft).

7. Connect the electrical connector to the brake fluid level sensor.
8. Bleed the hydraulic brake system.

______________________________

The link I included above explains how to bench bleed the new master cylinder and system

Let me know if this helps or if you have other questions.

Take care,
Joe
Was this
answer
helpful?
Yes
No
Friday, May 24th, 2019 AT 10:00 PM
Tiny
STEVE W.
  • MECHANIC
  • 15,704 POSTS
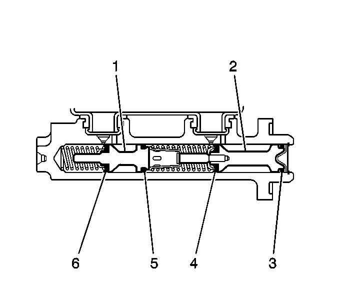
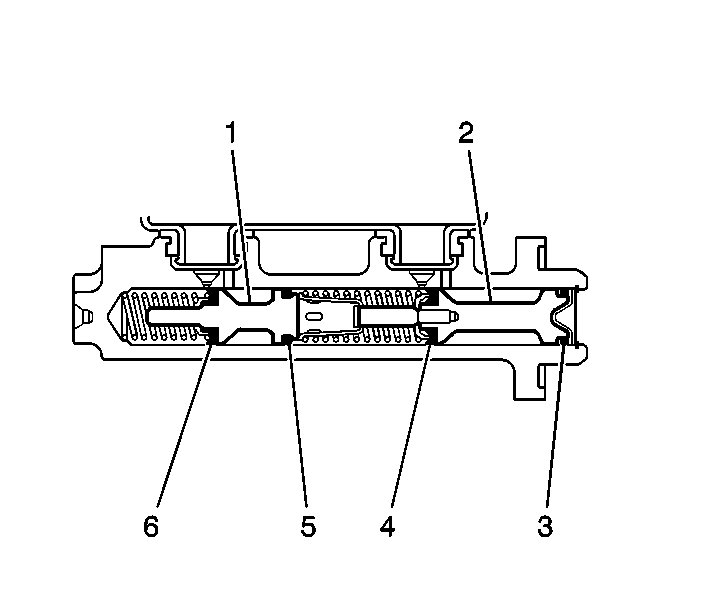
Welcome to 2CarPros. That isn't good, brake fluid loves to eat paint. First thing would be to flush the areas where the brake fluid is going with water real well. Next will be to replace the master cylinder and brake booster. The rear seal (item 3 in image 1) has failed on it and the fluid is leaking into the brake booster. From there it is leaking out the tube that allows air into the booster to provide brake assist with the engine vacuum. The brake fluid will damage the booster diaphragm and valving so replacement is a better option. Replacing the master cylinder isn't hard, You use a suction tool to draw out as much fluid as possible, then remove the electrical connections and then the brake lines. Cap the lines to help keep the fluid clean. Next remove the two nuts that secure the master cylinder to the booster. Remove the master cylinder. For the booster you need to remove the closeout panel under the dash. Then release the clip and remove the brake push rod from the brake pedal (image 2). Now you unbolt the coolant surge tank and move it out of the way. Then you need to look in the back of the booster for the release tab (image 3) This pushes in toward the firewall. With it pressed rotate the booster counterclockwise. It will release from the mount. Now simply pull it free. I would place a few towels under it to catch any fluid that will leak out. Finally you push in on the foam at the rear of the booster to find the clip that holds the brake rod in place (image 4). Remove the rod and set it aside. To install the new booster you reverse the process. I would clean up any brake fluid as soon as you get to it.
Now to install the new master cylinder you will need a couple things, especially as the system has gotten air in it from the reservoir going empty. First you will need to bench bleed the new master cylinder.
https://www.2carpros.com/articles/how-to-replace-a-brake-master-cylinder
This gets the air out of the new master cylinder. Now you install the new master to the booster, connect up the lines and bleed the brake system until you see new fluid at all 4 corners and no air, because this vehicle has ABS you really need a scan tool to cycle that system as the rest of the system is bled. If not there can be air trapped inside the ABS module, if the ABS were to activate it would push that air into the system. That could leave you with no or very little braking.

Was this
answer
helpful?
Yes
No
+1
Friday, May 24th, 2019 AT 10:37 PM

Please login or register to post a reply.