Replacing Brake-Light Switch

*Remove instrument panelling at bottom left.
*Disconnect connector.

*Depress brake pedal as far as possible.
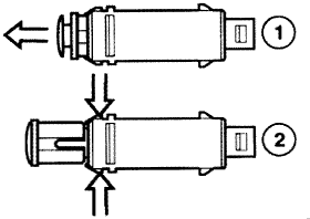
*Pull tappet and sleeve forward completely.
*Press together clips and pull back switch.

Installation note : Adjustment is made automatically after installation.
*Slowly release pedal to neutral position.
*Tie back lead with cable clip (1).
CAUTION : Adjustment of the switch can be changed if brake pedal springs back.
Check function.

Connector assignment for brake-light switch and brake-light-test
switch:
1 and 2 brake light switches
3 and 4 brake light test switches

Schematics of brake-light-test switch and brake-light switch.
https://www.2carpros.com/kpages/auto_repair_manuals_alldata.htm
Monday, July 12th, 2010 AT 2:33 AM