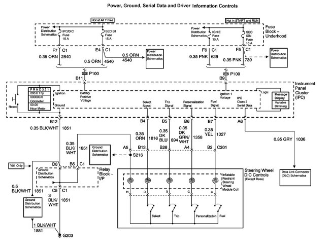
Sunday, July 30th, 2023 AT 6:03 AM
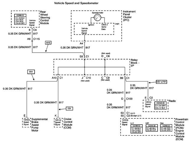
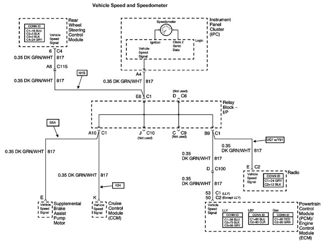
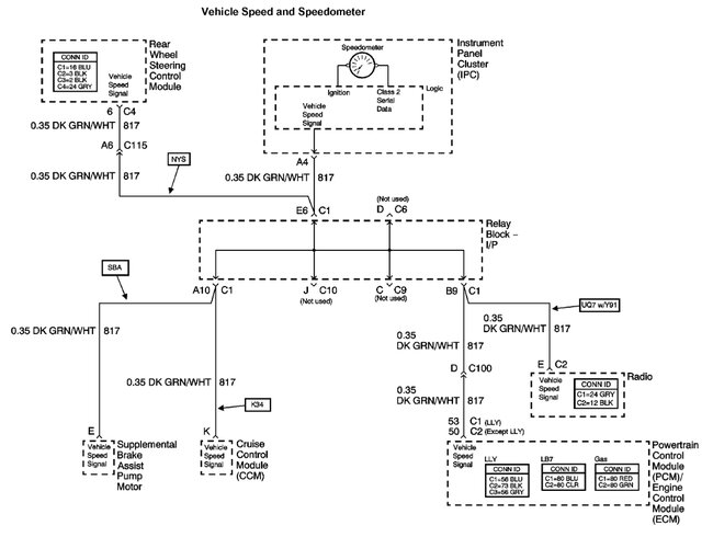
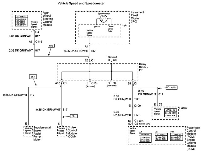
Is the pin out for the truck listed above single cab base model BCM the same as the 2004 Yukon Denali BCM? I have the Denali pin out, but I do not have the Silverado pin out. I am mainly interested in the plug that controls the instrument panel lights. Thank you in advance.

















