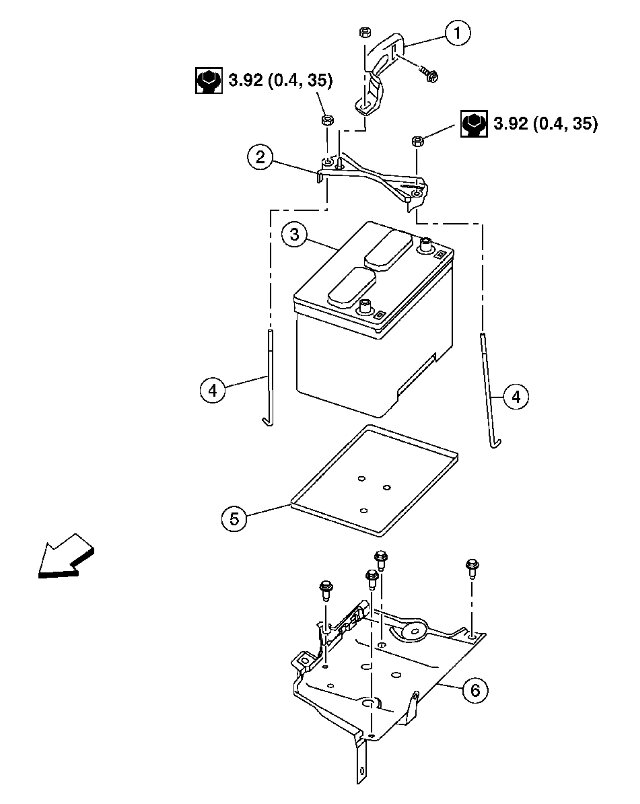
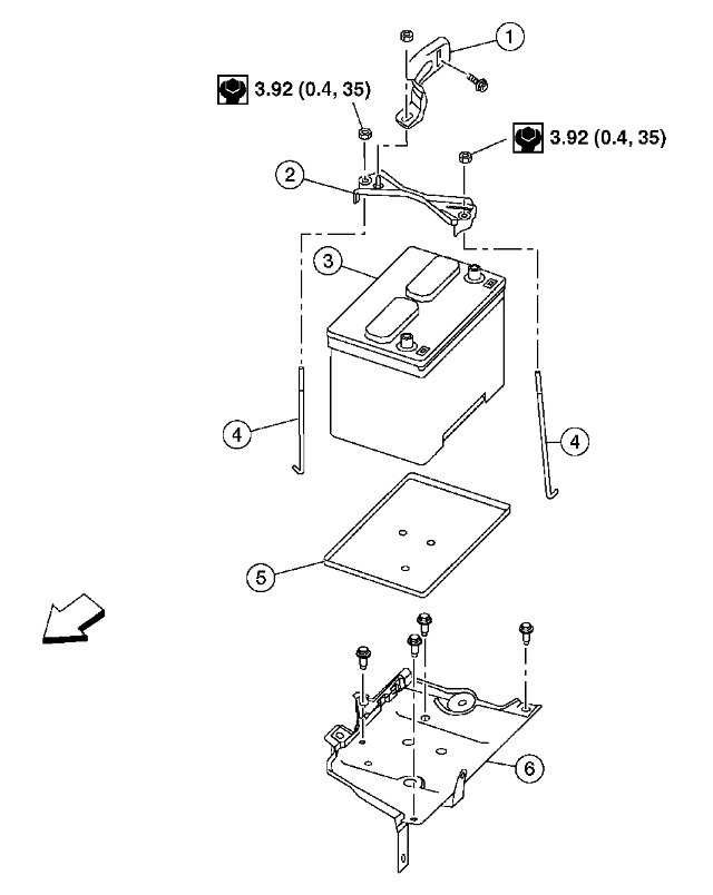
I have a 2010 Nissan Altima 2.5s and the battery I have for it is everstart max
Group size 35
640 CCA
My question is I have a similar battery which is a
everstart plus
Group size 35
525 CCA
Can I use the similar battery with same group size but a little less cold cranking amps?
Group size 35
640 CCA
My question is I have a similar battery which is a
everstart plus
Group size 35
525 CCA
Can I use the similar battery with same group size but a little less cold cranking amps?
Jun 21, 2024 at 2:33 AM
