Code P0342?

Tiny
ELUPER123
  • MEMBER
  • 2003 CHEVROLET SILVERADO
  • 4.8L
  • 2WD
  • AUTOMATIC
  • 172,879 MILES
Okay, I have the truck listed above 1500. I am having problems diagnosing this truck. I think I need a PCM, but I'm not sure. My problem started with an oil pressure sensor. Fixed it. Then an MAF sensor. Then TBS sensor. But I put on a whole assembly and new pigtail. Then an acceleration position sensor. Then an ABS sensor. So replaced both sides. Took off jacks wouldn't start and got a PO342 code. Had 2 fractured fingers so had it towed to Future tire automotive (firestone). They replaced the camshaft sensor. Had towed back. Went to move it, n it didn't want to turn over. Finally, did pop up with code P0342 again. Then I replaced the sensor n put in a new pigtail. Put it back together and still get the code. I cleared it with OBD11. Then with wire to wire to pos negative then pulled fuse, etc, and still getting code after runs turn off walk away go back and there it is again.
Wednesday, July 12th, 2023 AT 7:50 PM

11 Replies

Tiny
AL514
  • MECHANIC
  • 5,593 POSTS
Hello, the fact that the vehicle won't start points more to a crankshaft position sensor than the cam sensor. This vehicle will start without a cam signal, it will just have an extended crank, but should run. This code sets when the cam and crank synchronization isn't correct. I'll post the code criteria for you.
Was this
answer
helpful?
Yes
No
Thursday, July 13th, 2023 AT 1:19 PM
Tiny
ELUPER123
  • MEMBER
  • 8 POSTS
It starts if you clear codes but start sputtering and backfires. Then shuts down. Clear code again and started fine for a few minutes.
Was this
answer
helpful?
Yes
No
Thursday, July 13th, 2023 AT 1:22 PM
Tiny
AL514
  • MECHANIC
  • 5,593 POSTS
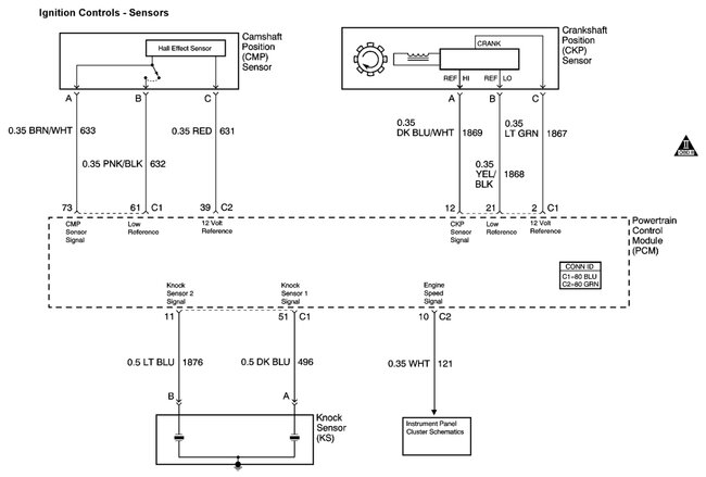
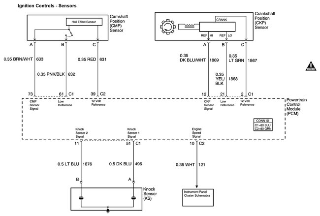
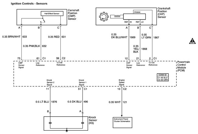
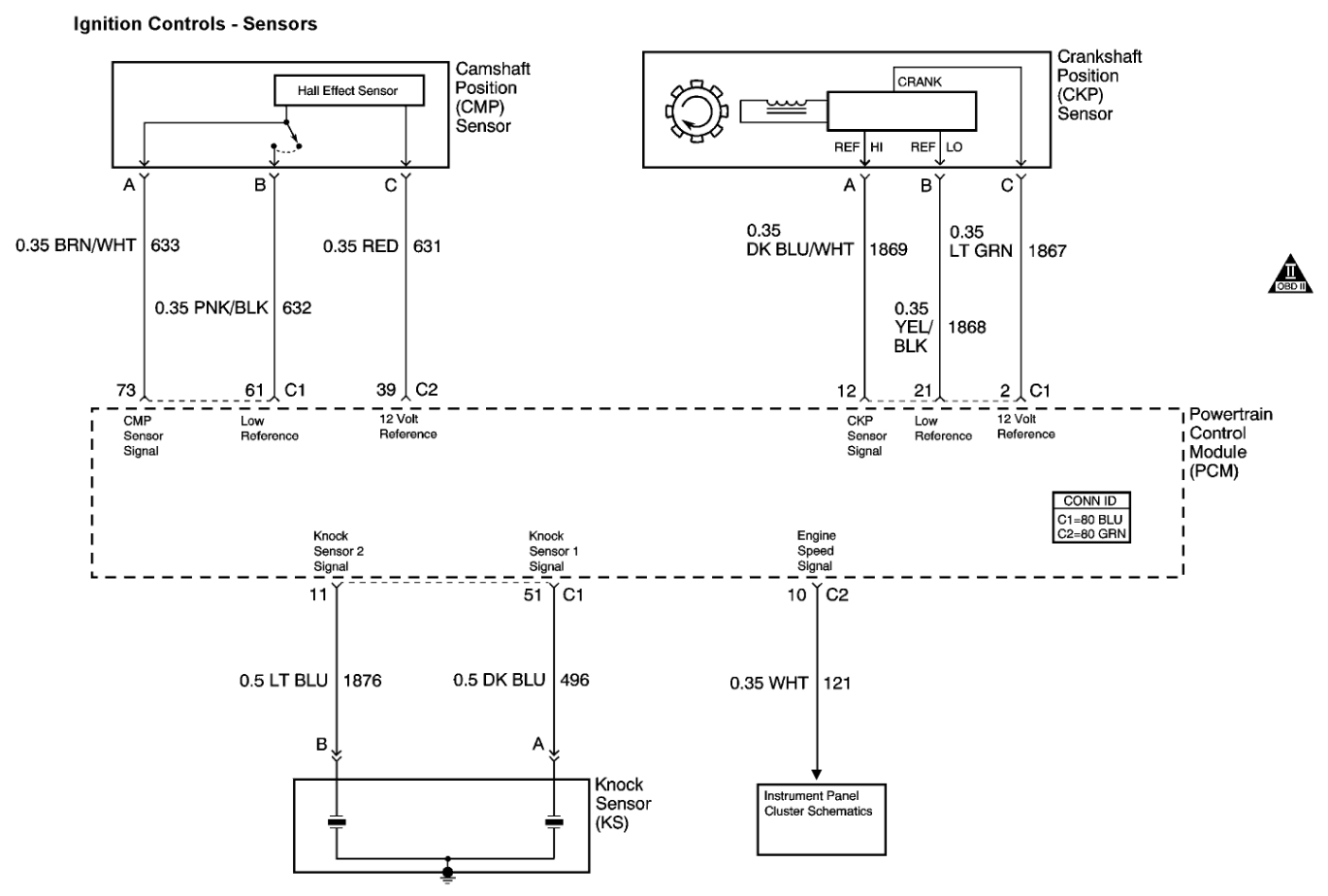
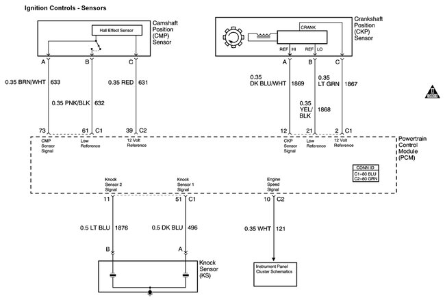
Yeah, it's the lack of crank and cam sensor sync that sets this code. Backfiring also points to timing being off. The cam sensor is just a 1 tooth signal on this vehicle for the number 1-cylinder top dead center. The crank sensor is a 24x where the PCM can identify each cylinder TDC, so that's why they can run without a cam signal. But if the sync fails, the PCM will keep trying. But I will post the flow chart for this code as well, you can go through the testing
Do you have live data on your scan tool for the PCM?
Diagrams 2, 3, 4 below are the flow chart for that code, and I'm also going to post the power and ground pinout diagrams for the PCM, they should all be checked before condemning the PCM. This computer has quite a few power feeds and grounds. A bad ground or corroded connector can cause this type of issue as well, especially with the vehicle's age and mileage. GM used frame to body grounds on these that didn't last long. You can do a voltage drop test with the key on from the battery negative post to the engine block, then to the frame/body and see if there are any large voltage drops across the grounds of the vehicle. Check the ground straps under the frame rail as well, if they are falling apart or are green with corrosion, they are no good.
Was this
answer
helpful?
Yes
No
Thursday, July 13th, 2023 AT 1:29 PM
Tiny
ELUPER123
  • MEMBER
  • 8 POSTS
No. I just ordered a crankshaft. All these sensors went out within 4 months. But I don't drive much. That is why I thought maybe a PCM.
Was this
answer
helpful?
Yes
No
Thursday, July 13th, 2023 AT 1:55 PM
Tiny
AL514
  • MECHANIC
  • 5,593 POSTS
Refresh this page, I just posted information on my last post, I'm getting the PCM connector pinouts for you as well so you can check them, if you have a test light, which would be the best way to check the PCM connectors because it puts a small electrical load on the circuits. I'll explain that further when I put up the PCM diagrams.

Okay, below are the PCM connector diagrams C1 and C2, all the 12v feeds and 12v References going out to sensors are marked in Red, the Grounds are marked in black, and the cam and crank pins are marked yellow.
The 5v reference voltages going out to sensors is marked in Grey. They feed the MAP, TPS, ECT, etc. You probably won't need to check those since the cam and crank use 12volt Reference feeds, they are in diagram 11.
If your vehicle has a Tachometer, that can be another clue as to the crank sensor dropping out. After the stall is out, and before you clear any codes, you can watch for the Tach to jump while cranking, if it doesn't move during the no start condition, which is a sign the PCM is not receiving an RPM signal.

When you go to check powers at the PCM, make sure the key is Off before you unplug the PCM connectors, check them for corrosion as well. With the first connector unplugged (C1), hook the test light to battery negative and just touch the PCM pins in the connector that should have 12volts and the test light should be bright. Some pins will be powered all the time and others will be key on power, but make sure the key is Off before unplugging and plugging back in the PCM connectors.
Testing the Grounds, do the opposite, hook the test light to battery positive and touch the ground pins, again the test light should be bright. Just don't jam the test light into the connector pins because they will spread and not make contact after plugging them back in.
The voltage drop testing is done with a multimeter set on DC volts, PCM plugged in, and Key on.
Battery negative to engine ground and to frame and body ground. There should be less than 1v drop.
If you're unsure about anything, please ask before proceeding

https://www.2carpros.com/articles/how-to-use-a-voltmeter

https://www.2carpros.com/articles/how-to-use-a-test-light-circuit-tester
Was this
answer
helpful?
Yes
No
+1
Thursday, July 13th, 2023 AT 2:03 PM
Tiny
ELUPER123
  • MEMBER
  • 8 POSTS
Thank you. I will try your suggestions as soon as the new crankshaft gets here.
Was this
answer
helpful?
Yes
No
Thursday, July 13th, 2023 AT 3:21 PM
Tiny
AL514
  • MECHANIC
  • 5,593 POSTS
Okay, do a visual inspection of the grounds throughout the truck in the meantime, the braided ground straps to the frame can look okay, but fall apart in your hand.
Was this
answer
helpful?
Yes
No
+1
Thursday, July 13th, 2023 AT 3:39 PM
Tiny
ELUPER123
  • MEMBER
  • 8 POSTS
Oh, okay. I will check that also. Thank you
Was this
answer
helpful?
Yes
No
Thursday, July 13th, 2023 AT 7:01 PM
Tiny
AL514
  • MECHANIC
  • 5,593 POSTS
What brand of cam sensor did you install? Was it an OEM part from the dealership? There have been many bad aftermarket parts the last few years but check the wiring to the crank sensor as well, it's a 12v feed, ground, and signal, the same as the cam sensor. If the crank sensor is shorting out, it might be pulling down the cam sensor signal with it. Even though the 2 sensors have different 12-volt feed pins from the PCM, they are most likely a shared 12-volt Reference internal to the PCM, that might be why its setting this sync code. They tend to do the same thing with the 5v Reference for the other sensors, they use one voltage regulator inside the PCM, and this saves on circuit board components.

This code is kind of unique, the code sets if the PCM sees the cam signal constantly low, but that should not cause the no start or stall out. I'm surprised it's not setting any other codes.
You can try clearing the code, turn the key off, unplugging the cam sensor, and see if the engine starts, technically it should with an extended crank. See if it sets another code besides the p0342.
Was this
answer
helpful?
Yes
No
Thursday, July 13th, 2023 AT 7:42 PM
Tiny
ELUPER123
  • MEMBER
  • 8 POSTS
Okay. The camshaft sensor was purchased and installed by Future tire automotive In Show Low. I have the intake off and am checking all wires and grounds tomorrow.
Was this
answer
helpful?
Yes
No
Thursday, July 13th, 2023 AT 8:12 PM
Tiny
AL514
  • MECHANIC
  • 5,593 POSTS
Okay, some of these issues with sensor related codes is best diagnosed using an oscilloscope to actually see the signals waveform, and it takes years to learn how to use one, so checking powers, grounds and wire integrity is just about the full amount most people can do. So, it's good to know what the criteria are for the PCM to set the code, because there are quite a few different cam sensor codes alone. But I have seen this same situation where there was a cam code and it turned out to be the crank sensor being the issue. I would really be interested to see if it starts with the cam sensor unplugged. Just for future reference on this year's vehicle. I know it should.
Was this
answer
helpful?
Yes
No
Friday, July 14th, 2023 AT 2:27 PM

Please login or register to post a reply.