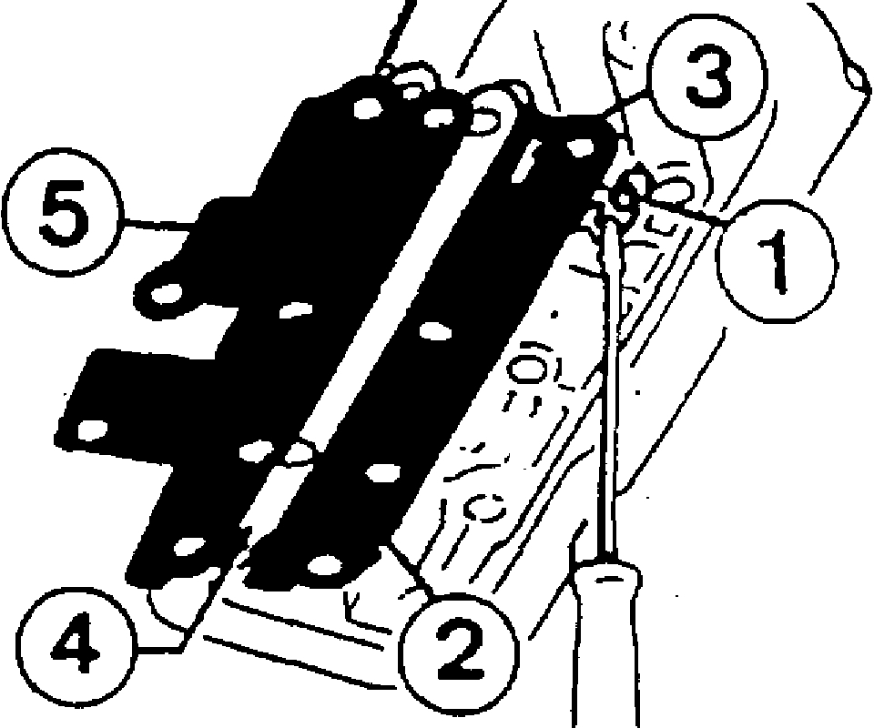
Automatic transmission valve body check balls location

Tiny
LARRY NASON
  • MEMBER
  • 1996 BMW Z3
  • 2WD
  • AUTOMATIC
  • 240,000 MILES
Is there anyway to get a diagram of the check ball locations? Can somebody help me please? I'm desperate.
Friday, May 31st, 2019 AT 9:47 AM

1 Reply

Tiny
STEVE W.
  • MECHANIC
  • 15,679 POSTS
Welcome back. This is what the book shows. 2 check balls in the case and 1 in the transfer case section. The case ball locations are 2 and 3 in image 1, the transfer case is image 2 the check ball is item 1. If you only removed the rear pan then ignore the transfer case ball.
Was this
answer
helpful?
Yes
No
-2
Friday, May 31st, 2019 AT 12:50 PM

Please login or register to post a reply.