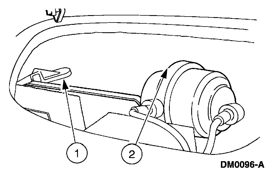
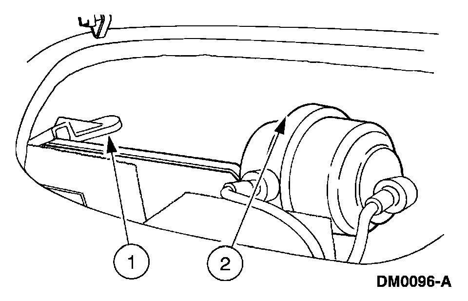
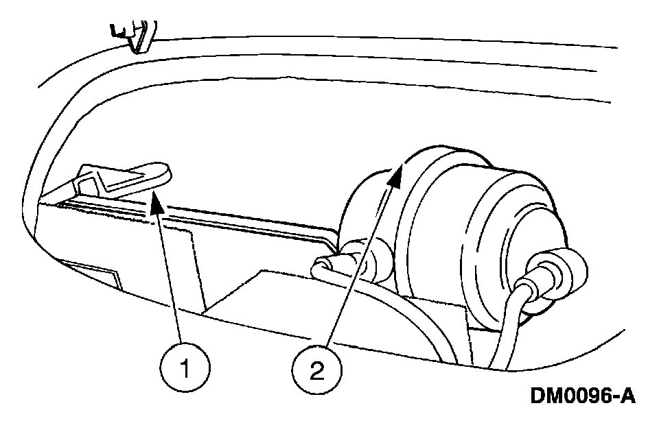
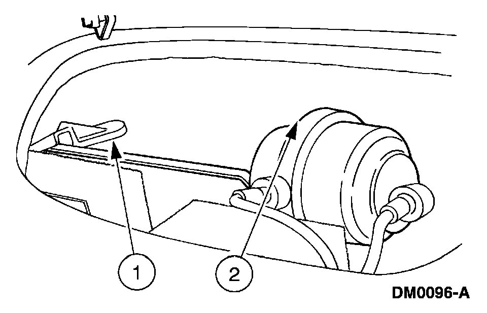
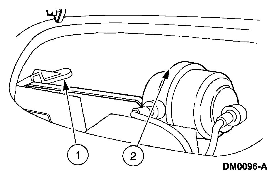
A/C door actuator and check valve location

Tiny
TERRY1670
  • MEMBER
  • 2004 FORD E-SERIES VAN
  • 4.6L
  • V8
  • 2WD
  • AUTOMATIC
  • 118,000 MILES
A/C comes out windshield vent not dash vents.
Tuesday, August 21st, 2018 AT 6:41 AM

6 Replies

Tiny
JACOBANDNICKOLAS
  • MECHANIC
  • 110,192 POSTS
Hi and thanks for using 2CarPros. Com.

I am going to attach the actuator information for all modes. I hope it helps. Please remember, these actuators are run from engine vacuum. If there is a leak, dry rotted hose, disconnected hose they will not work. I feel your primary focus should be on the panel door vacuum motor. The idea that it is going to defrost only indicates to me that it is in a default mode.

VACUUM CONTROL MOTOR - PANEL DOOR (pictures 1-4)

REMOVAL

1. Remove the access panel.
- Use a screwdriver to pry the access panel out.
2. Remove the vacuum line.
3. Remove the two screws.
4. Remove the vacuum control motor.
1 Lift up on the vacuum control motor arm to disengage it from the door crank.
2 Remove the vacuum control motor.

INSTALLATION
1. To install, reverse the removal procedure.

____________________________________________________________

VACUUM CONTROL MOTOR - FLOOR/DEFROST DOOR (pictures 5-8)
REMOVAL
1. Remove the access panel.
- Use a screwdriver to pry the access panel out.
2. Remove the vacuum lines.
3. Remove the two screws.
4. Remove the vacuum control motor.
1 Lift up on the vacuum control motor arm to disengage it from the door crank.
2 Remove the vacuum control motor.

INSTALLATION
1. To install, reverse the removal procedure.
____________________________________________________

Let me know if this helps or if you have other questions.

Take care,
Joe
Was this
answer
helpful?
Yes
No
+1
Tuesday, August 21st, 2018 AT 6:42 PM
Tiny
TERRY1670
  • MEMBER
  • 4 POSTS
Thank you for this information, however your answers say pictures 1-4 and 5-8. I did not receive any pictures in this answer do not know if my computer or not. Were the pictures included with your answer? I installed a backup camera monitor on top of the access panel with small bolts and nuts and think I may have broken a vacuum hose or something else, I will check and see if this might be the problem. Thank you for your time and help.
Was this
answer
helpful?
Yes
No
Tuesday, August 21st, 2018 AT 7:13 PM
Tiny
TERRY1670
  • MEMBER
  • 4 POSTS
Sorry were you talking about the pictures at the end of the recommended guides as the pictures that relate to the answer you sent me. I am brand new on this site and do not know if these were the pictures you were referring to. Again thank you for your help with this problem.
Was this
answer
helpful?
Yes
No
Tuesday, August 21st, 2018 AT 7:16 PM
Tiny
JACOBANDNICKOLAS
  • MECHANIC
  • 110,192 POSTS
Hi again. The pictures I referred to are the ones attached to the post I sent. They are at the bottom of the post. I was having trouble sending them, so please let me know if you got them.

Take care and I will watch for your reply.

Joe
Was this
answer
helpful?
Yes
No
Wednesday, August 22nd, 2018 AT 4:55 PM
Tiny
TERRY1670
  • MEMBER
  • 4 POSTS
I got them today. Thank you again for your assistance.
Was this
answer
helpful?
Yes
No
Wednesday, August 22nd, 2018 AT 7:20 PM
Tiny
JACOBANDNICKOLAS
  • MECHANIC
  • 110,192 POSTS
Glad to help. I just hope this information is what you needed. Let me know if you have other questions or need anything.

Take care,
Joe
Was this
answer
helpful?
Yes
No
+1
Thursday, August 23rd, 2018 AT 9:17 PM

Please login or register to post a reply.