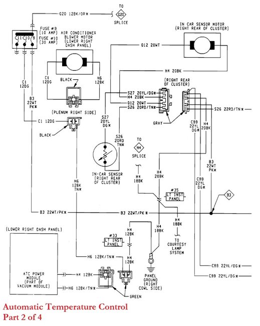
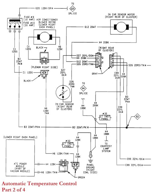
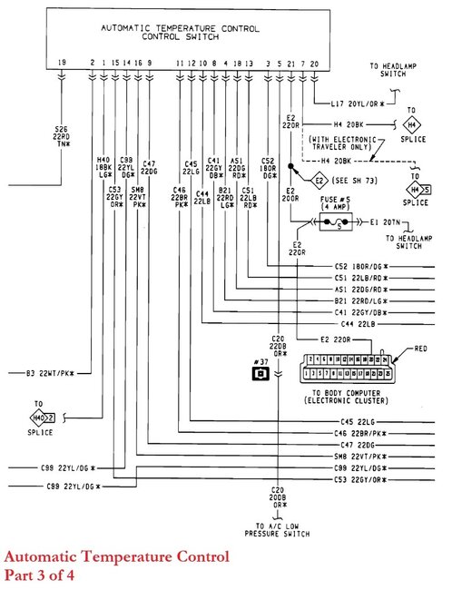
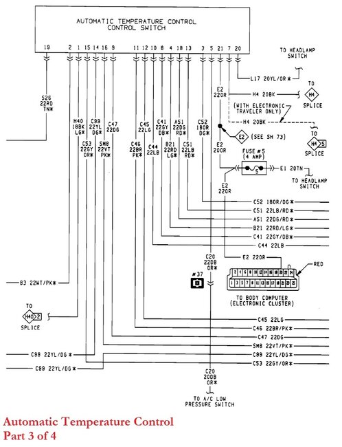
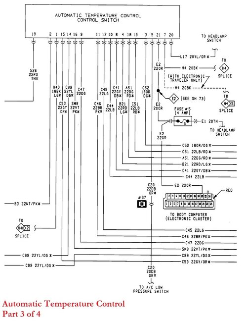
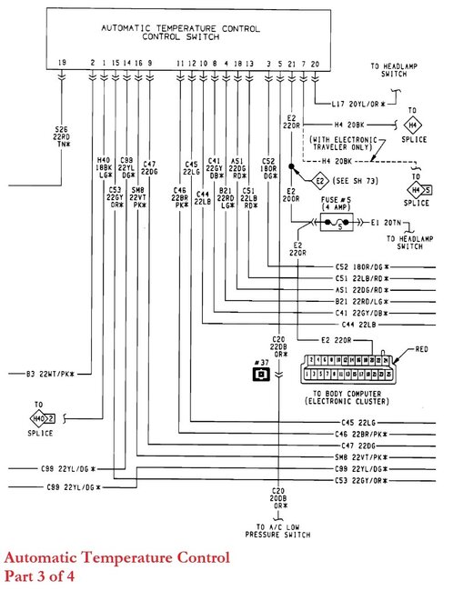
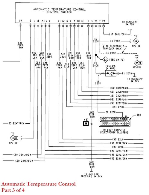
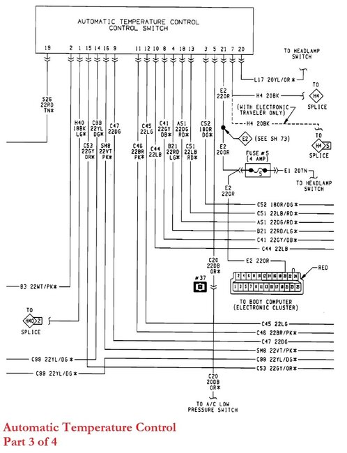
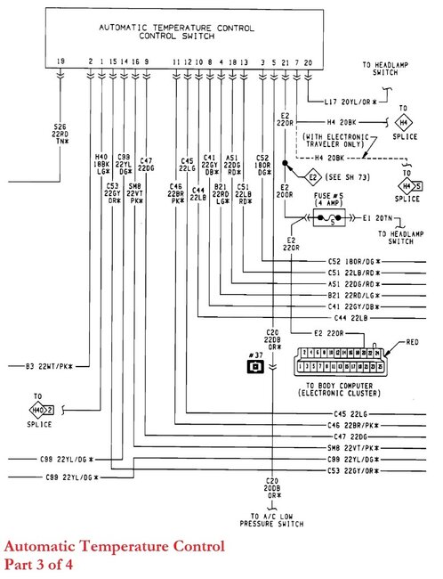
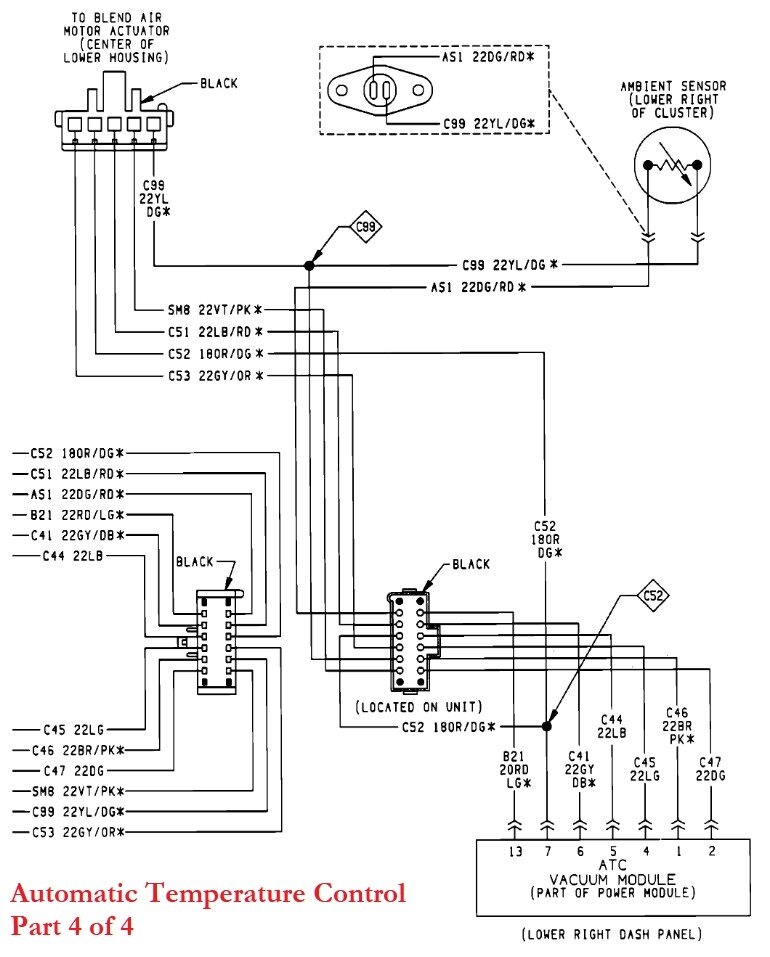
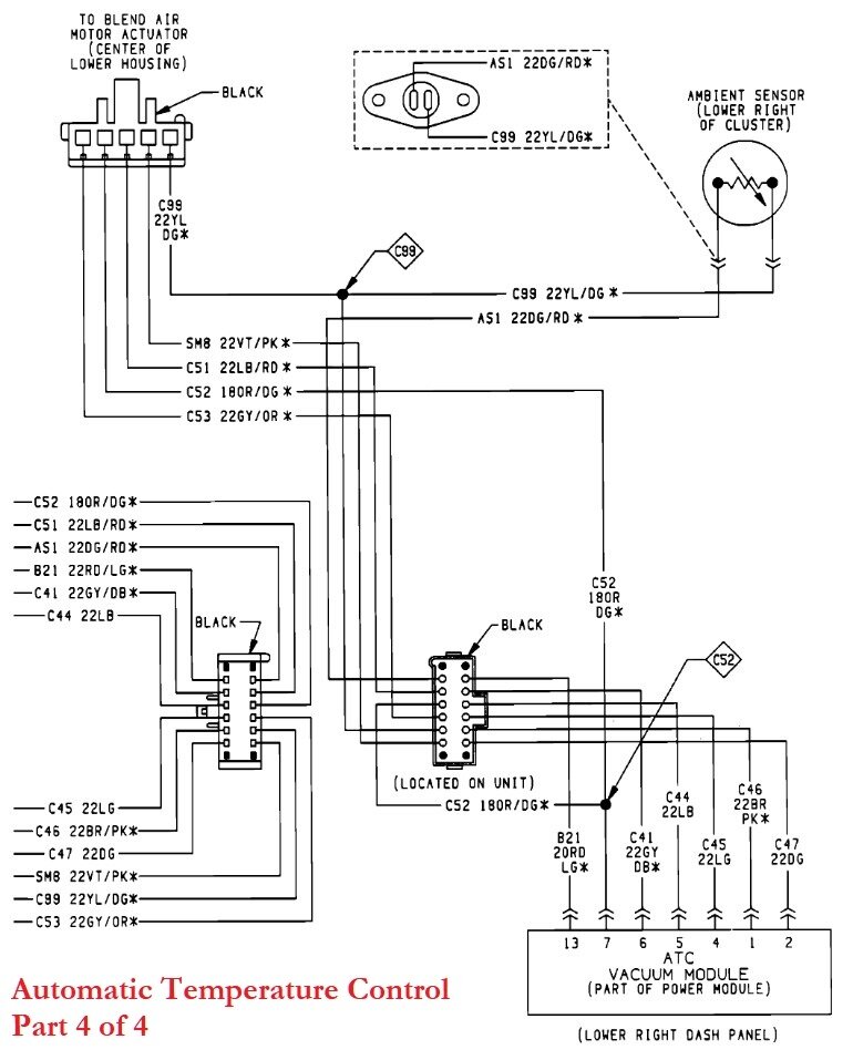
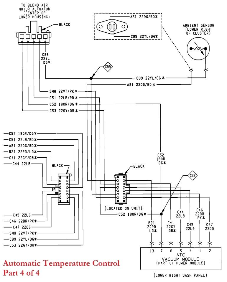
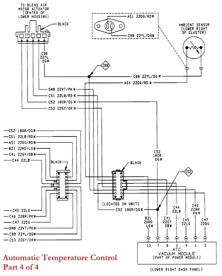
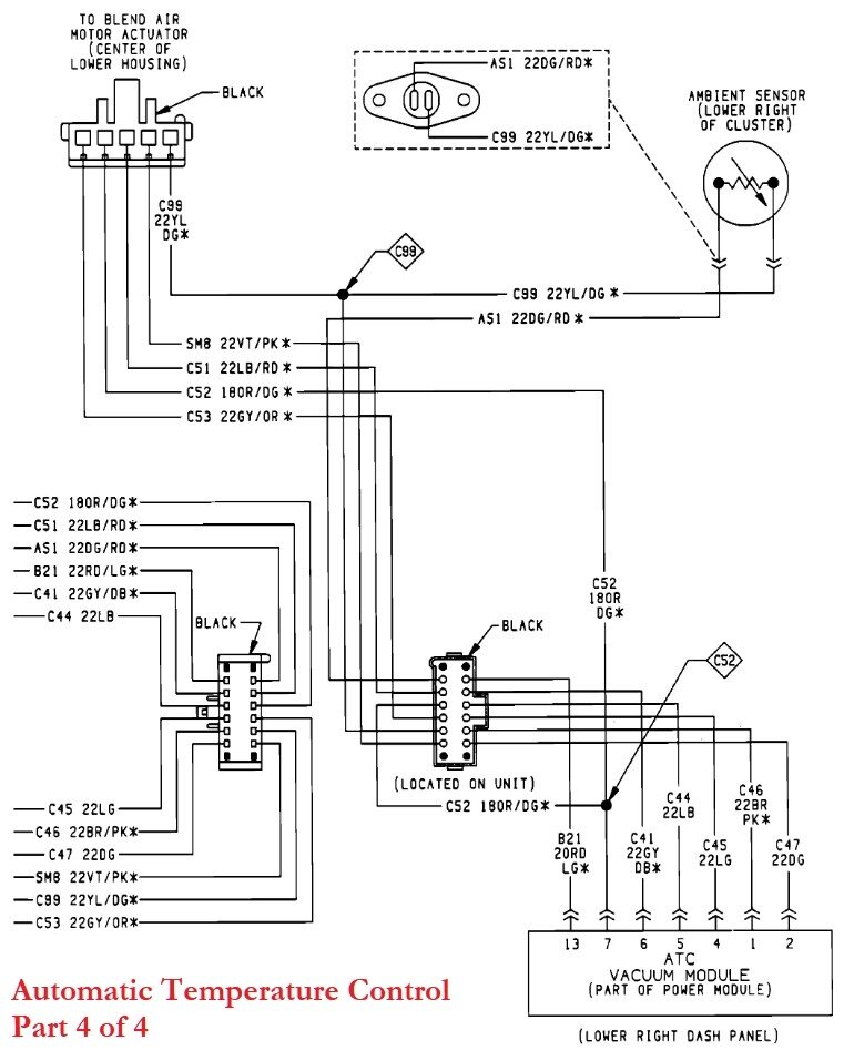
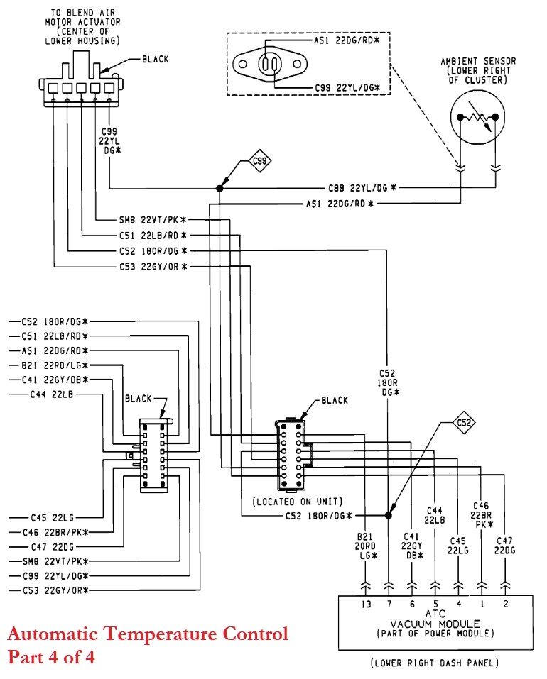
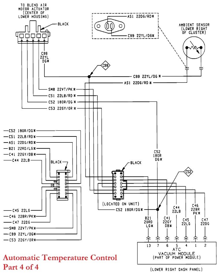
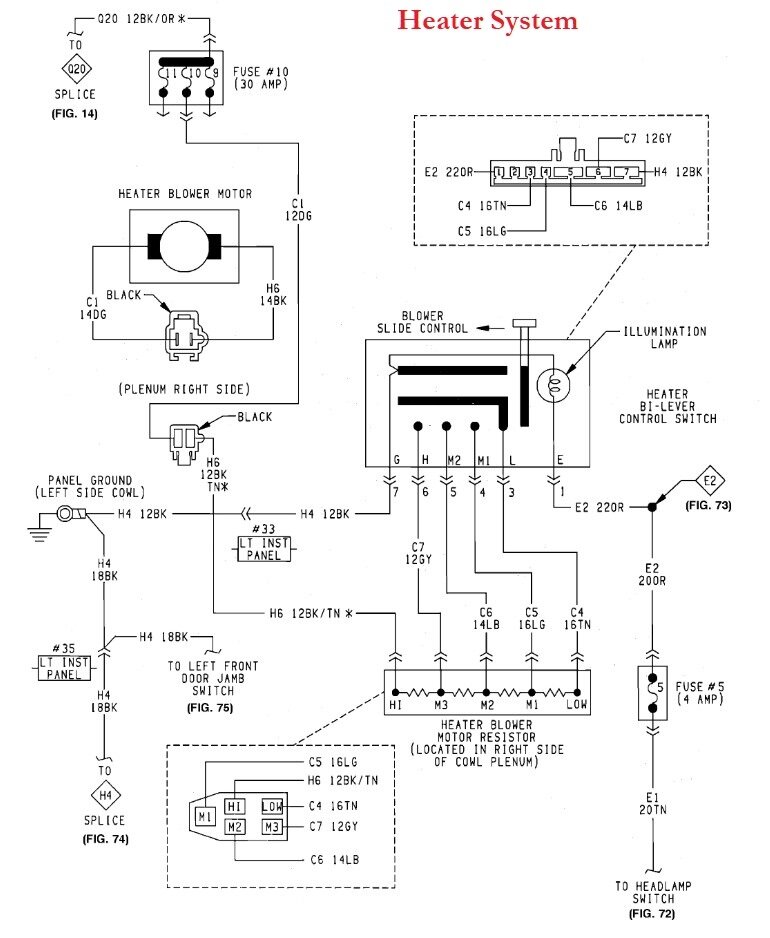
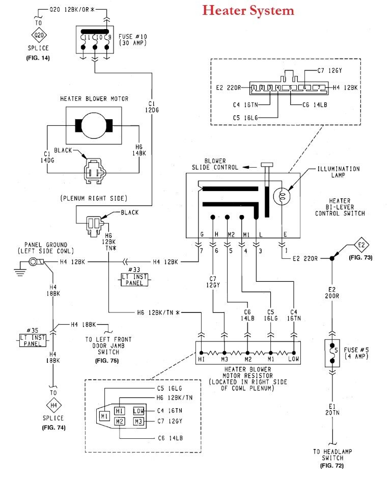
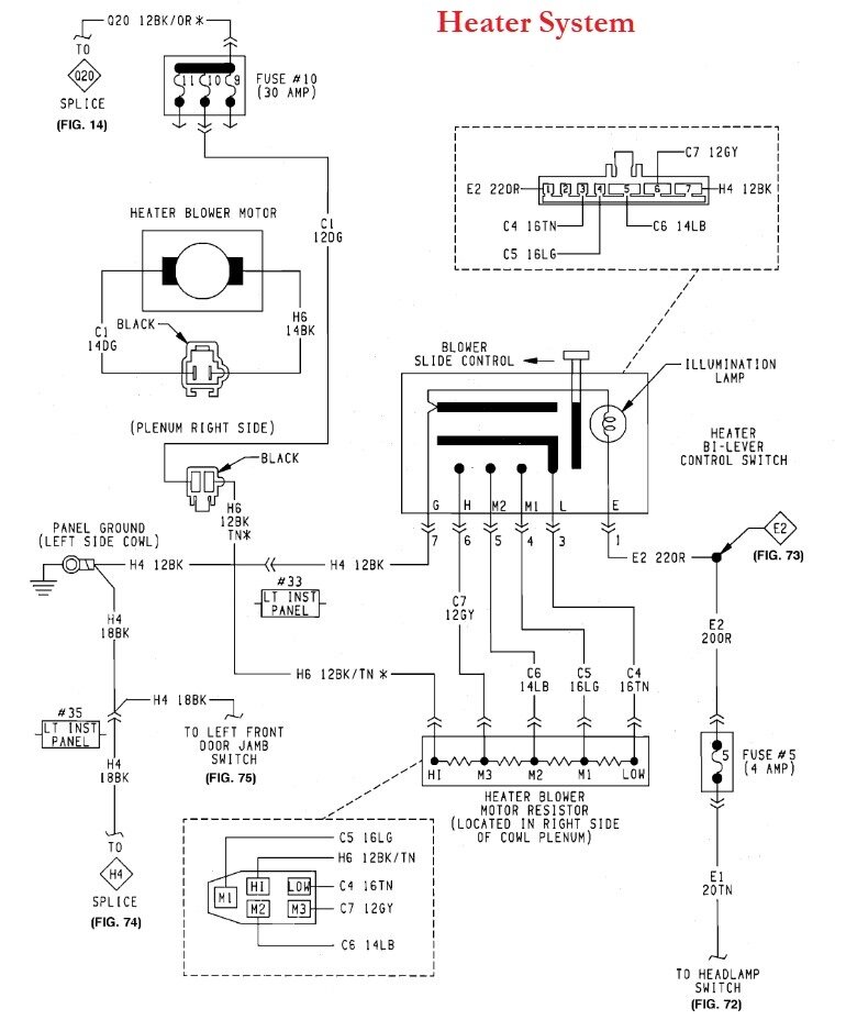
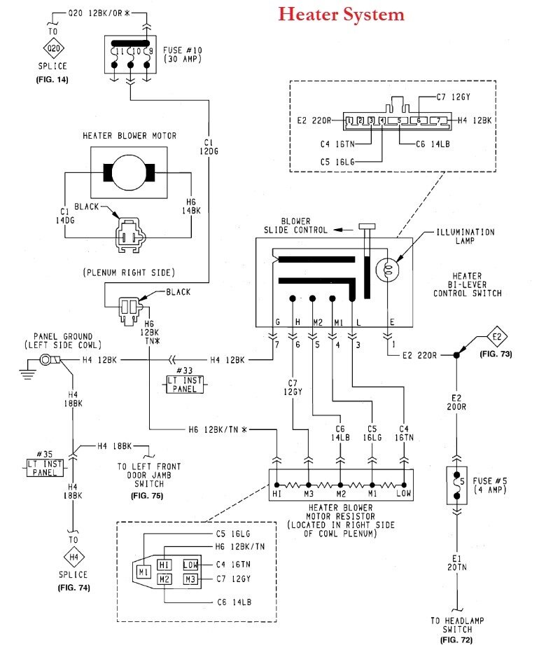
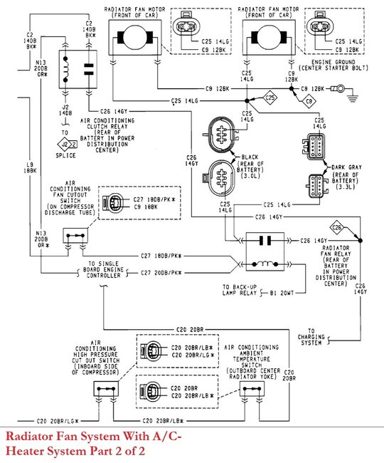
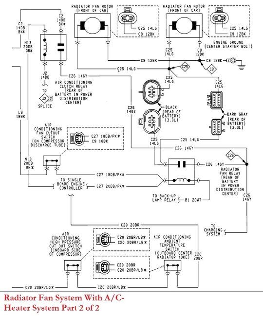
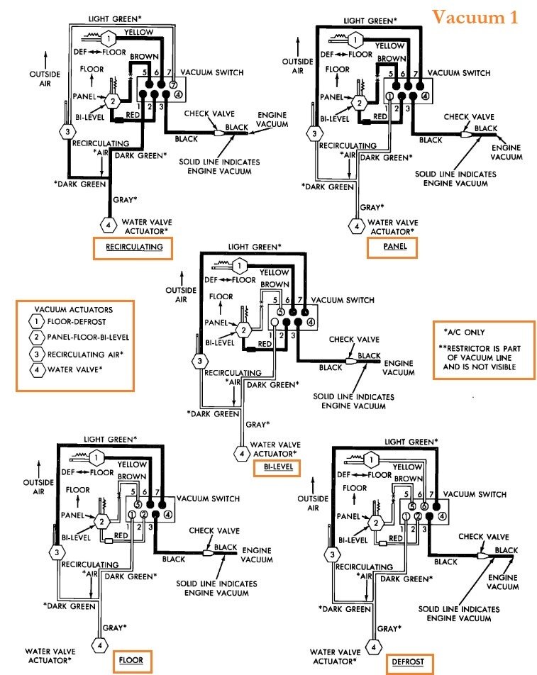
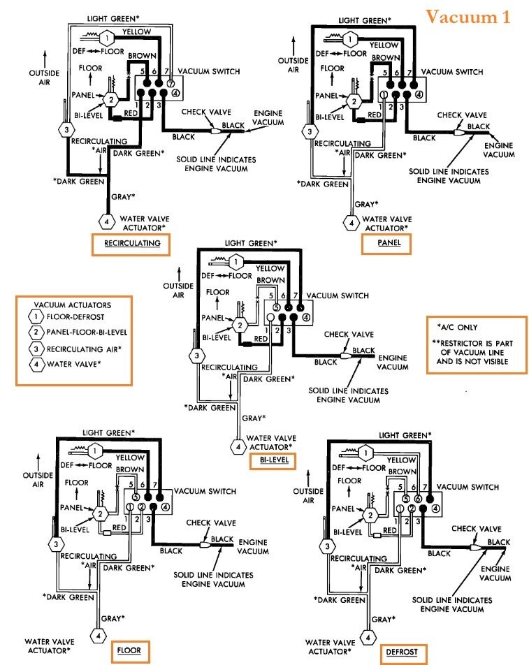
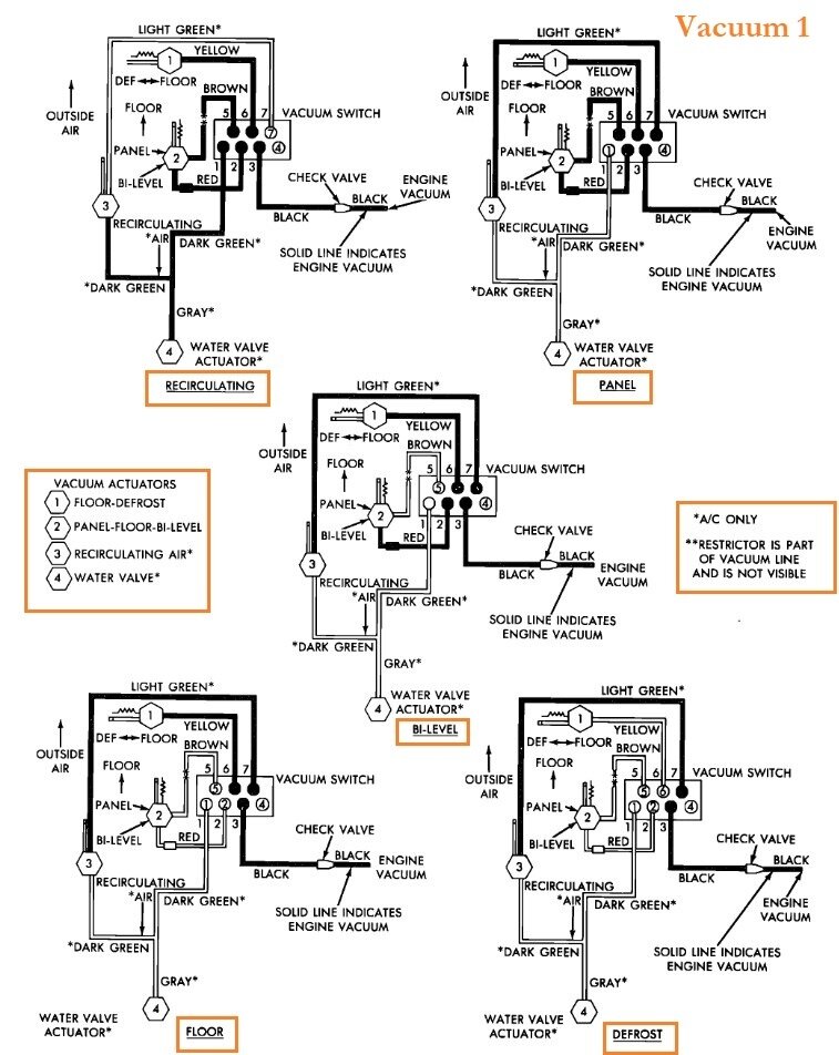
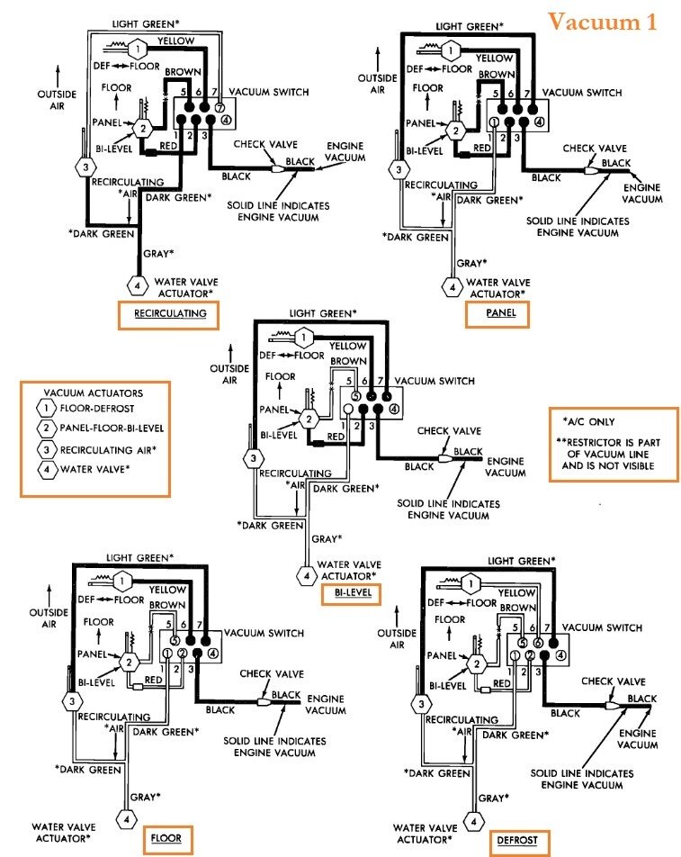
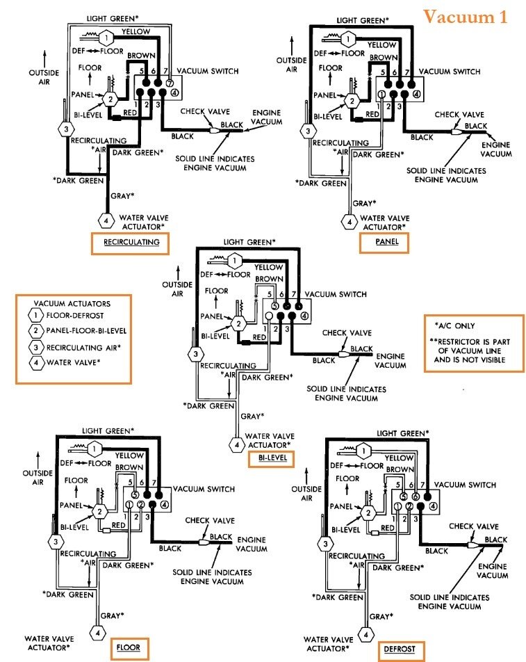
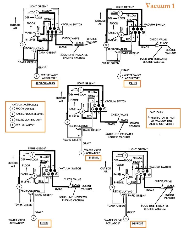
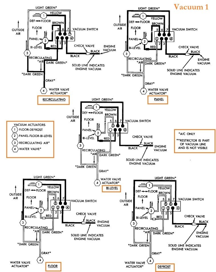
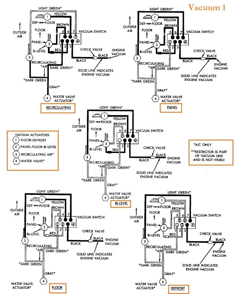
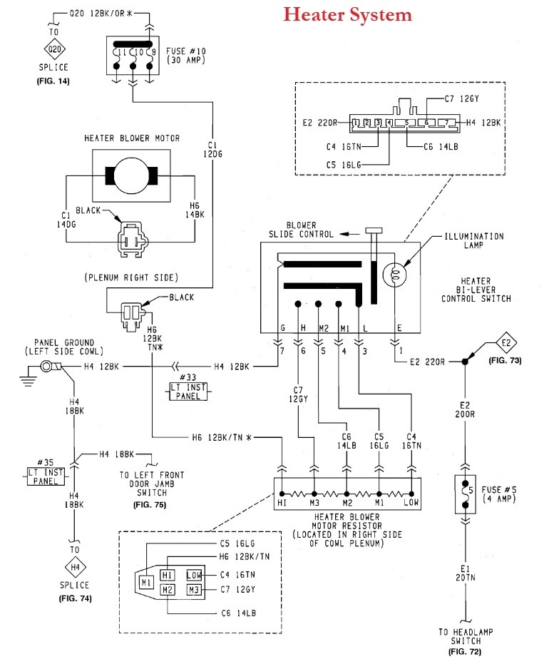
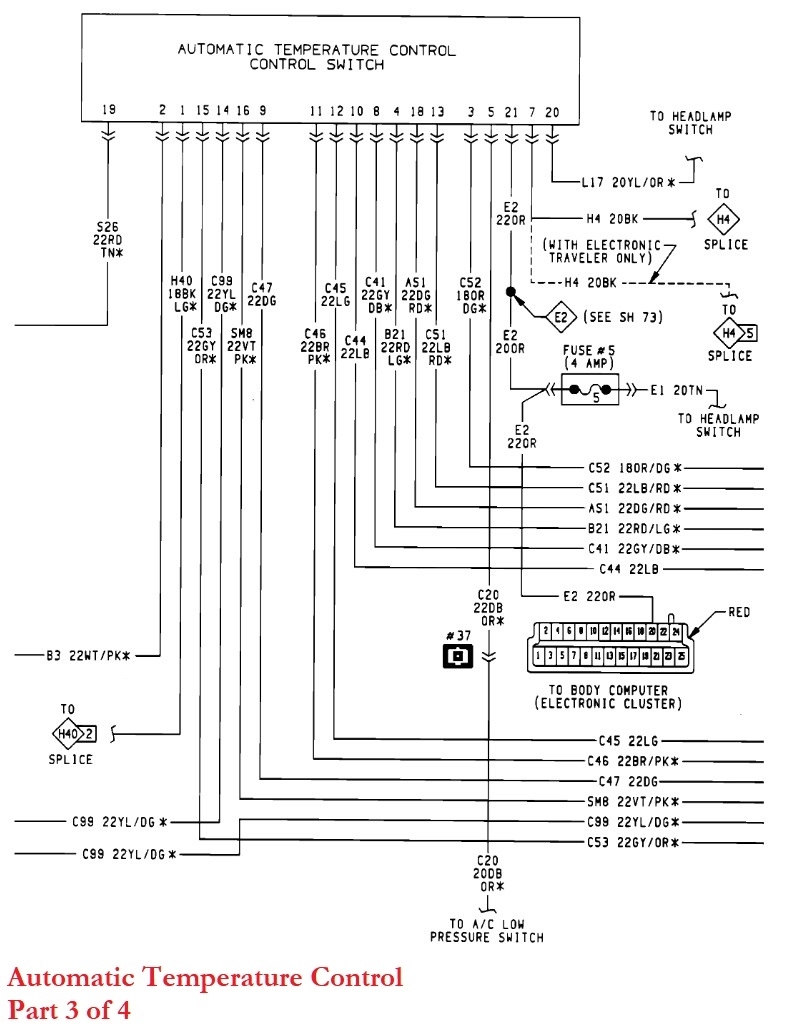
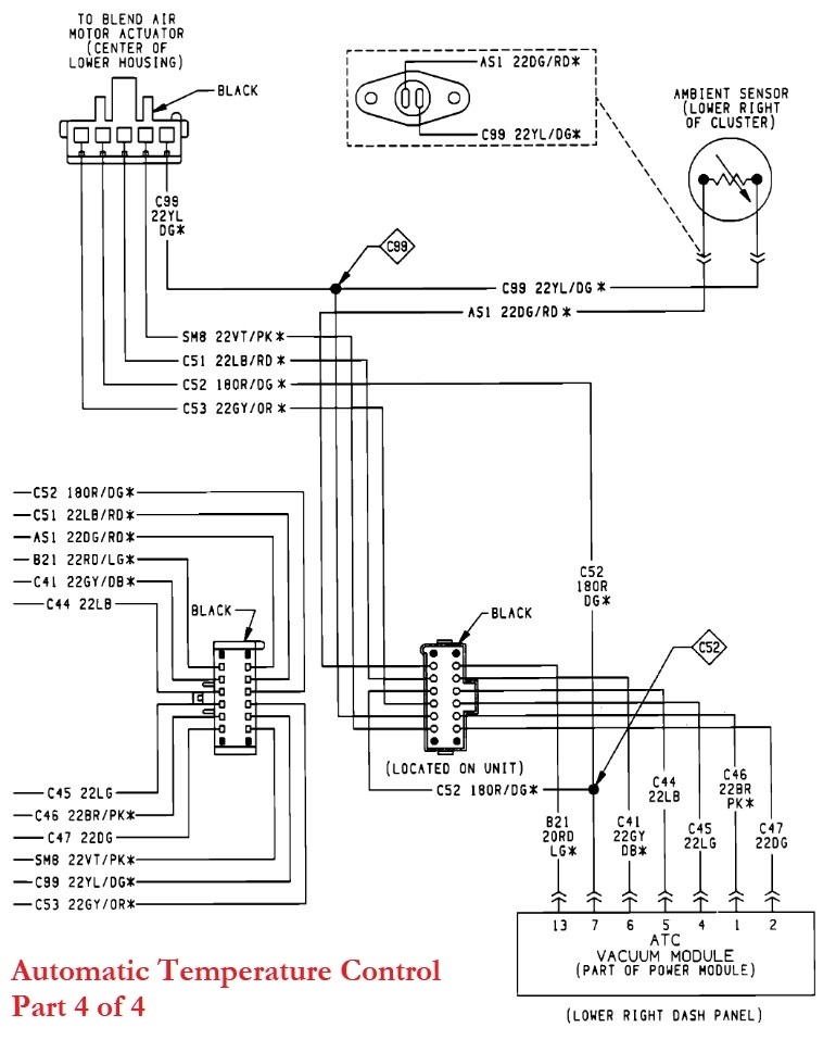
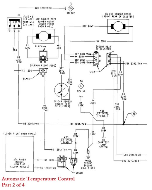
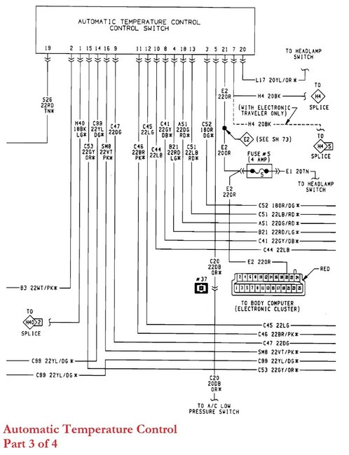
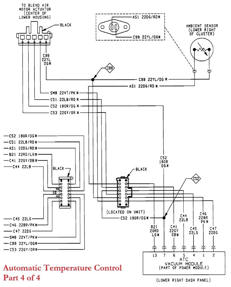
Looking for all technical info about ATC system from 90 Fifth Ave.
I would like to build that system to other Dodge model, looking for temp sensor parameters, vacuum solenoid pinout etc.
Today I have control panel (ATC control module), plug with harness which self maked, temperature door servo.
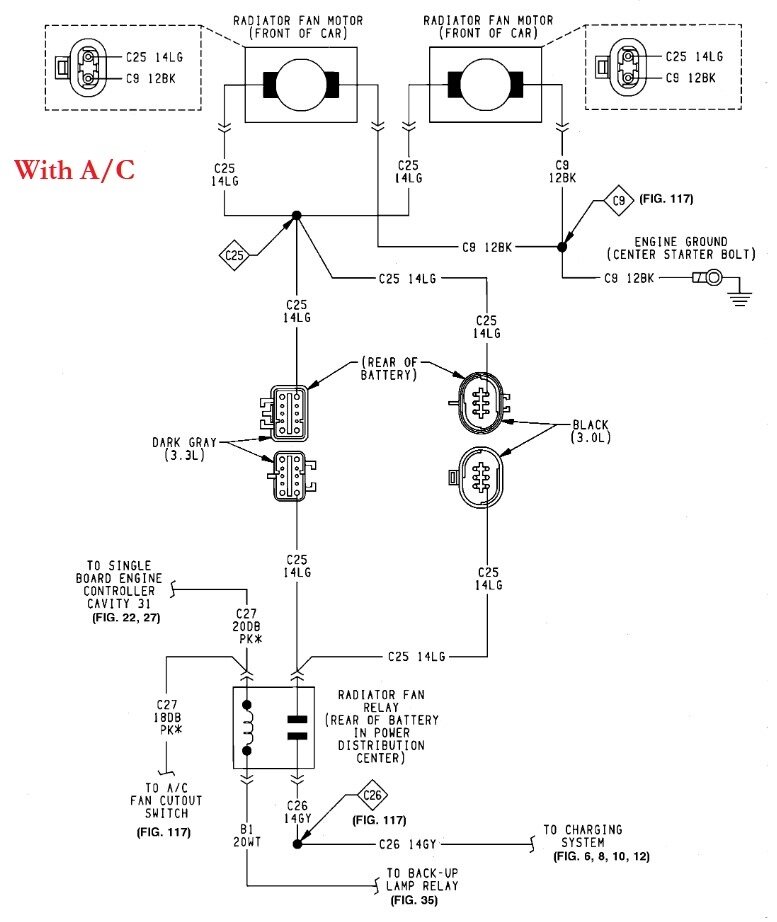
All system wired and connected as I found by logic, controll panel working and reacted for buttons, temperature door servo reacted and working , fan module converted from Jeep - that also working.
Need to know parameter from temperature sensor on car and more info about outside temperature sensor or switch?
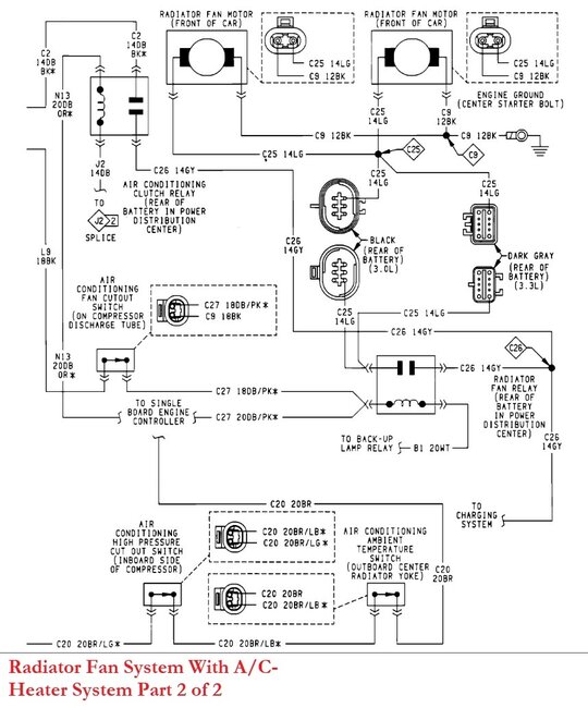
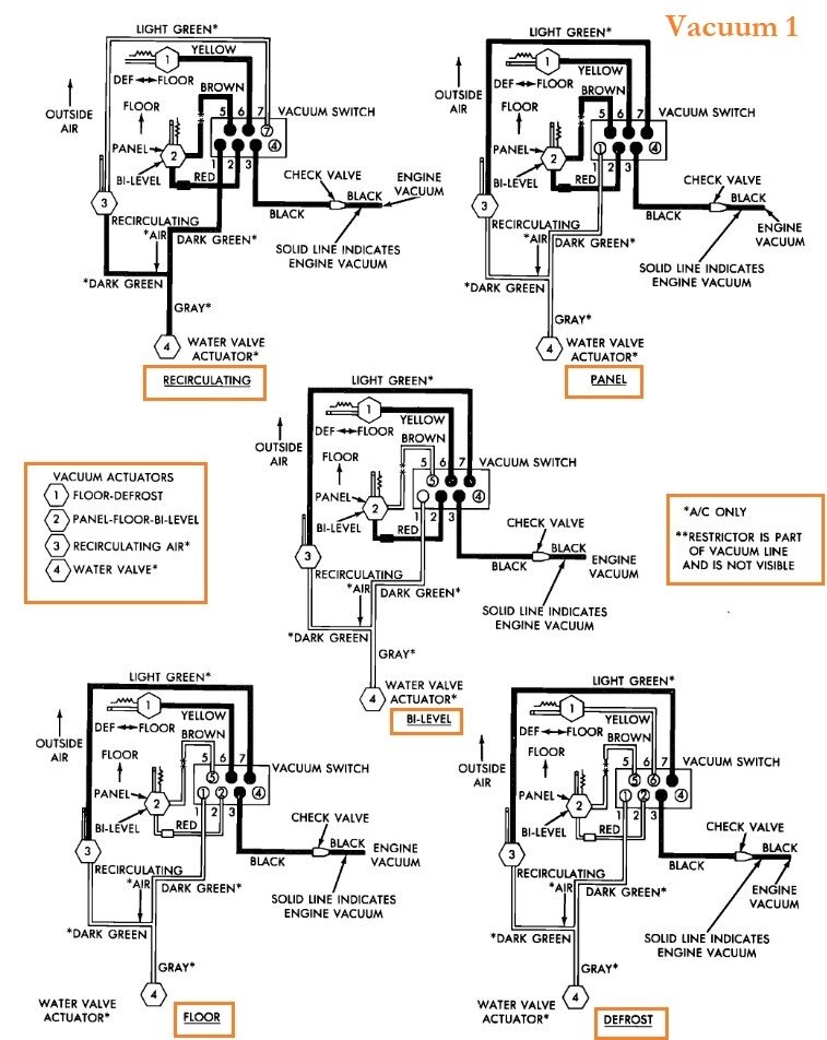
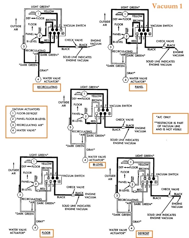
Also thinking about building self vacuum selenoid block - for that need more info or pictures.
Friday, January 3rd, 2025 AT 8:47 AM










































