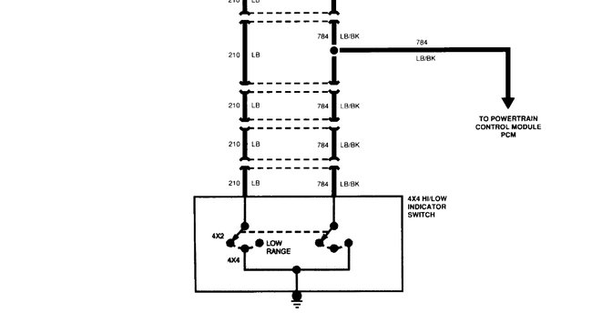
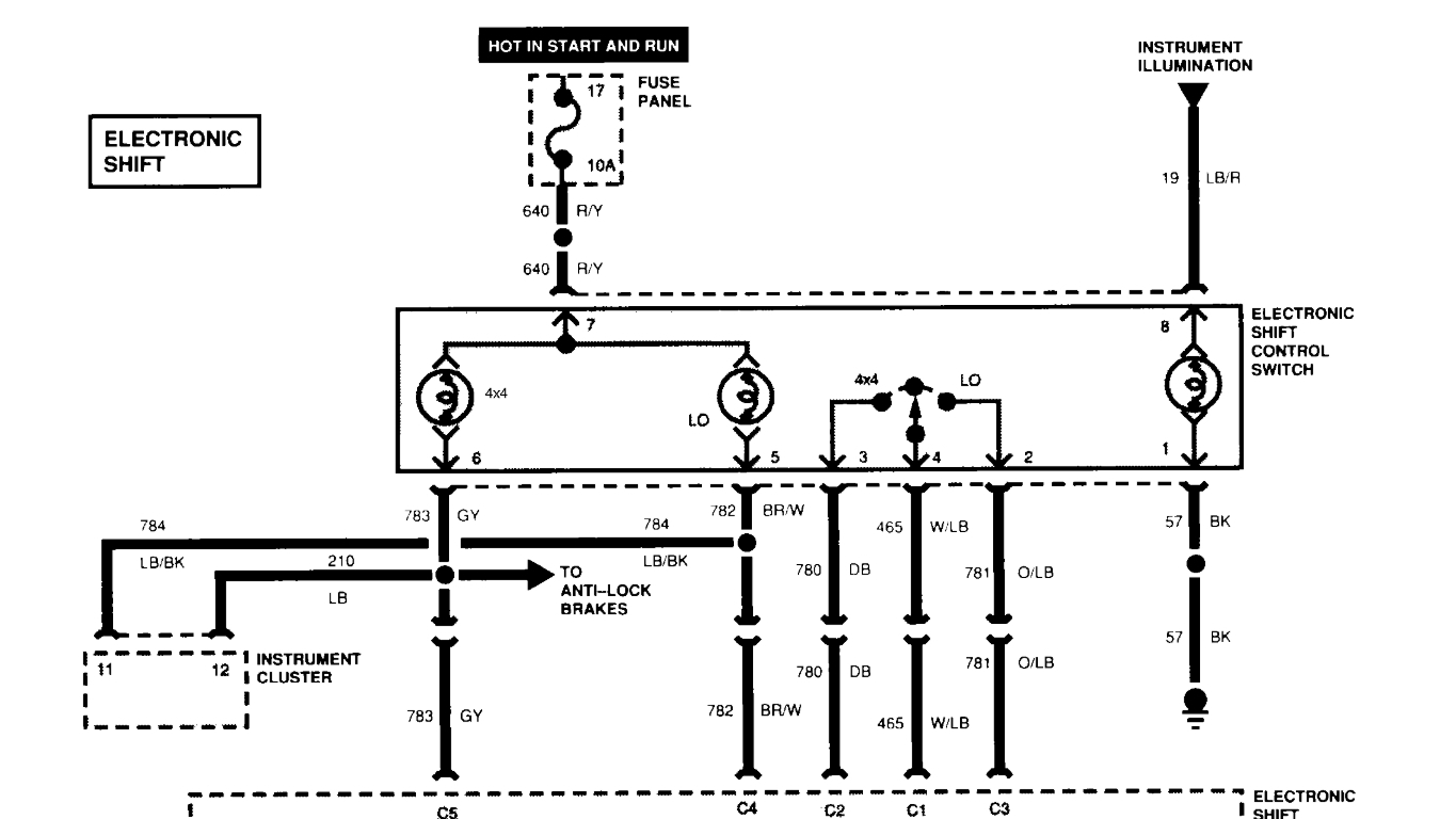
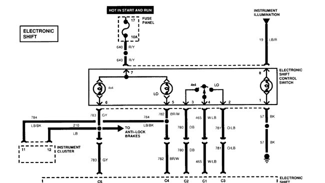
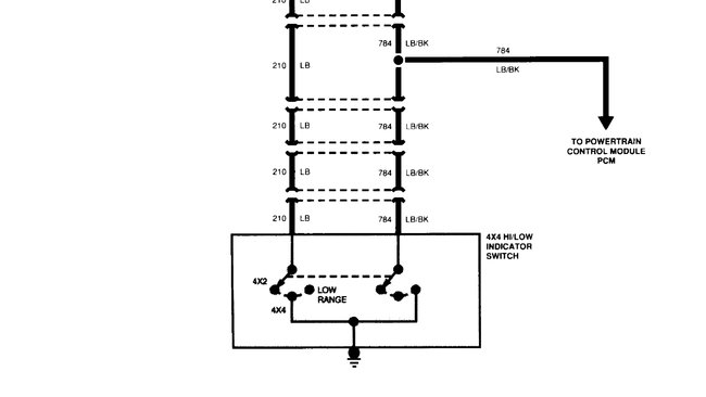
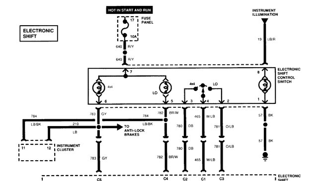
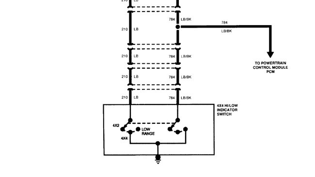
Sounds as if I am in 4wd h all the time. Transfer case shifts normally. Ideas? Module test procedure? Thanks, Norm
Recent front end collision. Has been repaired.
Recent front end collision. Has been repaired.
Feb 20, 2020 at 9:22 AM







