Third brake light not working

Tiny
ZSOLDOS
  • MEMBER
  • 2007 MAZDA 6
  • 1.8L
  • 4 CYL
  • 2WD
  • MANUAL
  • 100,000 MILES
How can I change third brake light bulb?
Monday, April 8th, 2019 AT 4:34 AM

5 Replies

Tiny
JACOBANDNICKOLAS
  • MECHANIC
  • 110,194 POSTS
Welcome to CarPros.

Here are the directions for bulb replacement. You will need to refer the the attached picture for the steps.

HIGH-MOUNT BRAKE LIGHT REMOVAL/INSTALLATION

1. Disconnect the negative battery Cable.
2. Remove the rear spoiler.

See Picture 1

3. Remove in the order indicated in the table.
4. Install in the reverse order of removal.

Let me know if this helps.
Joe
Was this
answer
helpful?
Yes
No
Monday, April 8th, 2019 AT 6:54 PM
Tiny
ZSOLDOS
  • MEMBER
  • 1 POST
There is no spoiler on this car.
Was this
answer
helpful?
Yes
No
Tuesday, April 9th, 2019 AT 11:34 AM
Tiny
JACOBANDNICKOLAS
  • MECHANIC
  • 110,194 POSTS
Welcome back:

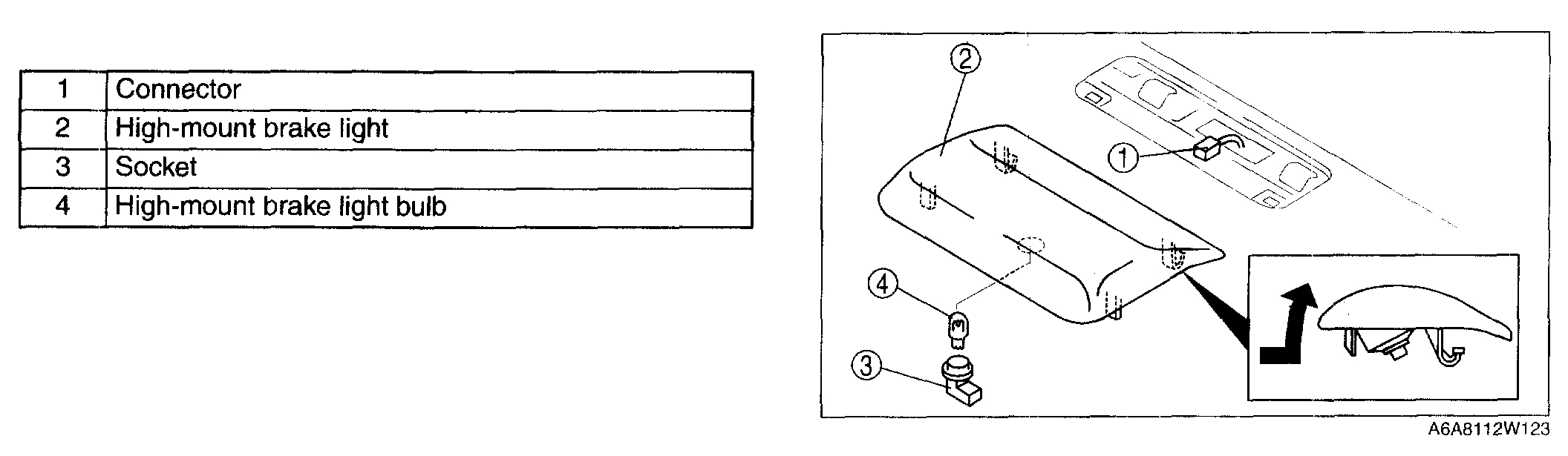
Sorry about that. Here are the directions without a spoiler for the one in the vehicle. See picture 1 for the steps. Also, the cover over the light is clipped into place. You will need to pry it off. Follow the arrows shown in the picture for removal.

HIGH-MOUNT BRAKE LIGHT REMOVAL/INSTALLATION

In-Vehicle-Type
1. Disconnect the negative battery cable.

Picture 1

2. Remove in the order indicated in the table.
3. Install in the reverse order of removal.

Let me know if this is what you needed.

Joe
Was this
answer
helpful?
Yes
No
Tuesday, April 9th, 2019 AT 7:22 PM
Tiny
ZSOLDOS
  • MEMBER
  • 1 POST
Hi,

In such a lamp, how to replace the bulb?

Zsoldos Gyorgy
Was this
answer
helpful?
Yes
No
Friday, April 12th, 2019 AT 10:15 AM
Tiny
JACOBANDNICKOLAS
  • MECHANIC
  • 110,194 POSTS
I attached a picture of the bulb type that should be in the vehicle. It simply pulls out and pushes in.
Was this
answer
helpful?
Yes
No
Friday, April 12th, 2019 AT 7:54 PM

Please login or register to post a reply.