Wednesday, February 9th, 2011 AT 5:17 AM
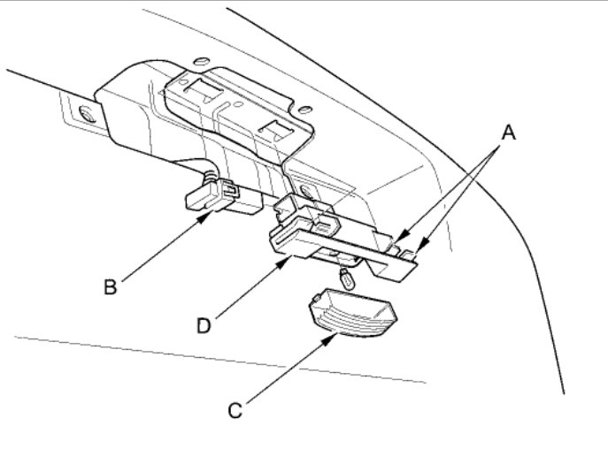
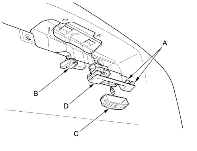
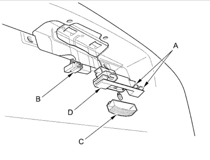
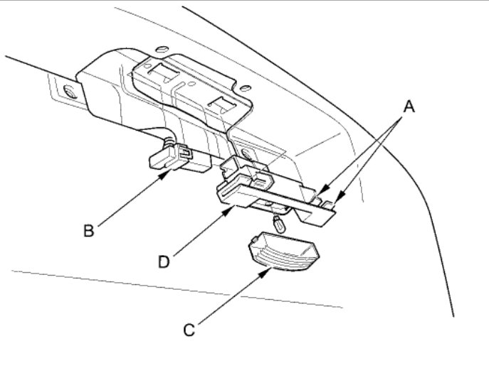
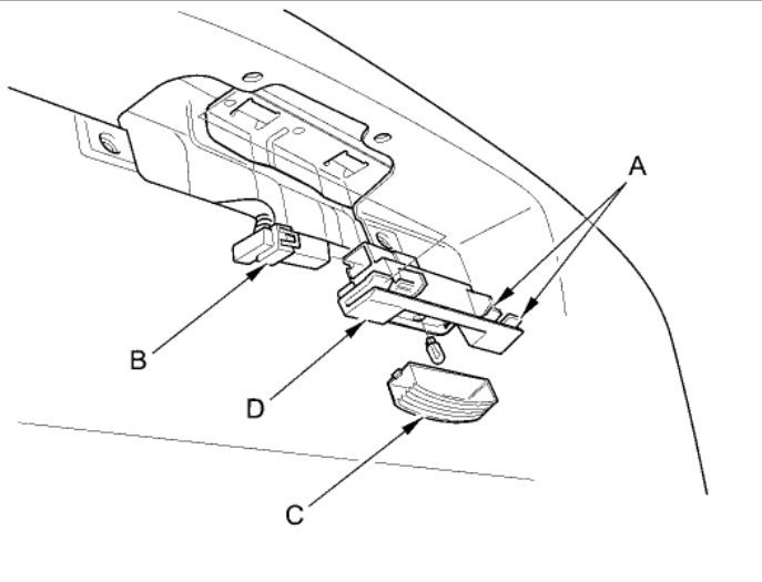
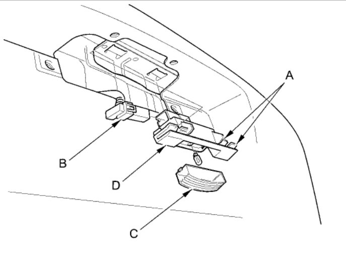
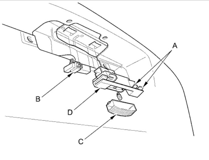
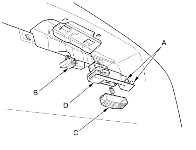
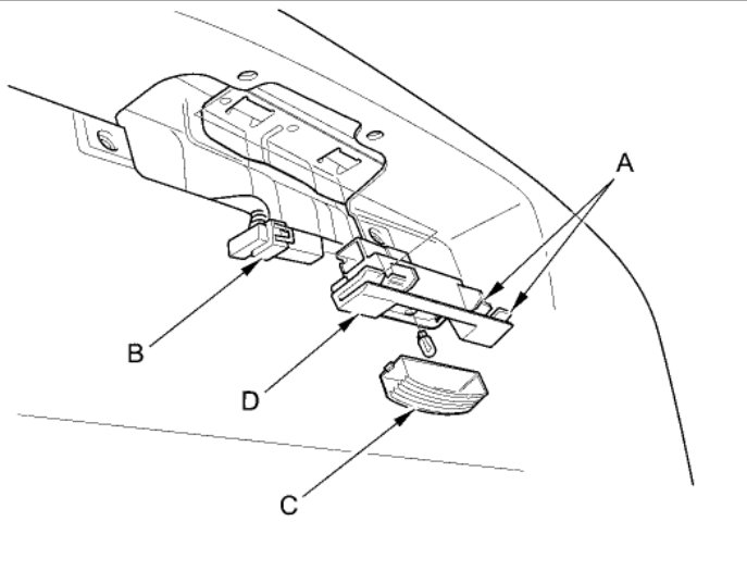
How do I change a license plate bulb on honda accord coupe 2011 Getting a screw driver in to remove the lens is very difficult. It would help to know how remove the lens. I have tried various flat tip screw drivers and none appear to provide an angle suitable for smoothly removing the lens.



