Rear brake pads?

Tiny
SHARKY1977
  • MEMBER
  • 2009 CHEVROLET UPLANDER
  • 68,000 MILES
About 5 weeks ago I took my van in for it's semi-annual inspection. I also told them I was having brake pedal issues. After inspecting they found the rear pads needed replacing, and rotors needed machining. I authorized them to do the work. Took it for a test drive and the pedal was still not right. After some diagnostic test there were no codes. The mechanic took it for another drive with a portable diagnostic machine and it coded inoperative electronic brake and traction control. Diagnostic chart recomended replacing BPMV valve and EBCM. After replacing these parts they bled the lines, topped off brake fluid and road tested ok. Also they did a brake through service, I'm wondering what all they did with that? We went on holidays for a couple of weeks and I noticed the brake pedal was still not functioning properly. There were a lot of hills were we were and over a couple weeks the pedal would go almost to the floor while braking downhill. On flat ground it would be very hard to push. Infact the brakes had failed completely while my Mom was driving down the hill with my niece. She had to make a quick right turn onto someone's property to avoid a collision with trees and a building, never mind the potential to go off a cliff! As you can imagine I did not want to drive the van, my brother was visiting and drove it home for me safely. I then had it towed to the dealership. I am now waiting after 3 days of being in to see what is going on. They first told me the brake fluid is contaminated and would have to replace all components with rubber on them. Now they are waiting 4-5 days to test it, and if it's not contaminated they say it's the master cylinder that will need replacing. My question is if it is contaminated would they not be the ones responsible for that since they were the last ones to service my brakes? Is there anyway to hold them accountable for that? From the research I've been doing it would not take long for the damage to occur. I've been living here for a year and no one else has worked on my van. My mileage is 68000 km. Thanks in advance for any info.
Thursday, August 1st, 2013 AT 6:36 AM

19 Replies

Tiny
CARADIODOC
  • MECHANIC
  • 34,490 POSTS
Hello,

Here is a guide to help walk you through the job with instructions below to show you how to do the job on your car.

https://www.2carpros.com/articles/how-to-replace-rear-brake-pads-and-rotors

Check out the diagrams (Below). Please let us know if you need anything else to get the problem fixed.
Was this
answer
helpful?
Yes
No
+1
Thursday, August 1st, 2013 AT 11:42 AM
Tiny
RAUL VARELA
  • MEMBER
  • 2 POSTS
  • 2007 CHEVROLET UPLANDER
  • 6 CYL
  • 2WD
  • AUTOMATIC
  • 85,000 MILES
Can't compress brake calipers to get the new disc pads to fit.
Was this
answer
helpful?
Yes
No
Saturday, May 23rd, 2020 AT 1:46 PM (Merged)
Tiny
MERLIN2021
  • MECHANIC
  • 17,250 POSTS
You need to screw them in with a tool available at Autozone for free rental...screw it in clock wise and line up the dimples this way:


https://www.2carpros.com/forum/automotive_pictures/62217_rearcal_1.jpg

Was this
answer
helpful?
Yes
No
+2
Saturday, May 23rd, 2020 AT 1:46 PM (Merged)
Tiny
BUCK61
  • MEMBER
  • 1 POST
  • 2007 CHEVROLET UPLANDER
  • 6 CYL
  • FWD
  • AUTOMATIC
  • 70,000 MILES
I was able to replace front pads no problem. The caliper on rear want compress for new pads. Does rear caliper need to screw in?
Was this
answer
helpful?
Yes
No
Saturday, May 23rd, 2020 AT 1:46 PM (Merged)
Tiny
WRENCHTECH
  • MECHANIC
  • 20,761 POSTS
Yes, you do have to thread it back in while applying pressure. There is a ratchet mechanism in there for the parking brakes.

They make a number of different tools for doing that as you need to be real careful not to tear the boot.

Here are a couple examples of the tools.


https://www.2carpros.com/forum/automotive_pictures/561653_Rear_disc_adjusting_tool_KD3163_3.jpg



https://www.2carpros.com/forum/automotive_pictures/561653_rear_brake_caliper_kit_in_use_3.jpg



https://www.2carpros.com/forum/automotive_pictures/561653_rear_brake_caliper_tool_3.gif

Was this
answer
helpful?
Yes
No
+4
Saturday, May 23rd, 2020 AT 1:46 PM (Merged)
Tiny
2CP-ARCHIVES
  • MEMBER
  • 4,540 POSTS
  • 2007 CHEVROLET UPLANDER
  • 115,000 MILES
On my 2007 Uplander Van I need to replace the rear pads. I can't get the caliper depressed. What do I need to do? I bought a new screw ratchet but do you put pressure on it when you are trying to turn it?
Was this
answer
helpful?
Yes
No
Saturday, May 23rd, 2020 AT 1:46 PM (Merged)
Tiny
HMAC300
  • MECHANIC
  • 48,601 POSTS
You need a tool to screw them back in as the parking brake uses the piston as well. You will have to disconnect the parking brake from caliper.
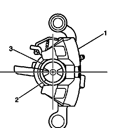
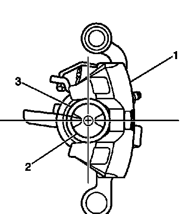
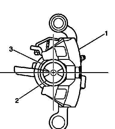
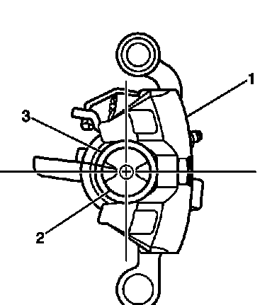
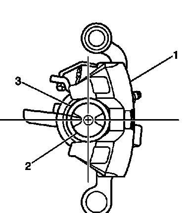
Fig. 23: Rotating Piston In Caliper Body
Courtesy of GENERAL MOTORS CORP.

1. Retract the brake caliper piston (2) into the brake caliper bore. Use a suitable spanner type wrench and turn the piston clockwise until it bottoms out fully in the brake caliper (Mac Tools DBC 25 C 2500 MA
Disc Brake Caliper Tool Set,  or equivalent).
2. Align the indents on the piston face to match the pin on the back of the inboard brake pads.
3. Install the brake pad retainers into the brake caliper bracket.
4. Install the inboard and outboard brake pads into the brake caliper bracket insuring that the pad with the metallic wear sensor is placed on the inboard side of the bracket.
5. Slide the caliper onto the bracket insuring that the bracket guide boots are not damaged.

NOTE: Refer to Fastener NoticeÂ.

6. Insert the brake caliper bolts.
Was this
answer
helpful?
Yes
No
+2
Saturday, May 23rd, 2020 AT 1:46 PM (Merged)
Tiny
CPI1938
  • MEMBER
  • 1 POST
  • 2006 CHEVROLET UPLANDER
  • 6 CYL
  • FWD
  • AUTOMATIC
  • 52,000 MILES
What has to be done to replace rear pads do you need special tools
Was this
answer
helpful?
Yes
No
-1
Saturday, May 23rd, 2020 AT 1:46 PM (Merged)
Tiny
42HOTROD12
  • MEMBER
  • 7 POSTS
Yes you need a tool that will compress and turn the piston in the caliper at the same time but you should be able to rent this tool at your losal parts store
Was this
answer
helpful?
Yes
No
Saturday, May 23rd, 2020 AT 1:46 PM (Merged)
Tiny
DENNYK2000
  • MEMBER
  • 1 POST
  • 2006 CHEVROLET UPLANDER
  • 3.4L
  • 6 CYL
  • FWD
  • AUTOMATIC
  • 106,000 MILES
2006 Chevy Uplander, Can a bad rear brake caliper cause your ABS system to malfunction? ABS light came on and brakes pulsate when braking(you feel and hear it). Ran into this issue 3 months ago, changed out the rear brake pads (just because I noticed they were thin) and noticed that one pad was worn more than others. Did not think much of it, changed pads and problem went away. Now pulsating is back. Will a caliper that is sticking cause this pulsating and ABS light to come on? Thanks
Was this
answer
helpful?
Yes
No
Saturday, May 23rd, 2020 AT 1:46 PM (Merged)
Tiny
CARADIODOC
  • MECHANIC
  • 34,490 POSTS
Nope. When you're hearing and feeling the pulsing, that's due to the system activating, and that part is normal. The first thing is to have the diagnostic fault codes read and recorded. When the yellow ABS warning light is on, the computer has detected a problem, turned the system off, and set a diagnostic fault code to indicate the circuit or system that needs further diagnosis.

A real common cause of false activation on GM trucks is rust buildup under the front wheel speed sensors. Your front and rear wheel bearings come with the same sensors used on front-wheel-drive cars, and they've been causing a real lot of problems. Those sensors develop rather wimpy signals to start with, then just a little play develops in the bearings, which is common on all car brands, but that is enough for the speed signals being generated to be reduced even more until the computer can't read them. This is not an electrical problem, as in a broken wire. That is all okay, and the computer proves that by its self-tests when you turn on the ignition switch. This is a mechanical problem that is going to keep occurring. A lot of people report new wheel bearings develop the same problem in as little as 15,000 miles.

It's important to note that this problem will be detected while you're driving with your foot off the brakes. When you feel the brake pedal pulsing, the system is responding to the missing wheel speed signal and is interpreting that as that wheel is about to lock up and skid. The warning light won't be on if the system is activating. While driving, the computer expects to see four equal wheel speeds. When the signal is missing from one, or it is so weak it reads that as the wheel is going slower than the others continuously while you're driving, it knows that tire isn't skidding constantly. It figures out something is wrong with that sensor by comparing it to the other signals, then sets the fault code for a missing signal for that wheel.

A real common problem that owners cause for themselves is when they wait many months to have this fixed. Whatever is happening to the left front wheel bearing is also happening to the right one, so it too is likely to develop the same problem at roughly the same mileage. The problem is that since the computer constantly compares all four wheel speeds to each other, when the first fault code sets, the computer knows it can't use that as a reference, so it suspends all the other self-tests that rely on that signal. While you're procrastinating getting it fixed, the other front bearing might develop the same issue, but since the self-tests have been suspended, a second fault code related to the second wheel might not set. All the mechanic has to go on when calculating an estimate for repair is the one fault code. After he replaces that first wheel bearing / sensor assembly, and goes out for a test drive, the self-tests resume, and that's when the second problem is detected. The warning light turns right back on again, and he has to start the diagnosis all over again. Then he has to tell you more parts are needed. We really hate having to do that, and it's frustrating for car owners. You incorrectly assume he is incompetent or out to squeeze more money out of you. You have enough trouble already dealing with a manufacturer that puts profits way ahead of customer satisfaction, but this issue can be avoided by either having the first problem repaired right away, or if this is indeed a wheel bearing concern, have both front bearings replaced at the same time.

Also be aware that in the past the rear wheel speed sensors didn't cause much trouble, so now your vehicles uses the same front bearings on the rear. Logic would dictate they will also develop that little play that is the cause of all this, but I wouldn't be too quick to have them replaced unless that is what the fault code points to. The front bearings are under much more stress from cornering forces and from holding up the weight of the drive train. The rear bearings should last longer than the front ones.

Also be aware that reputable repair shops give you back your old parts or make them available to you. On the front-wheel-drive cars, we were replacing numerous front wheel bearings every week, and we found that these bearings WITH the speed sensors cost less than the exact same bearings without the sensors. All we bought was bearings with the sensors because on the cars without anti-lock brakes, you just didn't connect the sensors. Next, since so many of these bearings had such low miles when they caused ABS problems, we started saving the old ones to give to people who needed a new bearing but not the sensor. If you look in the dealers' scrap metal bins, you'll see dozens of these bearings, and most of them would work just fine on non-ABS cars.
Was this
answer
helpful?
Yes
No
+2
Saturday, May 23rd, 2020 AT 1:46 PM (Merged)
Tiny
MIKKED
  • MEMBER
  • 2 POSTS
  • 2006 CHEVROLET UPLANDER
Brakes problem
2006 Chevy Uplander 6 cyl Two Wheel Drive Automatic

having problems getting rear brakes to compress
Was this
answer
helpful?
Yes
No
Saturday, May 23rd, 2020 AT 1:46 PM (Merged)
Tiny
BLUELIGHTNIN6
  • MECHANIC
  • 16,542 POSTS
If you mean the rear brake caliper pistons you have to use a special service tool to rotate the piston into the caliper
Was this
answer
helpful?
Yes
No
Saturday, May 23rd, 2020 AT 1:46 PM (Merged)
Tiny
HART DINKINS
  • MEMBER
  • 1 POST
  • 2005 CHEVROLET UPLANDER
Brakes problem
2005 Chevy Uplander 6 cyl Two Wheel Drive Automatic

What can I use to reset my rear disc brake piston short of buying an expensive reset tool?
Was this
answer
helpful?
Yes
No
Saturday, May 23rd, 2020 AT 1:46 PM (Merged)
Tiny
SNAPONADDICT
  • MEMBER
  • 5 POSTS
Sorry but you have to buy a tool to colapse the rear calipers the good news is it is not that expensive and you can get it at most part stores it is called a rear brake piston tool and it looks like a little cube it has two small coggs on each side to fit many differt makes useing a ratchet and a three inch extension you turn the piston clockwise while pushing the piston in make sure you line up the piston with the pins on the pads or your brakes will be locked up hope this helps
Was this
answer
helpful?
Yes
No
Saturday, May 23rd, 2020 AT 1:46 PM (Merged)
Tiny
ESCHWARTZ
  • MEMBER
  • 1 POST
  • 2005 CHEVROLET UPLANDER
Brakes problem
2005 Chevy Uplander 6 cyl Front Wheel Drive Automatic

Trying to replace rear brake pads. I got the old ones off fine but now I can't compress the caliper to put it back on.
Was this
answer
helpful?
Yes
No
Saturday, May 23rd, 2020 AT 1:46 PM (Merged)
Tiny
KHLOW2008
  • MECHANIC
  • 41,814 POSTS
Hi eschwartz,

Thank you for the donation.

The rear caliper pistons cannot be compressed with a G-clamp. You need to turn the piston clockwise with a little push until it bottoms out.


https://www.2carpros.com/forum/automotive_pictures/192750_RearCaliperPiston05Chevy_1.jpg

Was this
answer
helpful?
Yes
No
+3
Saturday, May 23rd, 2020 AT 1:46 PM (Merged)

Please login or register to post a reply.