A/C

Tiny
JENJEN0375
  • MEMBER
  • 2006 KIA RIO
Where is A/C compressor clutch relay located on 2006 kia rio?
Thursday, July 14th, 2011 AT 8:41 PM

11 Replies

Tiny
KHLOW2008
  • MECHANIC
  • 41,814 POSTS
Item # 10 is the A/C relay.
Was this
answer
helpful?
Yes
No
+1
Thursday, July 14th, 2011 AT 10:04 PM
Tiny
JENJEN0375
  • MEMBER
  • 6 POSTS
Where is the compressor clutch relay?
Was this
answer
helpful?
Yes
No
+6
Friday, July 15th, 2011 AT 5:10 AM
Tiny
JENJEN0375
  • MEMBER
  • 6 POSTS
Trying to find the compressor clutch control relay.I think that is the problem.
Was this
answer
helpful?
Yes
No
+7
Friday, July 15th, 2011 AT 5:21 AM
Tiny
JENJEN0375
  • MEMBER
  • 6 POSTS
Yes that is what I am trying to do
Was this
answer
helpful?
Yes
No
Friday, July 15th, 2011 AT 5:32 AM
Tiny
WRENCHTECH
  • MECHANIC
  • 20,761 POSTS
You were just given 2 different pictures of it's location.
Was this
answer
helpful?
Yes
No
+1
Friday, July 15th, 2011 AT 9:50 AM
Tiny
KHLOW2008
  • MECHANIC
  • 41,814 POSTS
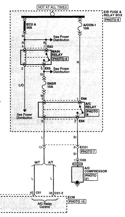
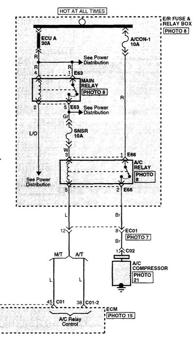
In first reply, the E66 is the relay you are looking for.

The second diagram shows the fuse box location, underhood.
Was this
answer
helpful?
Yes
No
+1
Friday, July 15th, 2011 AT 1:03 PM
Tiny
JENJEN0375
  • MEMBER
  • 6 POSTS
It is not the e66 relay. What else could it be? The compressor will kick on when you run a wire from the battery to it
Was this
answer
helpful?
Yes
No
+3
Saturday, July 16th, 2011 AT 7:06 PM
Tiny
JENJEN0375
  • MEMBER
  • 6 POSTS
What could cause it to not get power?
Was this
answer
helpful?
Yes
No
Saturday, July 16th, 2011 AT 7:44 PM
Tiny
WRENCHTECH
  • MECHANIC
  • 20,761 POSTS
Here is what you need to resolve it.
Was this
answer
helpful?
Yes
No
-1
Saturday, July 16th, 2011 AT 9:28 PM
Tiny
BILLY CHANDLER
  • MEMBER
  • 1 POST
I am having the same problem with my spectra. Run a straight wire to it and the compressor kicks on. Can't figure out if I need a clutch or something called a clutch cycle switch maybe?
Was this
answer
helpful?
Yes
No
Monday, September 16th, 2019 AT 1:14 PM
Tiny
KASEKENNY
  • MECHANIC
  • 18,907 POSTS
Hi Billy,

This post is 8 years old and a different model. The best thing to do is start a new post with all your vehicle info and specific issue. Even though you are having the same issue they more than likely won't respond and we need to try and keep each post to the same vehicle and same issue.

Once you post here, one of us will grab it and we will figure out what is happening. Thanks

https://www.2carpros.com/questions/new
Was this
answer
helpful?
Yes
No
Thursday, September 19th, 2019 AT 2:31 PM

Please login or register to post a reply.