Drivers side window stopped working?

Tiny
GLINDA BOLEN
  • MEMBER
  • 2006 CHRYSLER PT CRUISER
  • 4 CYL
  • FWD
  • AUTOMATIC
  • 90,000 MILES
Drivers side window stopped working. How can I find and repair problem?
Tuesday, October 7th, 2014 AT 8:42 AM

1 Reply

Tiny
KEN L
  • MASTER CERTIFIED MECHANIC
  • 55,297 POSTS
Hi GLINDA,

It is probably the motor that has gone bad, here are a couple of guide that will help determine if the problem is a switch, power feed, ground or the motor.

https://www.2carpros.com/articles/electric-window-repair

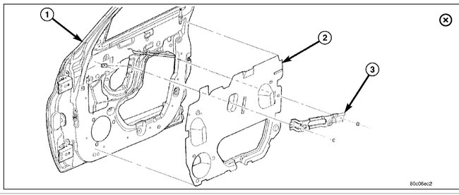
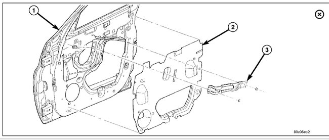
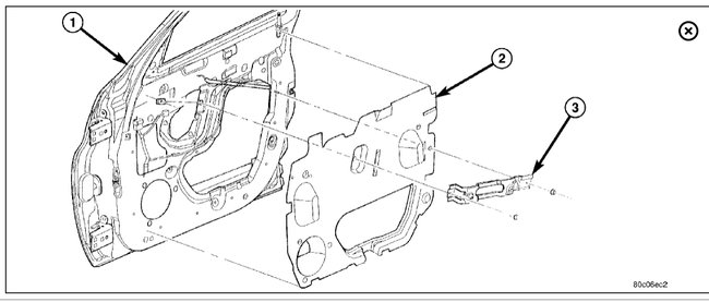
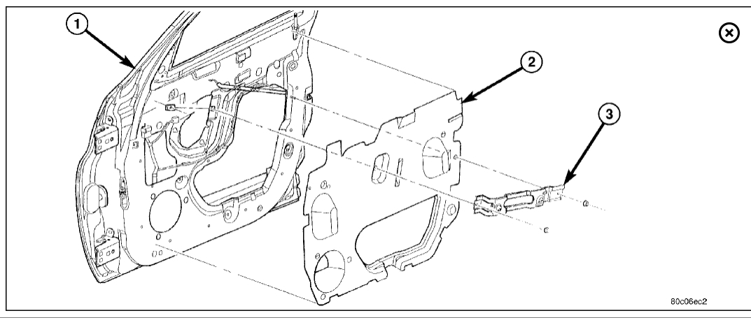
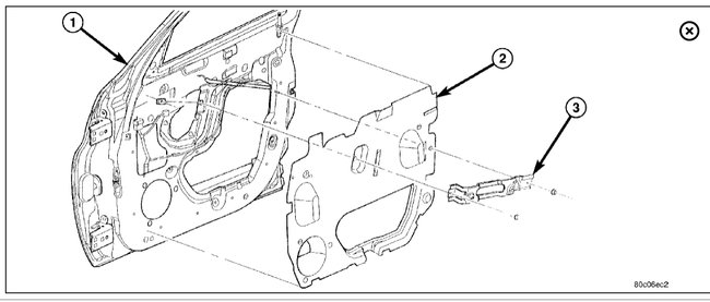
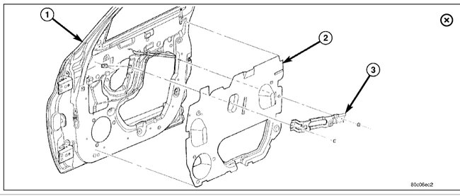
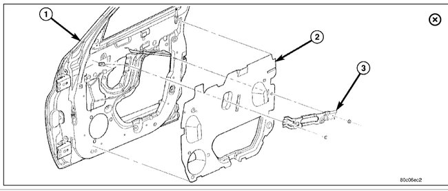
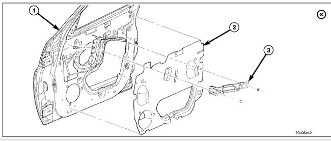
Remove door trim panel and water dam.
Disconnect wire connector to power window motor.
Remove nuts (5) attaching regulator lift channel to door glass.
Secure door glass in upward position.
Remove nuts (5) attaching rear of stabilizer channel to door panel.
Remove stabilizer channel from door panel.
Loosen bolts attaching window regulator, base plate to door inner panel.
Remove window regulator through large hole in inner door panel.
Remove power window motor from regulator.

Check out the diagrams (Below). Please let us know if you need anything else to get the problem fixed.

Cheers, Ken
Was this
answer
helpful?
Yes
No
+1
Monday, July 8th, 2019 AT 12:38 PM

Please login or register to post a reply.