HOME
ASK A QUESTION
REPAIR GUIDES
BECOME A MEMBER
LOG IN
Login with Facebook
OR
Remember me
NOT A MEMBER?
FORGOT PASSWORD?
CONTACT US
PRIVACY POLICY
TERMS AND CONDITIONS
☰
Home
Hyundai
Tucson
Body
Wiper
Motor
Wiper motor access
HANDYDAN55
MEMBER
2005 HYUNDAI TUCSON
4 CYL
AWD
AUTOMATIC
96,000 MILES
Access rear wiper motor 2005 tucson
Sunday, April 10th, 2011 AT 1:35 PM
4 Replies
JDL
MECHANIC
16,098 POSTS
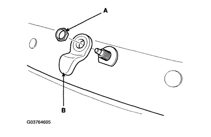
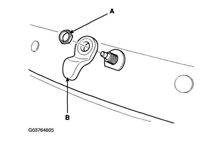
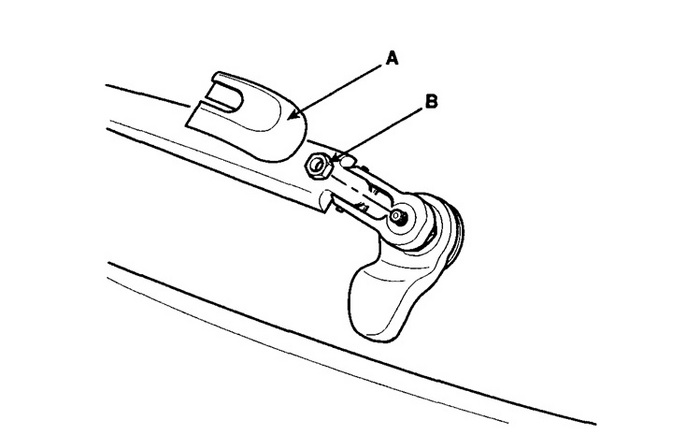
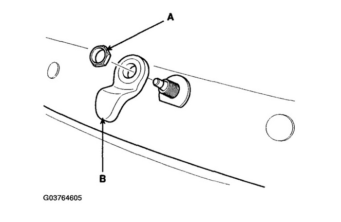
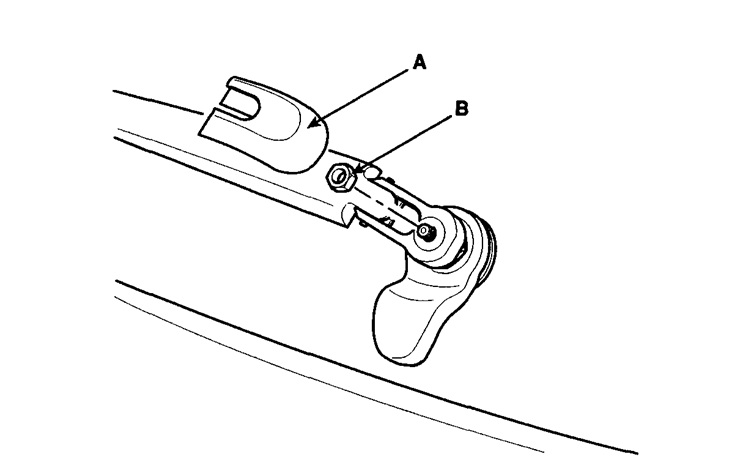
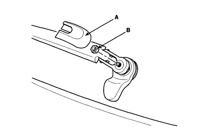
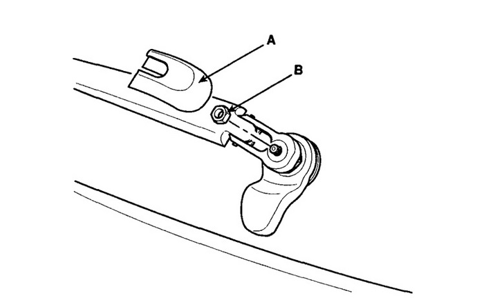
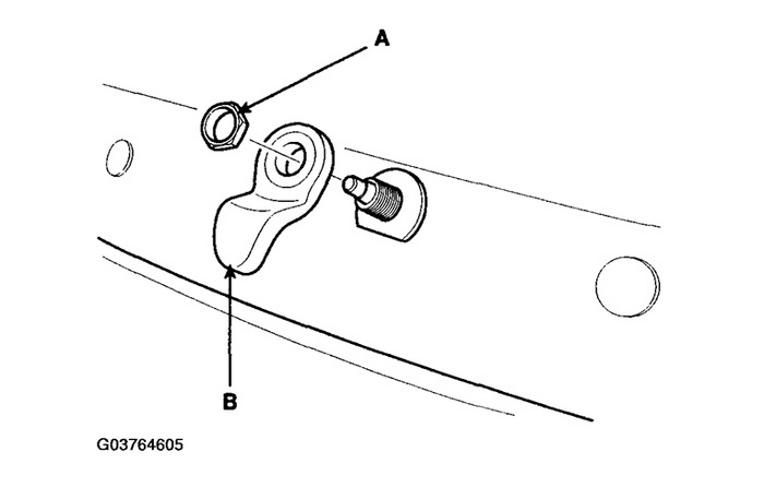
You have to remove wiper blade, then the arm. Lower tail gate glass and remove wiper motor cover. Remove wiper motor.
Images (Click to make bigger)
Was this
answer
helpful?
Yes
No
+4
Sunday, April 10th, 2011 AT 2:42 PM
HANDYDAN55
MEMBER
2 POSTS
Does the cover snap off or is it attached by a screw
Was this
answer
helpful?
Yes
No
+3
Sunday, April 10th, 2011 AT 2:46 PM
PLATINUMHYUNDAITECH
MEMBER
29 POSTS
Panel is held on with screws and clips
Was this
answer
helpful?
Yes
No
+6
Monday, April 11th, 2011 AT 12:34 AM
JDL
MECHANIC
16,098 POSTS
Sounds good to me.
Was this
answer
helpful?
Yes
No
+3
Sunday, April 24th, 2011 AT 7:17 PM
Please
login
or
register
to post a reply.
Related Wiper Motor Content
Wipper Blader
The Other Day My Windshield Wipper Bladed Stopped Working All The Sudden, You Can Hear That It Is Not The Motor Bacause It Still Tries To...
Asked by
kristieleek
·
4 ANSWERS
2005
HYUNDAI TUCSON
2005 Hyundai Tuscon New Wires And Plugs Now Won't Run...
Our Tucson Began Hesitating And Stalled On My Wife About A Week Ago. We Had It Towed To The Dealer Who Gave Us An Encyclopedia Of...
Asked by
jennandal
·
4 ANSWERS
2005
HYUNDAI TUCSON
Ask a Car Question. It's Free!
How to Use a Test Light