Hello, my vehicle stalled at a stop light. It was towed to a mechanic who said he thought the lock-up solenoid needed to be replaced. The vehicle started and drove the next day so we did not replace the solenoid. Do you think that is the issue? Could it be a bad torque converter? Also, there is no check engine light.
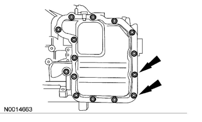
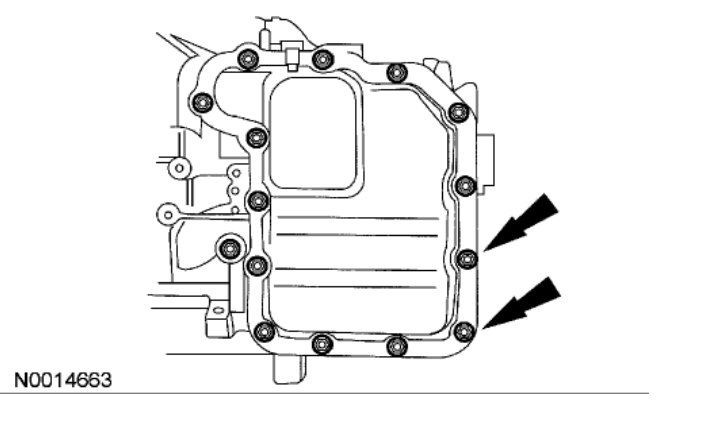
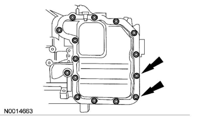
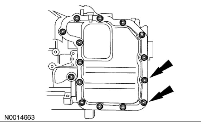
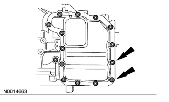
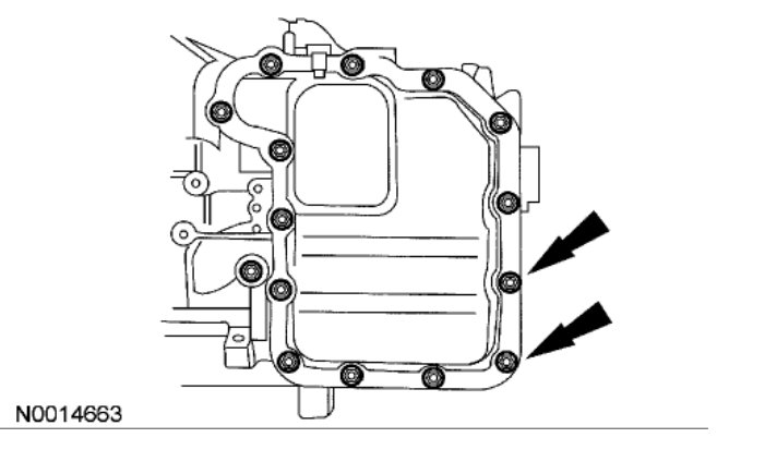
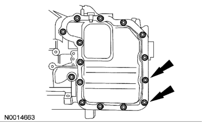
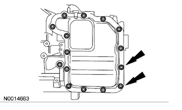
How do you go about replacing the solenoid? Where is it located? I am pretty sure you have to replace the entire pack. Does the control solenoid contain the TCC (lock-up) as well? Any help is appreciated. Thanks.
How do you go about replacing the solenoid? Where is it located? I am pretty sure you have to replace the entire pack. Does the control solenoid contain the TCC (lock-up) as well? Any help is appreciated. Thanks.
Nov 13, 2017 at 6:40 PM
















