ABS and along with that all my lights cease to work

Tiny
DUSK32
  • MEMBER
  • 2005 FORD CROWN VICTORIA
  • 118,000 MILES
T came on randomly and will not turn off, and not just the light but the actual ABS, and along with that all my lights cease to work. Can you help me change out the ABS module please?
Thursday, March 21st, 2013 AT 8:48 PM

1 Reply

Tiny
JACOBANDNICKOLAS
  • MECHANIC
  • 110,192 POSTS
Hi,

Replacing the module isn't too hard to do. Just make sure to be careful when removing it from the hydraulic control module (HCU). You don't want to damage anything.

First, here is a link that shows in general how it's done. You can use this as a guide.

https://www.2carpros.com/articles/how-to-replace-a-abs-controller

Here are the directions specific to your vehicle for removal and replacement. The two attached pics below correlate with the directions.

________________________________

2005 Ford Crown Victoria V8-4.6L SOHC VIN W
Procedures
Vehicle Brakes and Traction Control Relays and Modules - Brakes and Traction Control Electronic Brake Control Module Service and Repair Procedures
PROCEDURES
Anti-Lock Brake System (ABS) Module

Removal and Installation
1. Remove the air cleaner.
2. Disconnect the battery.

pic 1

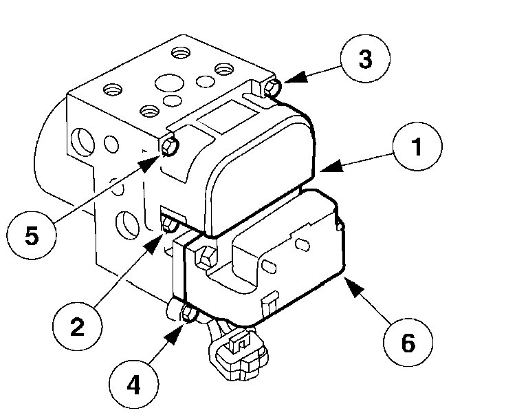
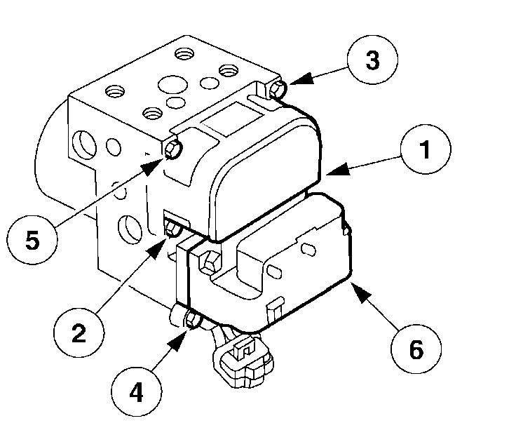
3. NOTE: Clean any foreign debris before removing the ABS module.

Disconnect the ABS module electrical connectors.
Disconnect the control module electrical connector.
Disconnect the pump motor electrical connector.

pic 2

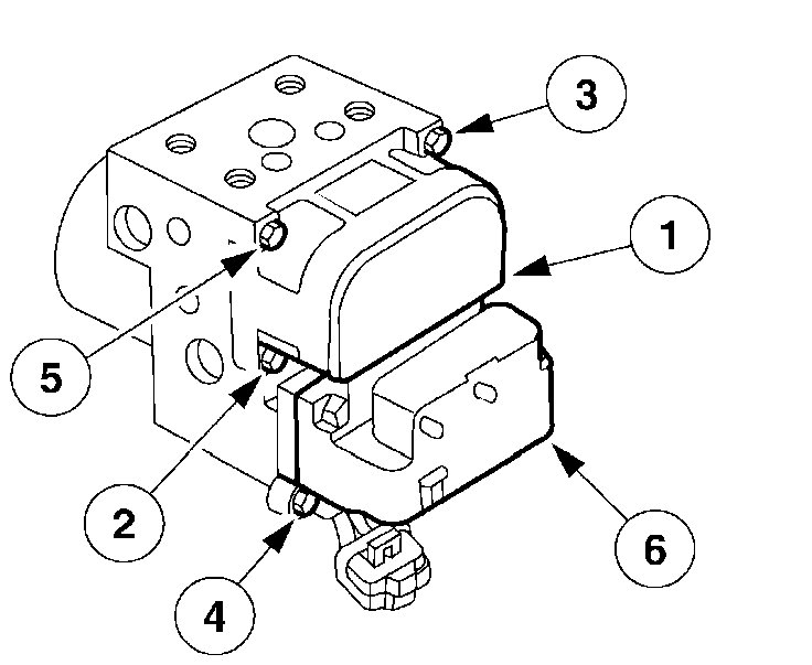
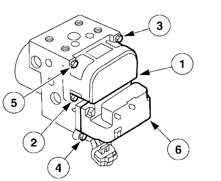
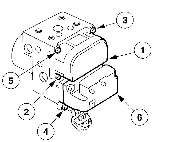
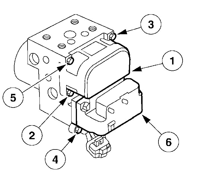
4. NOTE: Care must be taken when removing the module from the hydraulic control unit (HCU).

Remove the ABS module.
Remove the screws in the sequence shown.
Remove the module.
To install, tighten to 3 Nm (27 inch lbs.).

5. NOTE: Be sure the ABS module to HCU gasket is clean and correctly installed.

To install, reverse the removal procedure.

__________________________________

I hope this helps. Let me know if you have other questions.

Take care and God Bless,

Joe
Was this
answer
helpful?
Yes
No
Saturday, March 13th, 2021 AT 9:35 PM

Please login or register to post a reply.