2005 Cadillac Escalade Replace turn signal switch

Tiny
CARLIEARTHUR
  • MEMBER
  • 2005 CADILLAC ESCALADE
  • 0.6L
  • V8
  • AWD
  • AUTOMATIC
  • 130,000 MILES
When I use turn signal to turn left it only works occasionally. No problem with right signal, or cruise, or wipers. Do you think the signal switch needs replaced and can you tell me what is involved to do so.
Thank you,
C. Testerman
Monday, February 3rd, 2014 AT 7:36 AM

1 Reply

Tiny
HMAC300
  • MECHANIC
  • 48,601 POSTS
Make sure your bulbs are ok first and the grounds are good. It's quite involved.
Disable the SIR system. Refer to SIR Disabling and Enabling Zone 3 in SIR.
Remove the upper and lower trim covers. Refer to Steering Column Trim Covers Replacement.
IMPORTANT:The abrasion sleeve located on the steering column wire harness assembly must be reinstalled. Make note of what connector is coming out of the abrasion sleeve for installation purposes.

Remove the wire harness assembly (1) from the wire harness strap (2).
Disconnect the turn signal and multifunction switch assembly connector from the SIR system coil connector.
Fig. 39: Turn Signal & Multifunction Switch Assembly Connectors
Courtesy of GENERAL MOTORS CORP.
Slide the 2 connectors (2) of the turn signal and multifunction switch assembly out of the bulkhead connector (1).
Fig. 40: View Of Turn Signal & Multifunction Switch Assembly
Courtesy of GENERAL MOTORS CORP.
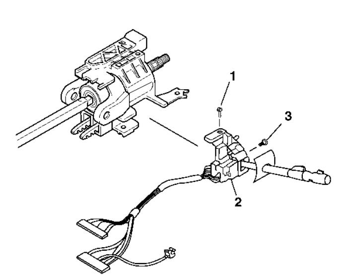
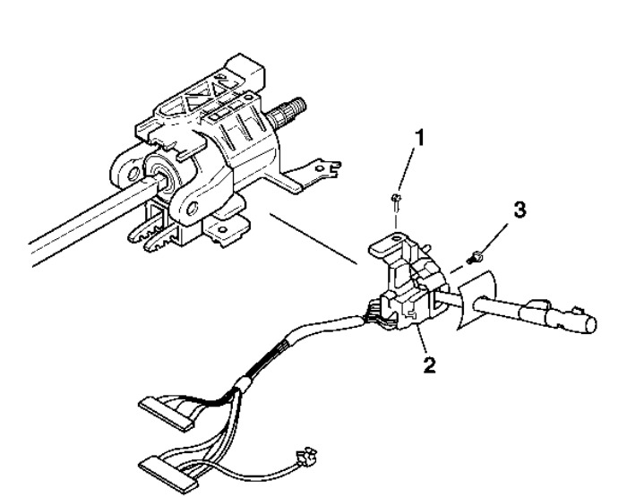
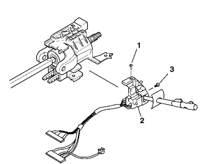
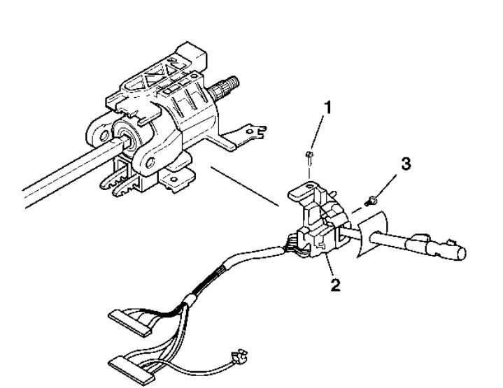
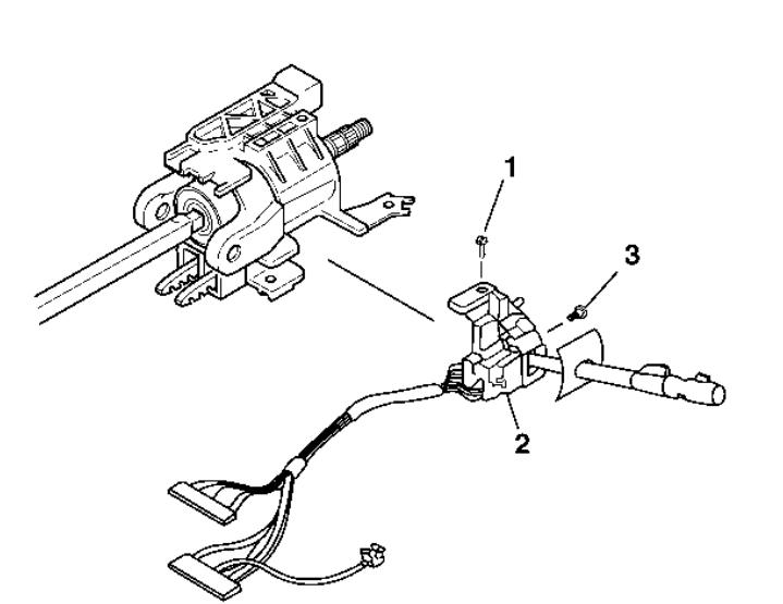
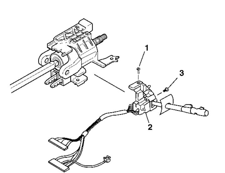
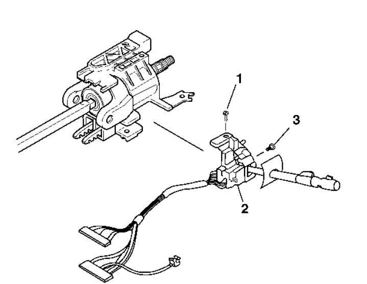
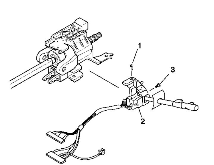
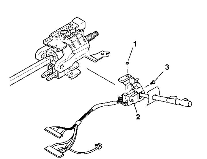
Remove the 2 pan head tapping screws (1) and (3) from the turn signal and multifunction switch assembly (2).
Remove the turn signal and multifunction switch assembly (2) from the steering column tilt head assembly
Was this
answer
helpful?
Yes
No
Monday, February 3rd, 2014 AT 8:03 AM

Please login or register to post a reply.