How to adjust valves

Tiny
TODDGOINS66
  • MEMBER
  • 2004 MAZDA 3
  • 147,000 MILES
Valves clicking and it is not the fuel injectors. I know the injectors are loud on this car. I was just wanting some how to information on adjusting the valves on the car listed above with a 2.3 liter engine.
Monday, January 2nd, 2012 AT 6:26 PM

2 Replies

Tiny
KHLOW2008
  • MECHANIC
  • 41,814 POSTS
This engine requires the camshafts to be removed for valve adjustment and special tools are required. I would advise against DIY.
Was this
answer
helpful?
Yes
No
Monday, January 2nd, 2012 AT 8:24 PM
Tiny
RIVERMIKERAT
  • MECHANIC
  • 6,110 POSTS
MECHANICAL - SERVICE INFORMATION -2004 Mazda 3 i
Page 1 of 2
VALVE CLEARANCE INSPECTION

Remove the plug hole plate. (See PLUG HOLE PLATE REMOVAL/INSTALLATION Remove the battery cover.
Disconnect the negative battery cable. Disconnect the wiring harness.
Remove the ignition coils. (See IGNITION COIL REMOVAL/INSTALLATION.) Disconnect the OCV connector (L3).
Remove the ventilation hose. Remove the cylinder head cover.
9. Verify that the engine is cold.
10.
1. 2. 3. 4. 5.
6. 7. 8.
.)
Measure the valve clearance.
1. 2.
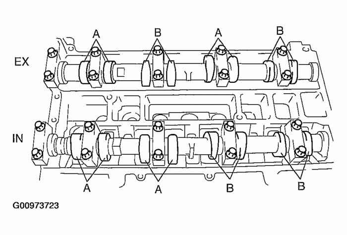
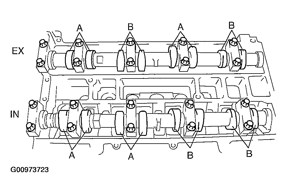
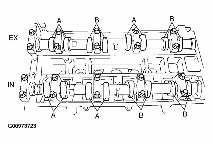
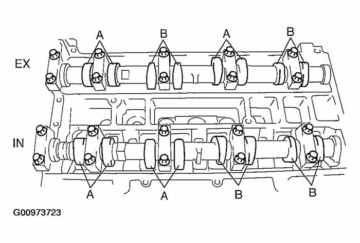
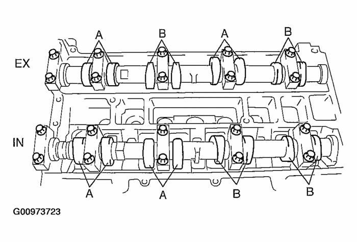
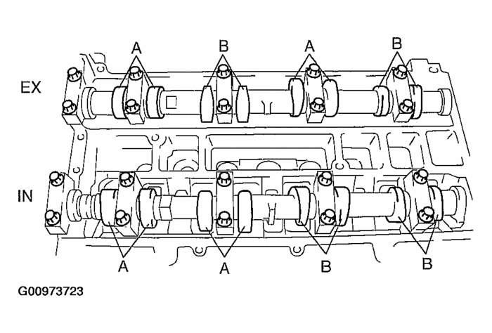
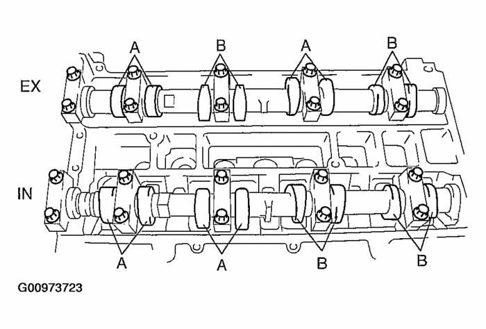
Turn the crankshaft clockwise so that the No. 1 piston is at TDC of the compression stroke. Measure the valve clearance at A in the figure.
? If the valve clearance is out of the standard value, adjust it. (See VALVE CLEARANCE ADJUSTMENT.)
Fig. 10: Identifying Valve Clearance Measurement Locations Courtesy of MAZDA MOTORS CORP.
Standard [Engine cold]
IN: 0.22-0.28 mm 0.0087-0.0110 in
EX: 0.27-0.33 mm 0.0107-0.0129 in
NOTE:
? Make sure to note down the measured values for
choosing the suitable replacement tappets.
3. Turn the crankshaft 360° clockwise so that the No.4 piston is at TDC of the compression stroke.
Measure the valve clearance at B in the figure.
? If the valve clearance is out of the standard value, adjust it. (See VALVE CLEARANCE ADJUSTMENT.)
4.
NOTE:
? Make sure to note down the measured values for choosing the
suitable replacement tappets.
Standard [Engine Cold]
IN: 0.22-0.28 mm 0.0087-0.0110 in EX: 0.27-0.33 mm 0.0107-0.0129 in
11. Install the cylinder head cover. (See CYLINDER HEAD COVER INSTALLATION NOTE.)
12.
Install the ventilation hose.

1/2/2012
MECHANICAL - SERVICE INFORMATION -2004 Mazda 3 i
Page 2 of 2
13. 14. 15. 16. 17.
18.
Connect the OCV connector (L3).
Install the ignition coils. (See IGNITION COIL REMOVAL/INSTALLATION.) Connect the wiring harness.
Connect the negative battery cable. Install the battery cover.
Install the plug hole plate and bracket. (See PLUG HOLE PLATE REMOVAL/INSTALLATION.)

MECHANICAL - SERVICE INFORMATION -2004 Mazda 3 i
Page 1 of 2
COMPRESSION INSPECTION

WARNING:
? Hot engines and oil can cause severe burns. Be careful not to
burn yourself during removal/installation of each component.
1.
Verify that the battery is fully charged.? Recharge it if necessary.
2. Warm up the engine to the normal operating temperature.
Stop the engine and allow it to cool down for about 10 min.
Perform "Fuel Line Safety Procedures". Leave the fuel pump relay removed. (See BEFORE SERVICE PRECAUTION.)
3. 4.
WARNING:
? Fuel vapor is hazardous. It can very easily ignite, causing serious injury and damage. Always keep sparks and
flames away from fuel.
? Fuel line spills and leakage are dangerous. Fuel can
ignite and cause serious injuries or death and damage.
Fuel can also irritate skin and eyes. To prevent this,
always complete the "Fuel Line Safety Procedure". (See
FUEL LINE SAFETY PROCEDURE.)
Remove the plug hole plate. (See PLUG HOLE PLATE REMOVAL/INSTALLATION Remove the ignition coils. (See IGNITION COIL REMOVAL/INSTALLATION.)
Remove the spark plugs. (See SPARK PLUG REMOVAL/INSTALLATION.) Connect a compression gauge into the spark plug hole.
Fully depress the accelerator pedal and crank the engine. Note down the maximum gauge reading.
Inspect each cylinder as above.
? If the measured value is less than the limited value, or there is a cylinder whose
compression value varies from that of other cylinders by 196.1 kPa 2.0 kgf/cm , 28.5 psi or more, add a small amount of engine oil through the spark plug hole. Then measure the
compression pressure and perform the respective operations for the following cases:
? If the compression increases, the piston, the piston rings, or cylinder wall may be worn and overhaul is required.
? If the compression stays low, a valve may be stuck or improperly seated and overhaul is required.
? If the compression in adjacent cylinders stays low, the cylinder head gasket may be damaged or the cylinder head distorted and overhaul is required.
5. 6.
7. 8. 9.
10. 11.
.)
2
Compression
Fig. 24: Engine Cylinder Compression Specifications Courtesy of MAZDA MOTORS CORP.

1/2/2012
MECHANICAL - SERVICE INFORMATION -2004 Mazda 3 i
Page 2 of 2
12. 13.
Disconnect the compression gauge. Install the following parts:
1. 2. 3.
4. Plug hole plate. (See PLUG HOLE PLATE REMOVAL/INSTALLATION.)
Spark plug. (See SPARK PLUG REMOVAL/INSTALLATION.) Ignition coils. (See IGNITION COIL REMOVAL/INSTALLATION.)
Fuel pump relay. (See BEFORE SERVICE PRECAUTION.)
Was this
answer
helpful?
Yes
No
+5
Monday, January 2nd, 2012 AT 8:45 PM

Please login or register to post a reply.