Right side interior windshield pillar removal

Tiny
LFLORESTX
  • MEMBER
  • 2004 LINCOLN NAVIGATOR
  • 5.4L
  • V8
  • 2WD
  • AUTOMATIC
  • 75,811 MILES
I have noticed that the interior windshield pillar on the passenger side has gotten wet.

How to I remove the grab handle and pillar so I can see how/where the water is coming from?

What tool is needed to remove the grab handle?
Friday, December 6th, 2019 AT 4:19 PM

5 Replies

Tiny
STEVE W.
  • MECHANIC
  • 15,691 POSTS
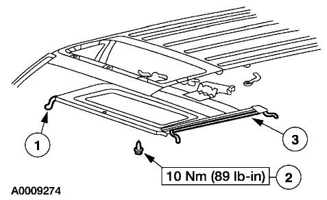
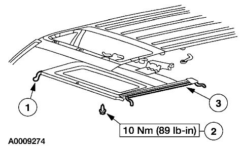
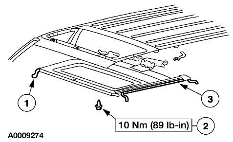
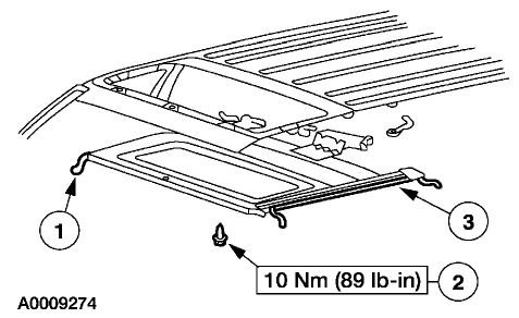
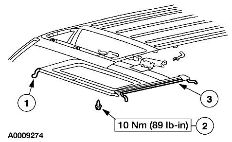
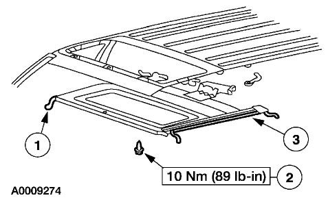
Does your Navigator have a sunroof? If yes, that is almost guaranteed to be where the leak is coming from. It is the result of a blocked or damaged drain tube. The drains run from the corners of the sunroof tray down the A and C pillars to drain out on the ground. They are the small bent items shown at the corners of the image attached. They get dirt, pine needles, bugs and more in them and can plug up. Then the water that gets in starts to spill out of the tray and runs to a convenient low spot and out into the roof pillars.
It's a very common problem with sunroofs because none of them are actually sealed to the roof.
Cleaning them can be a chore because of the way they run on that vehicle. The easiest way I have found is to locate the outlets of the drain tubes underneath the vehicle. Then use weed eater string to run up through them and clear out the blockages. There are people who use air for this and it does work, but you can easily push the lines off the tubes they connect to and now you end up removing the headliner to reattach them. The tubes can also crack or come off simply from age as well.
Look up Ford TSB 04-15-9 Moon-roof water leaks, for more information on the issue.

Now as far as getting the grab handle and trim panel off, the grab handle has two screws hidden under plugs on the ends of the handle, use a trim pick to remove the plugs and remove the screws, refer to second image. The trim panel itself snaps into place with clips. You pull it in toward the dash and up to release the lower hook and then down to release the upper clips.
To reach the drains without removing the headliner is possible by removing the A, B and C trim pillars and the door seal to let the headliner drop a bit, but it's a very tight gap to get into and the drains are about 8 inches in from the sides.
Was this
answer
helpful?
Yes
No
Friday, December 6th, 2019 AT 7:18 PM
Tiny
LFLORESTX
  • MEMBER
  • 17 POSTS
The weedeater string worked great.
I hope that got it.

Now back to the removal of the grab handle. There are no nuts to unscrew. Its like a long spike with what looks like a round washer of some sort. I thought maybe it clips into place. I tried to unclip it by pushing it upward toward the roof. No luck. Any ideas?
Was this
answer
helpful?
Yes
No
Saturday, December 7th, 2019 AT 9:40 AM
Tiny
STEVE W.
  • MECHANIC
  • 15,691 POSTS
Is it a factory handle? The OEM one has a bolt on each end. Could you take a picture and upload it? Might give me an idea of what it is and how it comes off.
Was this
answer
helpful?
Yes
No
Saturday, December 7th, 2019 AT 6:33 PM
Tiny
LFLORESTX
  • MEMBER
  • 17 POSTS
Yes it's factory.
Attached photo.
Was this
answer
helpful?
Yes
No
Sunday, December 8th, 2019 AT 11:30 AM
Tiny
STEVE W.
  • MECHANIC
  • 15,691 POSTS
Well there should be either a 7 or 8mm head for that year. Maybe try some needle nose vice grips, or swing by a dealer and have them take a look, I would think they used the same bolts as the Fords.
Was this
answer
helpful?
Yes
No
Sunday, December 8th, 2019 AT 1:09 PM

Please login or register to post a reply.