My transmission is slipping

Tiny
GOTTOBME9
  • MEMBER
  • 2004 FORD F-150
  • V8
  • 2WD
  • AUTOMATIC
  • 108,000 MILES
How do I change the reverse band in my transmission in my ford f150 2004 the fluid level is fine. Please help me I love this site.
Tuesday, July 12th, 2011 AT 7:52 PM

1 Reply

Tiny
KEN L
  • MASTER CERTIFIED MECHANIC
  • 55,281 POSTS
Hello,

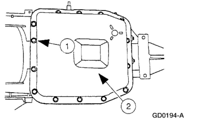
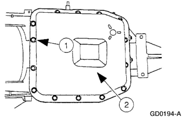
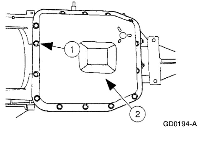
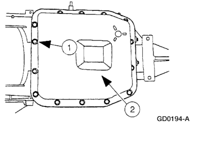
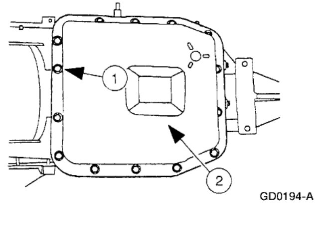
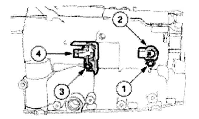
They do not have a band in newer transmission there are just clutch discs applied by pressure servos. If your transmission is slipping it probably needs a rebuild which is not as hard as people think. Here are the diagrams to do a transmission rebuild on an automatic.

You will need to remove the transmission first this guide will give you an idea on how to pull the transmission out.

https://www.2carpros.com/articles/transmission-replacement-removal-manual

Yours will have converter bolts and cooler lines but its about the same.

Check out the diagrams (BELOW)

Please let us know what happens.

Cheers, Ken
Was this
answer
helpful?
Yes
No
Wednesday, March 24th, 2021 AT 10:05 AM

Please login or register to post a reply.