Rear wiper not working properly

Tiny
MVINCENT. USA
  • MEMBER
  • 2004 FORD EXPEDITION
  • 181,000 MILES
I installed a new rear wiper motor and I can hear it tick when it's supposed to turn the wiper, but it doesn't, just clicks. The rear washer fluid won't work also.
Wednesday, February 24th, 2021 AT 9:38 AM

1 Reply

Tiny
JACOBANDNICKOLAS
  • MECHANIC
  • 110,192 POSTS
Hi,

You hear it tick. It sounds like the wiper arm may be stripped and the motor is simply turning and not moving the wiper or there is a nut that holds it on that may be loose. The nut is hidden under a cover on the wiper arm.

Take a look at the attached directions. They explain how to remove and replace the wiper arm. First, confirm it is tight. If it is, remove it and inspect where the wiper arm attaches to the motor. There will be splines that prevent it from slipping. Make sure the splines are in good condition.

___________________________________

2004 Ford Truck Expedition 4WD V8-5.4L SOHC VIN L
Wiper Pivot Arm - Rear
Vehicle Wiper and Washer Systems Wiper Arm Service and Repair Procedures Wiper Pivot Arm - Rear
WIPER PIVOT ARM - REAR
WIPER PIVOT ARM - REAR

REMOVAL

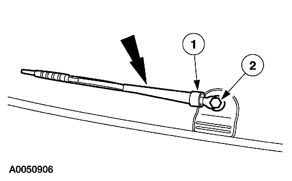
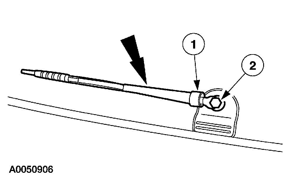
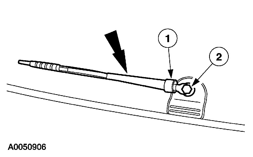
pic 1

1. CAUTION: Use a shop towel or similar device to protect the vehicle finish when carrying out the procedure.

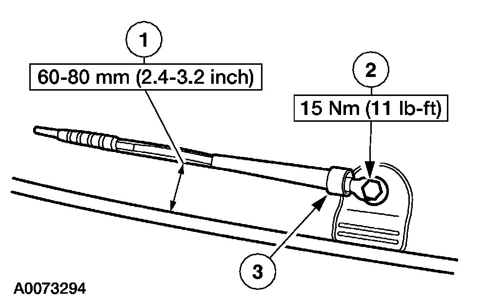
Remove the rear window wiper pivot arm.
1 Lift the pivot arm nut cover.
2 Remove the nut.

INSTALLATION

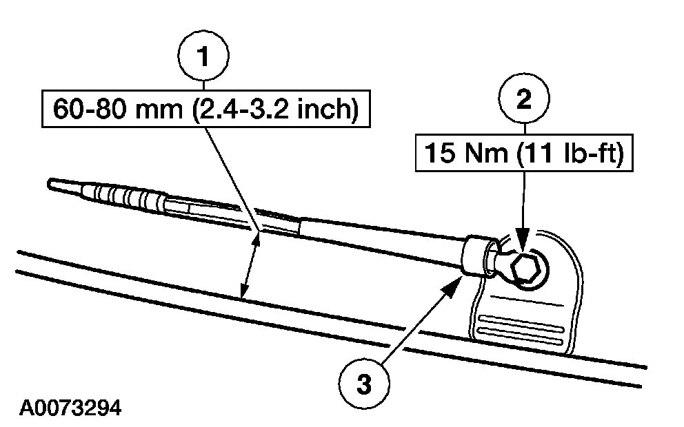
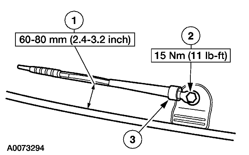
1. NOTE: This step makes sure that the wiper motor is in the PARK position.

Turn the rear window wiper switch on and allow the motor to operate for at least one cycle. Turn the rear window wiper switch to OFF.

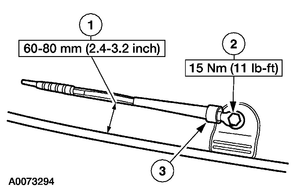
Pic 2

2. Install the rear window wiper pivot arm onto the rear window wiper motor shaft.
1 Position the wiper pivot arm within specification.
2 Tighten the nut.
3 Install the cover.

______________________________

Let me know what you find or if you have other questions.

Take care and God Bless,

Joe
Was this
answer
helpful?
Yes
No
Wednesday, February 24th, 2021 AT 7:53 PM

Please login or register to post a reply.