Tuesday, August 2nd, 2011 AT 2:13 AM
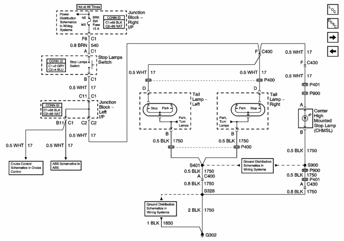
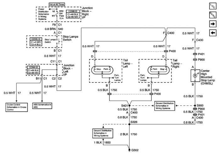
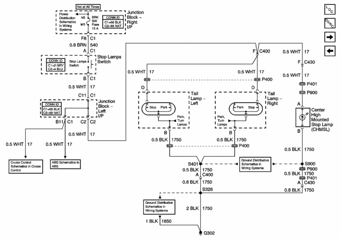
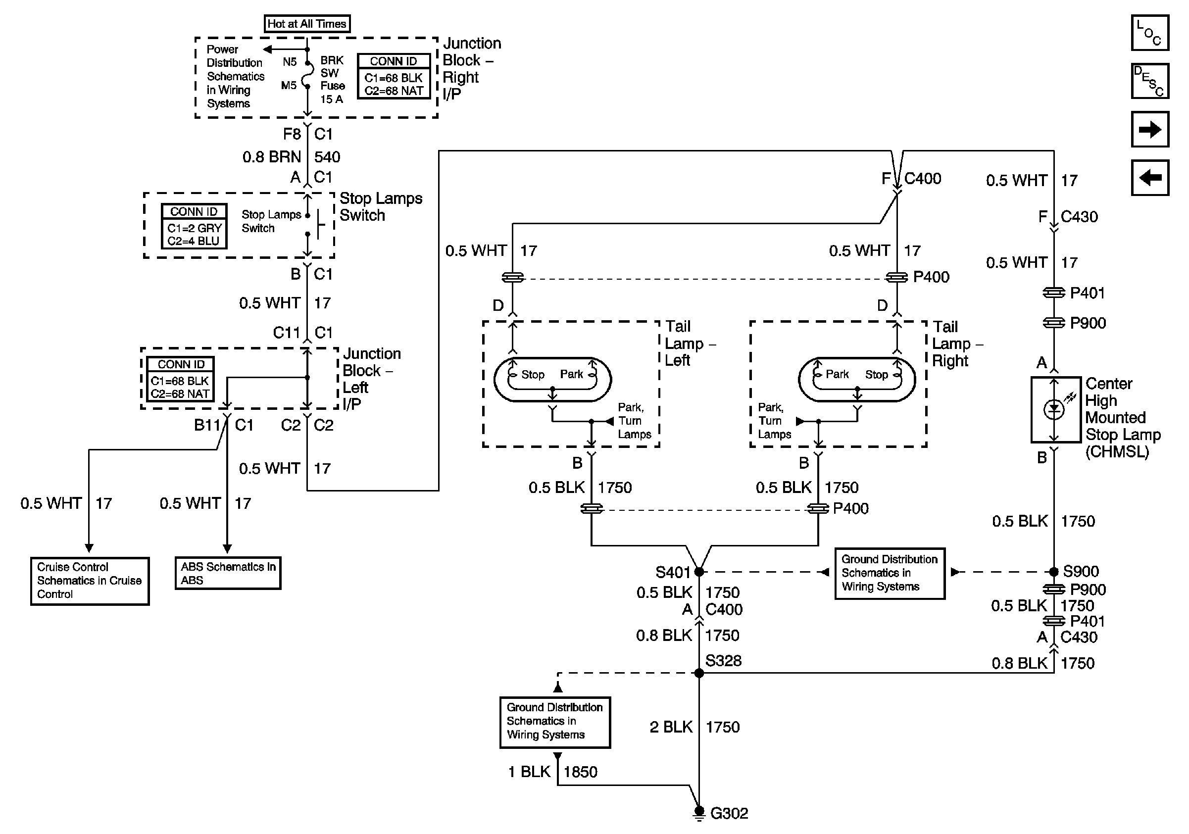
I have a 2003 Monte Carlo and my brake lights are not working, I have checked the bulbs, fuse and brake light switch, what else could it be?



