2003 Cadillac CTS Dryer accumulator

Tiny
JSPRACK
  • MEMBER
  • 2003 CADILLAC CTS
  • V6
  • 2WD
  • AUTOMATIC
  • 120,000 MILES
Where is air conditioner dryer accumulator located?
Saturday, October 31st, 2015 AT 10:34 AM

3 Replies

Tiny
HMAC300
  • MECHANIC
  • 48,601 POSTS
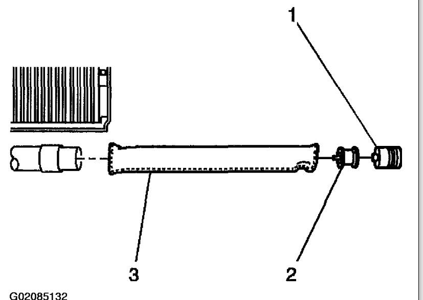
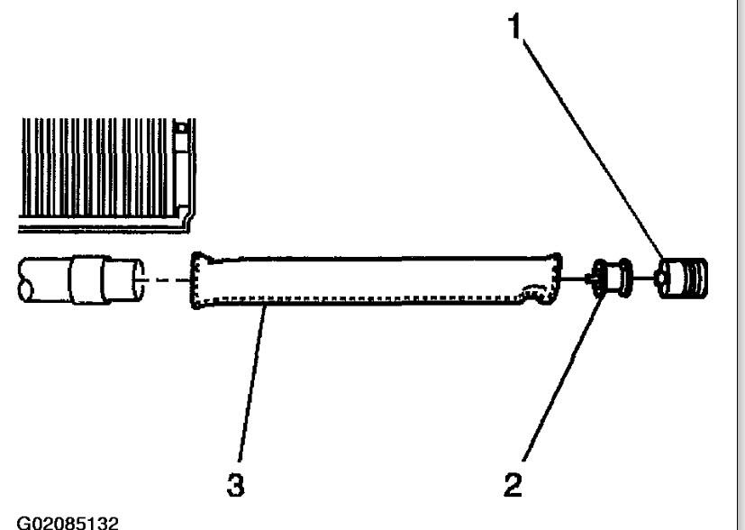
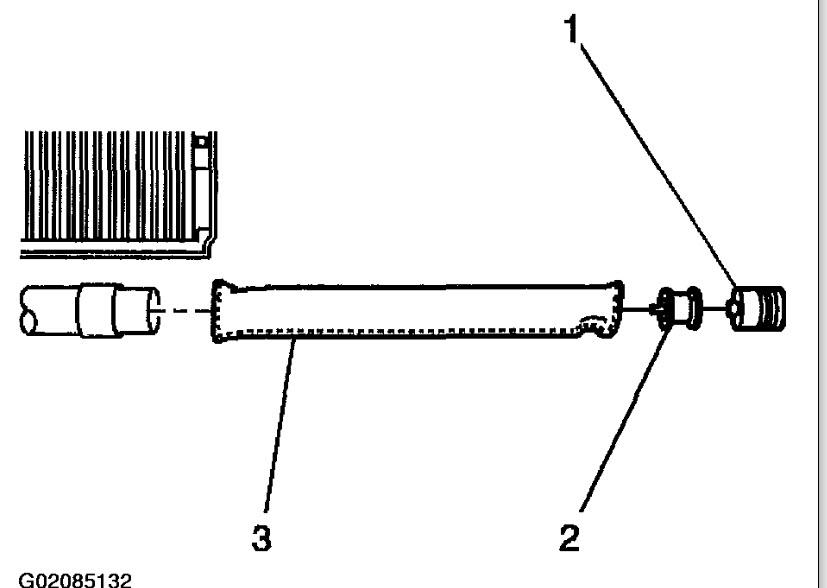
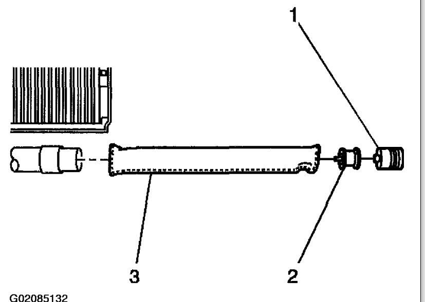
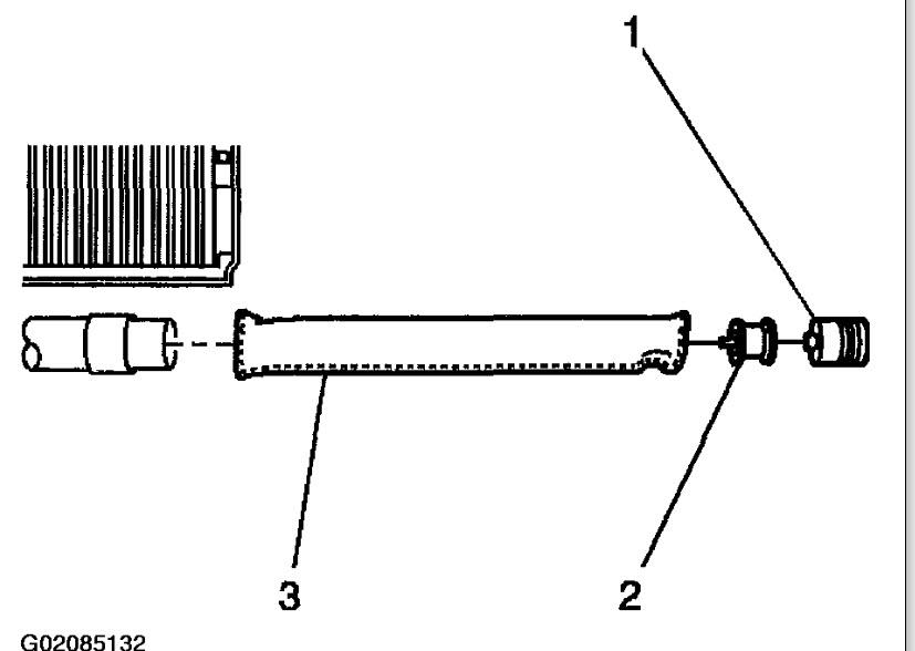
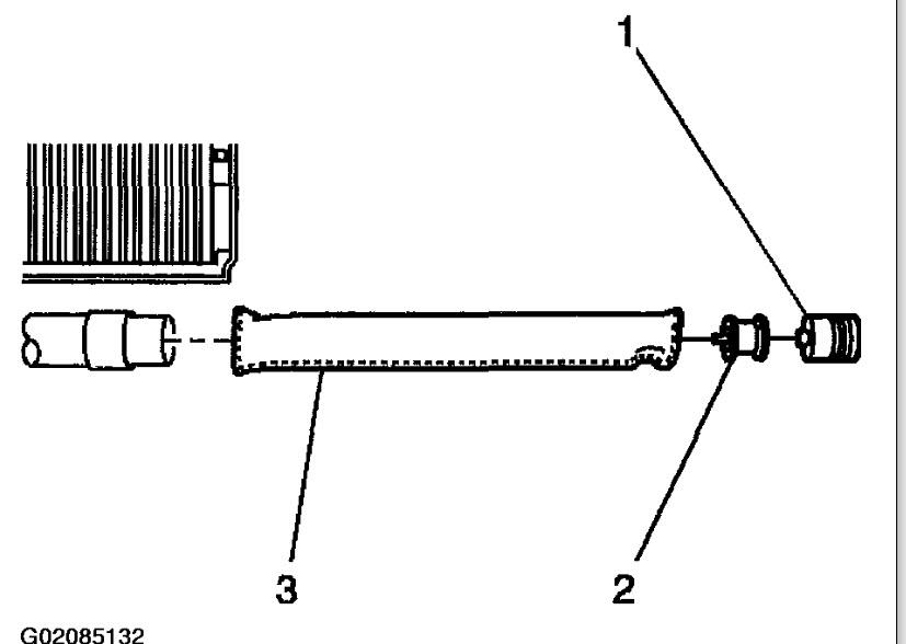
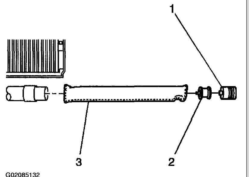
Inorder to replace it you need to evacuate the system first, if its not broken the dexicant bag is replaceable see pics to gain access. It's near the radiator. You also need to add.34 oz. Of PAG oil when replacing it. Then evacuate the system again for at least 15 minutes.
Was this
answer
helpful?
Yes
No
Saturday, October 31st, 2015 AT 11:28 AM
Tiny
JSPRACK
  • MEMBER
  • 2 POSTS
Thanks. I thought that was it, but wasn't sure. The tube is vertical, how do you add the PAG oil?
Was this
answer
helpful?
Yes
No
Saturday, October 31st, 2015 AT 8:21 PM
Tiny
HMAC300
  • MECHANIC
  • 48,601 POSTS
When you charge the system through the gauges.
Was this
answer
helpful?
Yes
No
Sunday, November 1st, 2015 AT 7:48 AM

Please login or register to post a reply.