Key wont go in the Ignition

Tiny
KELVINC
  • MEMBER
  • 2003 BUICK RENDEZVOUS
  • 278,000 MILES
My key will only go halfway into my ignition tumbler.
Sunday, December 11th, 2011 AT 9:35 PM

3 Replies

Tiny
RASMATAZ
  • MECHANIC
  • 75,992 POSTS
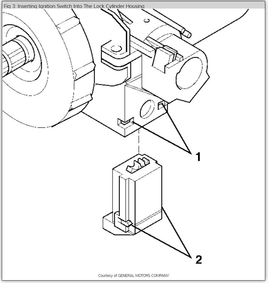
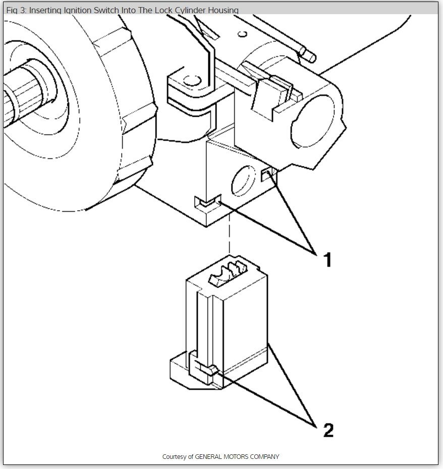
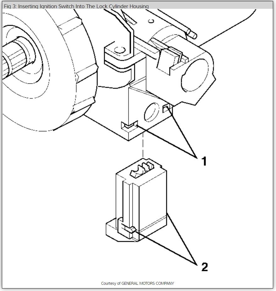
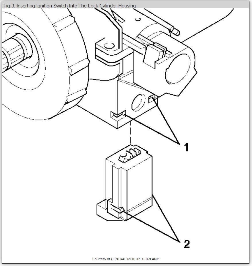
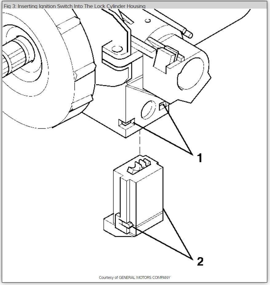
It sounds like the ignition tumbler with need to be replaced take your vin number to the dealer when you buy the tumbler and new key so they can code it for you before you install it. Here are diagrams to help you see what you are ifn for when doing the job.

Check out the diagrams (Below). Please let us know if you need anything else to get the problem fixed.

Cheers
Was this
answer
helpful?
Yes
No
+2
Sunday, December 11th, 2011 AT 9:40 PM
Tiny
KELVINC
  • MEMBER
  • 6 POSTS
Great diagrams and advice I did what you said and the job turned out great! I love this site :)
Was this
answer
helpful?
Yes
No
+1
Sunday, December 11th, 2011 AT 9:47 PM
Tiny
SATURNTECH9
  • MECHANIC
  • 30,869 POSTS
Good to hear, please use 2CarPros anytime we are here to help.

Cheers
Was this
answer
helpful?
Yes
No
Sunday, December 11th, 2011 AT 9:58 PM

Please login or register to post a reply.