Trying to replace the right front brake line

2003 BUICK RENDEZVOUS
6 CYL • FWD • AUTOMATIC
Avatar
BB300
  • MEMBER
  • 1 POST
trying to replace r/f brake line on 2003 rendezvous. which line is it on abs module. can't follow them all the way to see it. tks
Aug 14, 2011 at 1:01 AM
Advertisement
Avatar
STRAILER
  • CAR REPAIR CONTRIBUTOR
  • 54,235 POSTS
Hey BB300

Here are videos to help you make your own line or replace the brake flex hose.

https://youtu.be/sO43p4ZFUiM

and

https://youtu.be/1Prs_coIuCg

The process is the same in most cases.

Caution: Always use double walled steel brake pipe when replacing brake pipes. The use of any other pipe is not recommended and may cause brake system failure. Carefully route and retain replacement brake pipes. Always use the correct fasteners and the original location for replacement brake pipes. Failure to properly route and retain brake pipes may cause damage to the brake pipes and cause brake system failure.

Notice: Refer to Brake Fluid Effects on Paint and Electrical Components Notice in Service Precautions.

Important; When servicing brake pipes, note the following:
If sectioning brake pipe, use replacement pipe of the same type and outside diameter.
Use fittings of the appropriate size and type.
Only create flares of the same type or design as originally equipped on the vehicle.


Inspect the section of brake pipe to be replaced.
Release the brake pipe to be replaced from the retainers, as required.
Select an appropriate location to section the brake pipe, if necessary.
Allow adequate clearance in order to maneuver the J45405.
Avoid sectioning the brake pipe at bends or mounting points.
Using a string or wire, measure the length of the pipe to be replaced including all pipe bends.
Add to the measurement taken the appropriate additional length required for each flare to be created. 6.35 mm (0.250 inch) for 4.76 mm (3/16 inch) diameter pipe
Important; Ensure that the brake pipe end to be flared is cut at a square, 90 degree angle to the pipe length.

Using the pipe cutter included in the J45405, carefully cut the brake pipe squarely to the measured length.
Remove the sectioned brake pipe from the vehicle.
Select the appropriate size of brake pipe and tube nuts, as necessary. The brake pipe outside diameter determines brake pipe size.


Strip the nylon coating from the brake pipe ends to be flared, if necessary.
Select the appropriate blade on the coating stripping tool included in the J45405, by unthreading the blade block from the stripping tool and installing the block with the desired blade facing the tool rollers. 6.35 mm (0.250 inch) blade for 4.76 mm (3/16 inch) diameter pipe
Insert the brake pipe end to be flared into the stripping tool to the depth of the ledge on the tool rollers.
While holding the brake pipe firmly against the stripping tool roller ledges, rotate the thumb-wheel of the tool until the blade contacts the brake pipe coated surface.
Important: Do not gouge the metal surface of the brake pipe.

Rotate the stripping tool in a clockwise direction, ensuring that the brake pipe end remains against the tool roller ledges.
After each successive revolution of the stripping tool, carefully rotate the thumb-wheel of the tool clockwise, in order to continue stripping the coating from the brake pipe until the metal pipe surface is exposed.
Loosen the thumb-wheel of the tool and remove the brake pipe.
Important: Ensure that all loose remnants of the nylon coating have been removed from the brake pipe.

Inspect the stripped end of the brake pipe to ensure that the proper amount of coating has been removed. 6.35 mm (0.250 inch) for 4.76 mm (3/16 inch) diameter pipe


Chamfer the inside and outside diameter of the pipe with the de-burring tool included in the J45405.
Install the tube nuts on the brake pipe, noting their orientation.
Clean the brake pipe and the J45405 of lubricant, contaminants, and debris.


Loosen the die clamping screw of the J45405.
Select the corresponding die set and install the die halves into the die cage with the full, flat face of one die facing the clamping screw, and the counterbores of both dies facing the forming ram.


Place the flat face of an unused die (1) against the die halves in the clamping cage and hold firmly against the counterbored face of the dies.
Insert the prepared end of the pipe to be flared through the back of the dies until the pipe is seated against the flat surface of the unused die (1).
Remove the unused die (1).
Ensure that the rear of both dies are seated firmly against the enclosed end of the die cage.
Firmly hand tighten the clamping screw (2) against the dies.


Select the appropriate forming mandrel and place into the forming ram.
Rotate the hydraulic fluid control valve clockwise to the closed position.
Rotate the body of the J45405 until it bottoms against the die cage.


While guiding the forming mandrel into the exposed end of pipe to be flared, operate the lever of the J45405 until the forming mandrel bottoms against the clamping dies.
Rotate the hydraulic fluid control valve counterclockwise to the open position to allow the hydraulic forming ram to retract.
Loosen the die clamping screw and remove the dies and pipe.
If necessary, lightly tap the dies until the die halves separate.


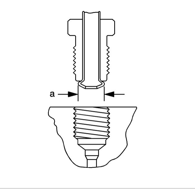
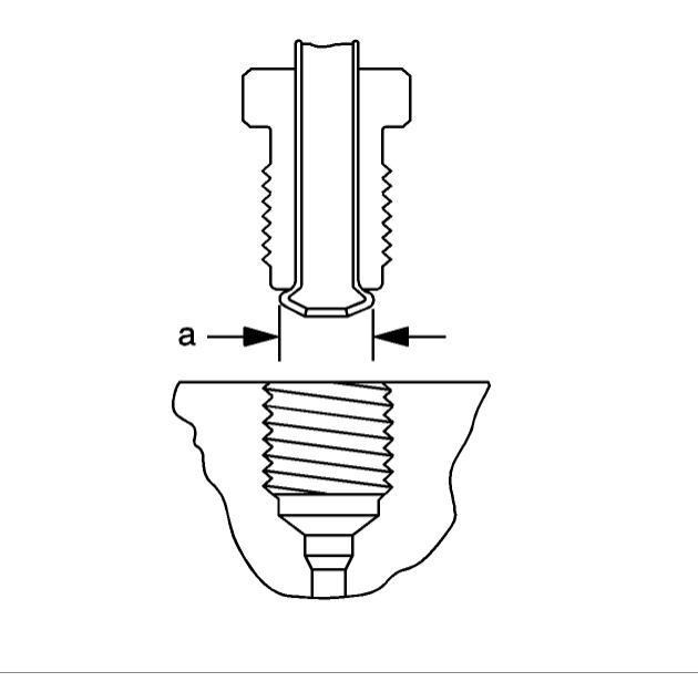
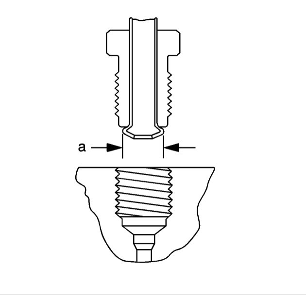
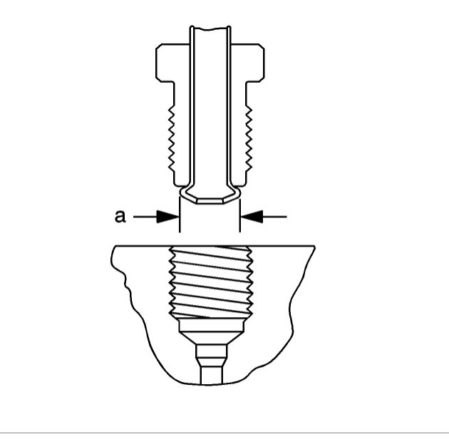
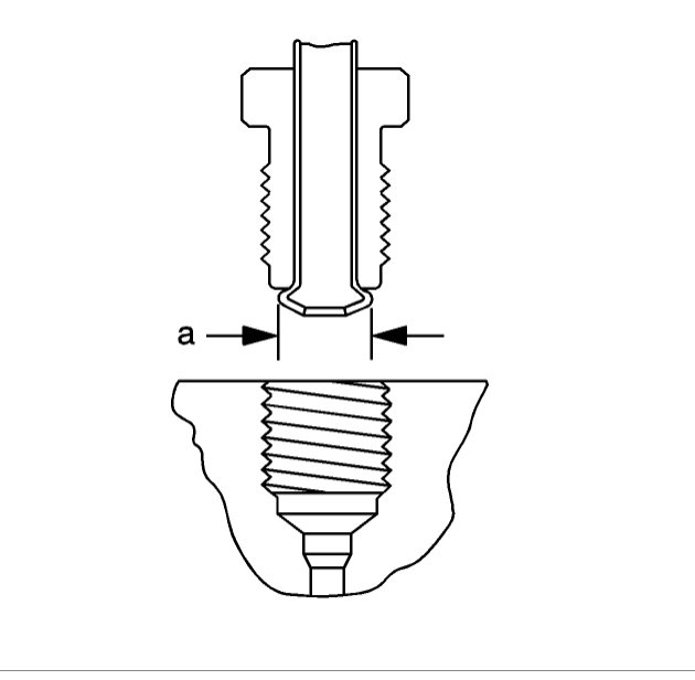
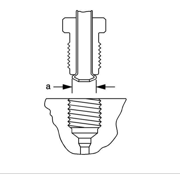
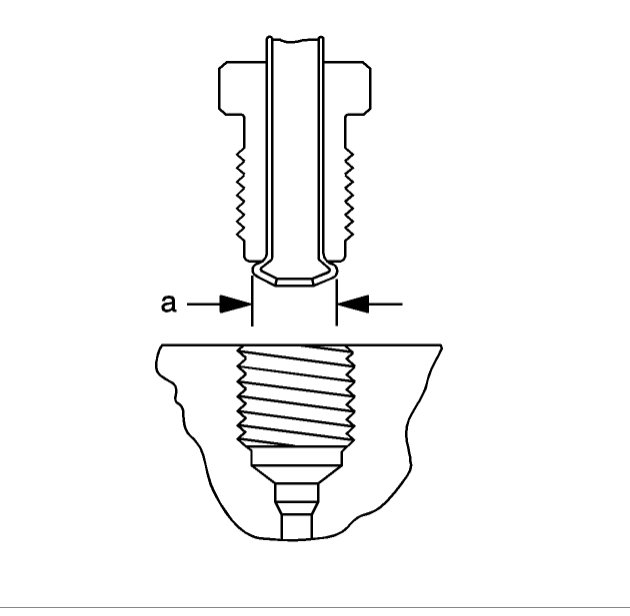
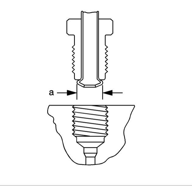
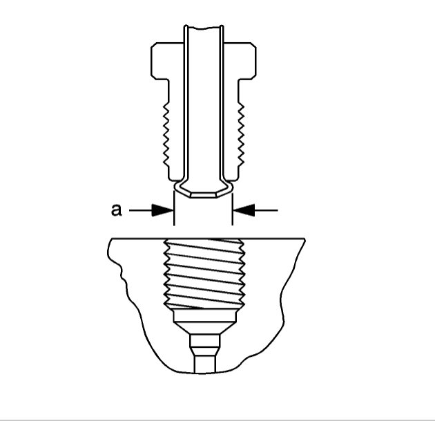
Inspect the brake pipe flare for correct shape and diameter (a). 7.10 mm (0.279 inch) 0.18 mm (0.007 inch) flare diameter for 4.76 mm (3/16 inch) diameter pipe
If necessary, using the removed section of pipe as a template, shape the new pipe with a suitable brake pipe bending tool.
Important: When installing the pipe, maintain a clearance of 19 mm (3/4 inch) from all moving or vibrating components.

Install the pipe to the vehicle with the appropriate brake pipe unions as required.
If previously released, secure the brake pipe to the retainers.
Bleed the hydraulic brake system.
With the aid of an assistant, inspect the brake pipe flares for leaks by starting the engine and applying the brakes.


Check out the diagrams (Below). Please let us know if you need anything else to get the problem fixed.
Dec 7, 2016 at 3:28 PM
Advertisement
Advertisement
Repair Safety Notice: This information is for general instructional purposes only. Vehicle repair can be dangerous. Verify all information, follow manufacturer service procedures, use proper tools and safety equipment, and consult a qualified repair shop when needed.