Bypass or reset security?

Tiny
ANONYMOUS
  • MEMBER
  • 2003 BUICK CENTURY
  • 100,000 MILES
How do you bypass the ignition key security switch and the 2 white wires.
Saturday, March 30th, 2013 AT 8:10 PM

8 Replies

Tiny
FREEMBA
  • MECHANIC
  • 1,152 POSTS
Use an ohmmeter to find the resistance n your key pellet. go to radio shack a buy a resistor of the same value as your key. locate the white wires underneath the dash. unplug them (do not cut or break them) install the resistor between the two wires. that's it.

What kind of problem are you having? As this will only bypass the system; not necessarily make your car easier to start.

This guide can help you reset the system

https://www.2carpros.com/articles/how-to-reset-a-security-system

Please run down this guide and report back.

Was this
answer
helpful?
Yes
No
+13
Saturday, March 30th, 2013 AT 8:24 PM
Tiny
BRABRYCE
  • MEMBER
  • 1 POST
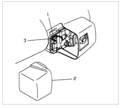
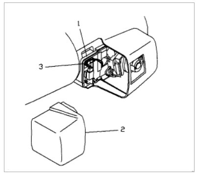
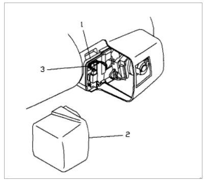
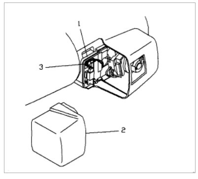
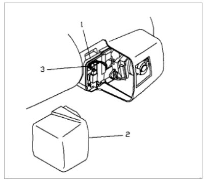
I have 2001 Buick century custom and I was trying to figure out where is the two white wires located so that I can bypass the security system (exact location) I found these diagrams I think they will help people to see what they need o do to get to the wires.

Might not need all of the diagrams just until you see the wires.
Was this
answer
helpful?
Yes
No
+4
Tuesday, July 12th, 2016 AT 11:06 AM
Tiny
BIKEWREK
  • MEMBER
  • 2 POSTS
  • 2003 BUICK CENTURY
  • 3.1L
  • V6
  • FWD
  • AUTOMATIC
  • 182,000 MILES
The car got stolen about a year ago. Got recovered, but security light was on. Had it toed to dealer, they made a made two keys for it. The security light is still on. It stopped starting with one key. So tried the other one. Now some times it will not start, and sometimes it will. Could be the keys or a worn out key solenoid?
Was this
answer
helpful?
Yes
No
-4
Thursday, January 31st, 2019 AT 7:53 PM (Merged)
Tiny
HMAC300
  • MECHANIC
  • 48,601 POSTS
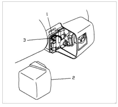
Try resetting security like in pic if that doesn't work it will need to be scanned for codes to see if anything wrong with it. Check out the diagrams (Below). Please let us know what happens.
Was this
answer
helpful?
Yes
No
+1
Thursday, January 31st, 2019 AT 7:53 PM (Merged)
Tiny
ERINBARRIER
  • MEMBER
  • 2 POSTS
  • 2002 BUICK CENTURY
  • 6 CYL
  • FWD
  • AUTOMATIC
  • 126,955 MILES
I can put the keys in the ignition, but cannot turn the key. The steering wheel is locked, but I and others have moved it side to side over and over with no success in unlocking it. As I said, the key will not turn at all. I don't know if it's a problem with the ignition switch or what. Please help. This is my family's only form of transportation to work, school, the market, etc.
Was this
answer
helpful?
Yes
No
Monday, April 22nd, 2019 AT 5:26 PM (Merged)
Tiny
RASMATAZ
  • MECHANIC
  • 75,992 POSTS
Sounds like its coming from the ignition switch cylinder lock, get a new one from the dealer so they can program it before you install it, also bring your proof of ownership. Here are instructions and diagrams to help you change the switch out.
Was this
answer
helpful?
Yes
No
-1
Monday, April 22nd, 2019 AT 5:26 PM (Merged)
Tiny
ERINBARRIER
  • MEMBER
  • 2 POSTS
Perfect got the new tumbler and reinstalled it worked like a charm! I love this site.
Was this
answer
helpful?
Yes
No
Monday, April 22nd, 2019 AT 5:26 PM (Merged)
Tiny
RASMATAZ
  • MECHANIC
  • 75,992 POSTS
Nice work, we are here to help, please use 2CarPros anytime.
Was this
answer
helpful?
Yes
No
Monday, April 22nd, 2019 AT 5:26 PM (Merged)

Please login or register to post a reply.