maintanence

2002 MERCURY MARQUIS
58,000 MILES • V8 • 2WD • AUTOMATIC
Avatar
TARZAN530
  • MEMBER
  • 1 POST
i need instructions on changing the fuel filter on my 2002 grand marquis ls
Mar 8, 2011 at 11:14 PM
Repair Safety Notice: This information is for general instructional purposes only. Vehicle repair can be dangerous. Verify all information, follow manufacturer service procedures, use proper tools and safety equipment, and consult a qualified repair shop when needed.
Advertisement
Avatar
RASMATAZ
  • AUTOMOTIVE REPAIR CONTRIBUTOR
  • 75,992 POSTS
Disconnect the battery ground cable.
Release the fuel system pressure.
Raise the vehicle.
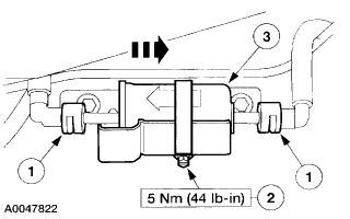
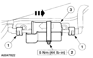
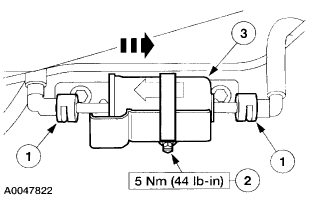
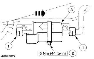
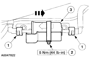
Remove the fuel filter.
1 Disconnect the push release fuel line fittings.
2 Loosen the clamp.
3 Remove the fuel fitter.


Mar 9, 2011 at 12:31 AM
Advertisement