HOME
ASK A QUESTION
REPAIR GUIDES
BECOME A MEMBER
LOG IN
Login with Facebook
OR
Remember me
NOT A MEMBER?
FORGOT PASSWORD?
CONTACT US
PRIVACY POLICY
TERMS AND CONDITIONS
☰
Home
Lincoln
LS
Body
Door
Replace/Remove
Where is regulator located inside drivers' door.
ANONYMOUS
MEMBER
2002 LINCOLN LS
149,000 MILES
Where is regulator located inside drivers' door? How do I remove and replace?
Sunday, January 6th, 2013 AT 9:05 AM
1 Reply
ASEMASTER6371
MECHANIC
52,796 POSTS
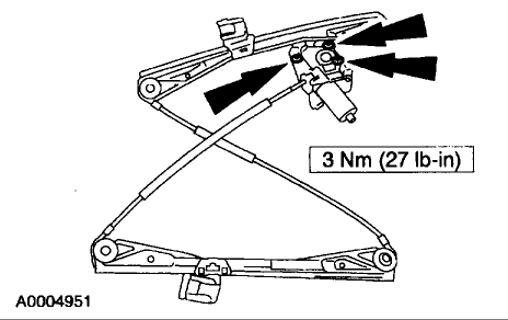
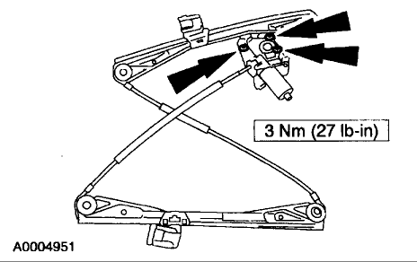
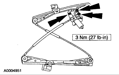
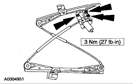
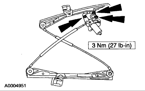
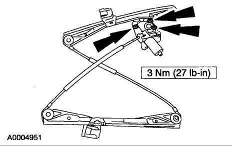
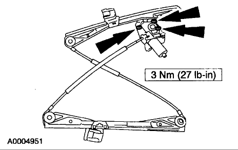
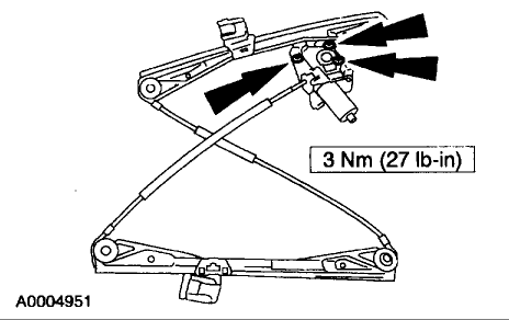
Remove the door panel. Drill out rivets for the window mounts. Support the window in the up position.
Drill out the rivets for the regulator. Remove the regulator with the motor.
Roy
Image (Click to make bigger)
Was this
answer
helpful?
Yes
No
Sunday, January 6th, 2013 AT 12:45 PM
Please
login
or
register
to post a reply.
Related Door Replace/Remove Content
The Flat Bars That Connect The Fron Tend To The Car...
The Right Side Is Flexing Up And Down And Causing A Steering Problem
Asked by
jimjay
·
1 ANSWER
2003
LINCOLN LS
2000 Lincoln Ls 2000 Lincoln Ls V8
Heater Problem 2000 Lincoln Ls 75000 Miles The Heater System Smells Like Something Is Burning And There Is Smoke Coming From Right...
Asked by
machdriver
·
1 ANSWER
2000
LINCOLN LS
Ask a Car Question. It's Free!
Door Not Closing
Window Switch Replacement and Test
Door Lock Replacement