My horn is not working

Tiny
TOMMYLIMO
  • MEMBER
  • 2002 FORD CROWN VICTORIA
  • 110,795 MILES
I Have A 02 Crown Vic Intercepter With A Horn Problem? First Thing I did Was Check To See If I Had Power Going To The Horns! Nothing! Checked Inside Fuse Panel and Power Distribution Box! I Found No Blown Fuses Or Bad Relays! I The Proceeded To Put A Jumper On The Connector And The Horns Work But Won't Stop Unless I Remove The Jumper!
Can Anyone Point Me In The Right Direction? I Say The Steering Wheel Is Next? Thanks Tommy!
Tuesday, October 18th, 2011 AT 8:38 PM

6 Replies

Tiny
RASMATAZ
  • MECHANIC
  • 75,992 POSTS
Check the horn relay and then the SW-
Was this
answer
helpful?
Yes
No
Tuesday, October 18th, 2011 AT 8:47 PM
Tiny
TOMMYLIMO
  • MEMBER
  • 23 POSTS
I Checked All Relays And They Are Fine!Don't Get SW-?
Thanks Again! Tommy!
Was this
answer
helpful?
Yes
No
Tuesday, October 18th, 2011 AT 8:56 PM
Tiny
JDL
  • MECHANIC
  • 16,098 POSTS
He is talking about the horn button. Usually the horn button is part of the ground circuit for the coil side of horn relay. So, check the horn relay for voltage and ground. I wouldn't have butted-in, but, I was looking at wiring info for your horn system. Ras can help you. Good day.
Was this
answer
helpful?
Yes
No
Tuesday, October 18th, 2011 AT 9:06 PM
Tiny
RASMATAZ
  • MECHANIC
  • 75,992 POSTS
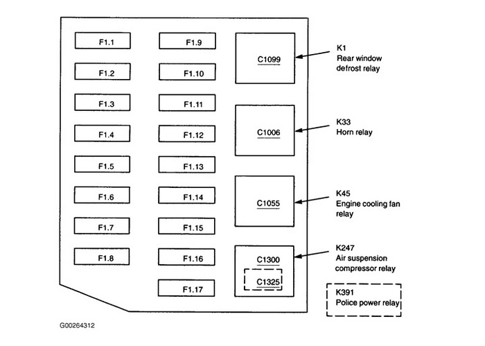
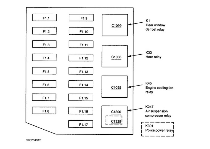
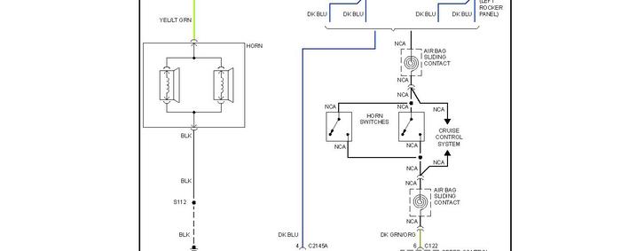
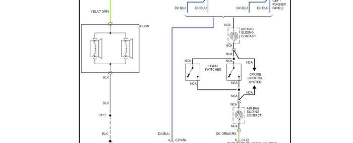
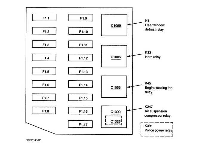
Horn circuit below
Was this
answer
helpful?
Yes
No
Tuesday, October 18th, 2011 AT 9:18 PM
Tiny
TOMMYLIMO
  • MEMBER
  • 23 POSTS
OK! Rasmataz! On This Car All Four Relays Are The Same and I Checked Them All! But What I Did Notice Was No Clicking Noise When My Wife Pushed The Horn Indicators On The Steering Wheel. Aren't There Two Contact Buttons Or Switches Under The Air Bag Cover? Thanks Again Tommy!
Was this
answer
helpful?
Yes
No
Wednesday, October 19th, 2011 AT 2:00 AM
Tiny
JDL
  • MECHANIC
  • 16,098 POSTS
I guess raz is out of pocket, at the moment. He is a moderator, I'm not. I'd start testing at the relay circuits. With relay unplugged, terminals 30 and 85 are hot all the time. If you use a jumper wire between terminal 30 and 87, the horn should honk?

Also, you can use a digital multimeter between terminal 30 and terminal 86, at the same time time, have a helper hit the horn button, either one or both. Does the digital multimeter show battery voltage? If it does, nothing wrong with wiring in steering column. I don't believe.
Was this
answer
helpful?
Yes
No
Wednesday, October 19th, 2011 AT 7:31 PM

Please login or register to post a reply.